LEMON Manuals: Even more car manuals for everyone: 1960-2025
Home >> Kia >> 2002 >> Sedona EX V6-3.5L >> Repair and Diagnosis >> Diagrams >> Connector Views >> Timer/Control Unit, Accessory Control
April 5, 2026: LEMON Manuals is launched! Read the announcement.

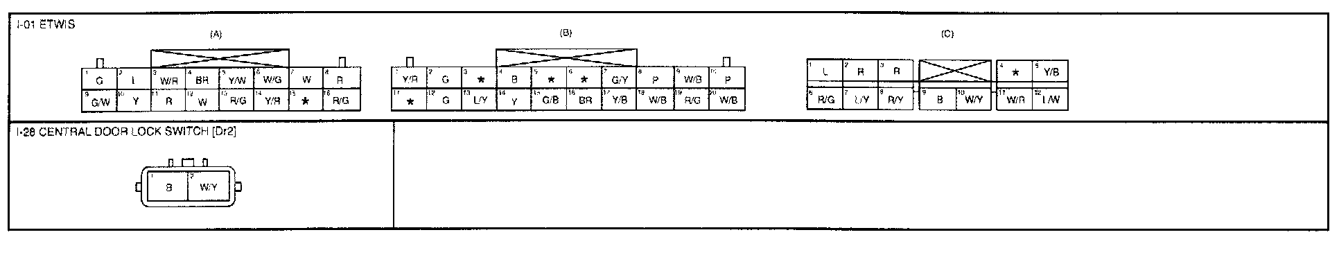
Timer/Control Unit, Accessory Control

I-1a - ETWIS, Rear Room Lamp, Cargo Room Lamp Connectors:



I-1b - ETWIS, Keyless Entry System Connectors:



I-1c - ETWIS Connectors:



ETACS Terminal Configuration: