LEMON Manuals: Even more car manuals for everyone: 1960-2025
Home >> Kia >> 2004 >> Amanti >> Repair and Diagnosis >> Accessories & Equipment >> Memory Modules >> Memory Systems >> IMS Mirror Control >> System Composition
April 5, 2026: LEMON Manuals is launched! Read the announcement.

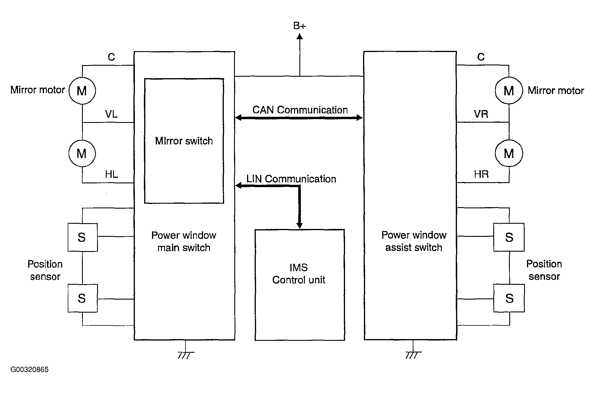
System Composition

Fig 1: IMS Mirror Control System Composition
G00320865Courtesy of KIA MOTORS AMERICA, INC.