LEMON Manuals: Even more car manuals for everyone: 1960-2025
Home >> Kia >> 2004 >> Sedona EX >> Repair and Diagnosis >> Engine Performance >> System >> Emission Control System >> Crankcase Emission Control System >> Components
April 5, 2026: LEMON Manuals is launched! Read the announcement.

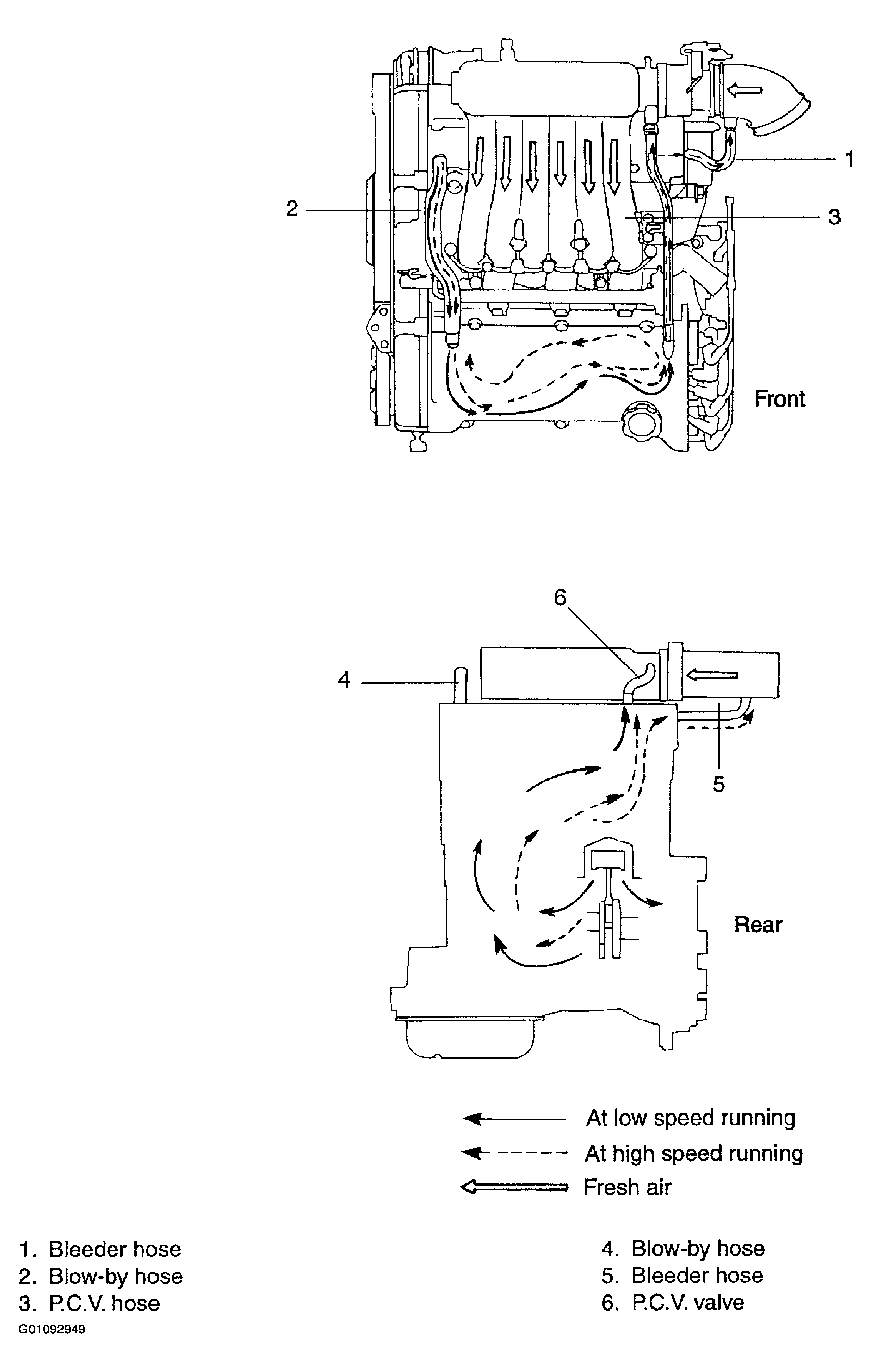
Crankcase Emission Control System: Components

Fig 1: Illustrating Crankcase Emission Control System Components
G01092949Courtesy of KIA MOTORS AMERICA, INC.