LEMON Manuals: Even more car manuals for everyone: 1960-2025
Home >> Kia >> 2004 >> Sedona EX >> Repair and Diagnosis >> Engine Performance >> System >> Fuel System & Fault Isolation >> MFI Control System >> Other Control Functions >> Cooling Fan Control >> ECM Output
April 5, 2026: LEMON Manuals is launched! Read the announcement.

ECM Output

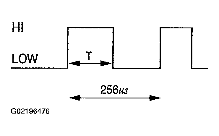
DUTY = T/256 usx 100%

The control to cooling fan is performed in ECM output + duty.

Fig 1: Illustrating ECM Output Voltage
G02196476Courtesy of KIA MOTORS AMERICA, INC.