LEMON Manuals: Even more car manuals for everyone: 1960-2025
Home >> Kia >> 2004 >> Sedona EX >> Repair and Diagnosis >> Engine Performance >> Tune-Up >> Ignition System >> Spark Plug >> Inspection
April 5, 2026: LEMON Manuals is launched! Read the announcement.

Spark Plug: Inspection

  1. Disconnect the spark plug cable from the spark plug.
    NOTE: Pull on the spark plug cable boot when removing the spark plug cable, not the cable, as it may be damaged.
  2. Using the spark plug wrench, remove all of the spark plugs from the cylinder head.
    NOTE: Take care not to allow contaminants to enter through the spark plug holes.
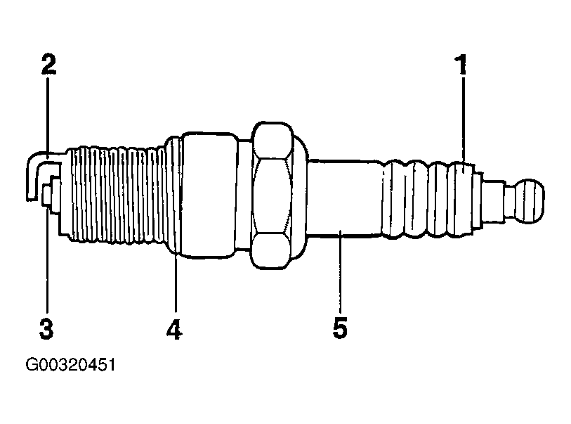
  3. Check spark plugs for the following:
    1. Broken insulator
    2. Worn electrode
    3. Carbon deposits
    4. Damaged or broken gasket
    5. Condition of the porcelain insulator at the tip of the spark plug
      Fig 1: Illustrating Spark Plug Components
      G00320451Courtesy of KIA MOTORS AMERICA, INC.
  4. Check the spark plug gap using a wire gap gauge, and adjust if necessary.

    Standard Spark plug gap : 1.0 - 1.1 mm (0.039 - 0.043 in.)

    Fig 2: Checking The Spark Plug Gap
    G00320452Courtesy of KIA MOTORS AMERICA, INC.
  5. Re-insert the spark plug and tighten to the specified torque. If it is over-torqued, damage to the threaded portion of cylinder head may result.

    Tightening torque

    Spark plug : 20 - 30 N.m (200 - 300 kg.cm, 15 - 22 lb.ft)

    NOTE: When replacing the spark plug, use the genuine parts which have resistance.