LEMON Manuals: Even more car manuals for everyone: 1960-2025
Home >> Kia >> 2004 >> Spectra Base, 1.8 1, Automatic >> Repair and Diagnosis >> Body & Frame >> Door Locks >> Keyless Entry System >> Receiver >> Functions >> Anti-Theft Function >> ARM Function
April 5, 2026: LEMON Manuals is launched! Read the announcement.

ARM Function

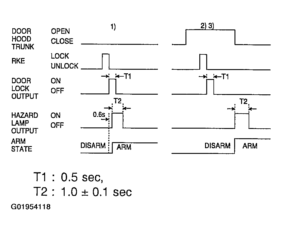
  1. When using LOCK on the RKE (Remote Keyless Entry) the doors will lock, the hazard lamp will blink once within 0.06 seconds (MAX 0.06 seconds) and the Anti-Theft System will ARM, if the following conditions have been met.
    • The ignition key is removed from the ignition switch.
    • All entry points are closed (doors, trunk, hood)
  2. If either the door, trunk or hood are open when activating LOCK using the RKE, the doors will lock, however the hazard lamp WILL NOT flash and the Anti-Theft System WILL NOT ARM.
  3. In Step 2) if the opened entry points are subsequently closed, the door will lock, the hazard lamp will blink once and the Anti-Theft System will ARM.
  4. If LOCK is activated on the RKE while the Anti-Theft system is already in the ARM mode, the hazard lamp will blink once. (If, however, any of the vehicle entry points is unlocked the Anti-Theft System will lock the door, the hazard lamp will blink once, and the system will re-ARM itself.
  5. The ARM mode of the Anti-Theft System can only be set using the LOCK feature of the RKE. The door key WILL NOT arm the Anti-Theft System.
  6. Once the ignition key is IN (inserted into the ignition switch) and the ignition is turned to the ON position the Anti-Theft system will immediately DISARM.
  7. If the UNLOCK signal is sent by the RKE, and either the ignition key is not inserted or entry (door, trunk, hood) to the vehicle is not made within 30 seconds, the LOCK mode will be automatically reset, the hazard lamps will blink, and the Anti-Theft System will rearm. (Key IN = Key Insertion) (Provided that there is no automatic lock function at a period of 30 seconds, when the UNLOCK is done by the RKE with an entry being open).
  8. In steps 7), when UNLOCK is activated within the initial 30 seconds, another period of 30 seconds occurs.
  9. Automatic lock WILL NOT function if an entry point is opened within 30 seconds of activating UNLOCK.
  10. Once the 30 seconds have passed, after the initial UNLOCK, the Anti-Theft System will lock the doors, blink the hazard lamps and then ARM.
    Fig 1: Illustrating ARM Function Chart
    G01954118Courtesy of KIA MOTORS AMERICA, INC.