LEMON Manuals: Even more car manuals for everyone: 1960-2025
Home >> Kia >> 2004 >> Spectra Base, 1.8 2, Standard >> Repair and Diagnosis >> Body & Frame >> Door Locks >> Keyless Entry System >> Receiver >> Functions >> Anti-Theft Function >> RKE Controlled LOCK During An Alarm Sequence
April 5, 2026: LEMON Manuals is launched! Read the announcement.

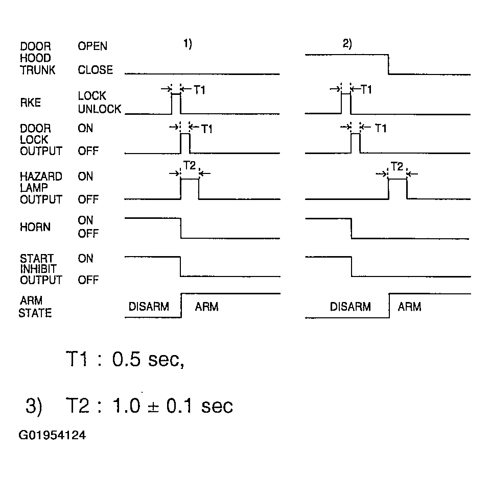
RKE Controlled LOCK During An Alarm Sequence

  1. When a RKE (Remote Keyless Entry) controlled LOCK occurs during an alarm sequence, but after the door, that had been broken-in, has been closed the following occurs:
    • All entry points are checked and then LOCK occurs
    • Horn alarm and start inhibitor are set to off
    • Hazard lamp blinks once
    • Anti-Theft system is set to ARM
  2. When a RKE controlled LOCK occurs during an alarm sequence, but the broken-in door remains opened the following occurs:
    • All entry points are checked and then LOCK occurs
    • Horn alarm and start inhibitor are set to off (If the door is then closed the hazard lamp will blink once and the Anti-Theft system will ARM)
    Fig 1: Illustrating LOCK Function Chart
    G01954124Courtesy of KIA MOTORS AMERICA, INC.