LEMON Manuals: Even more car manuals for everyone: 1960-2025
Home >> Kia >> 2005 >> Spectra L4-2.0L >> Repair and Diagnosis >> Starting and Charging >> Starting System >> Starter Motor >> Service and Repair >> Disassembly
April 5, 2026: LEMON Manuals is launched! Read the announcement.

Disassembly

Starter

DISASSEMBLY




1. Disconnect the M-terminal (A) on the magnet switch assembly (B).




2. After loosening the 2 screws (A), detach the magnet switch assembly (B).




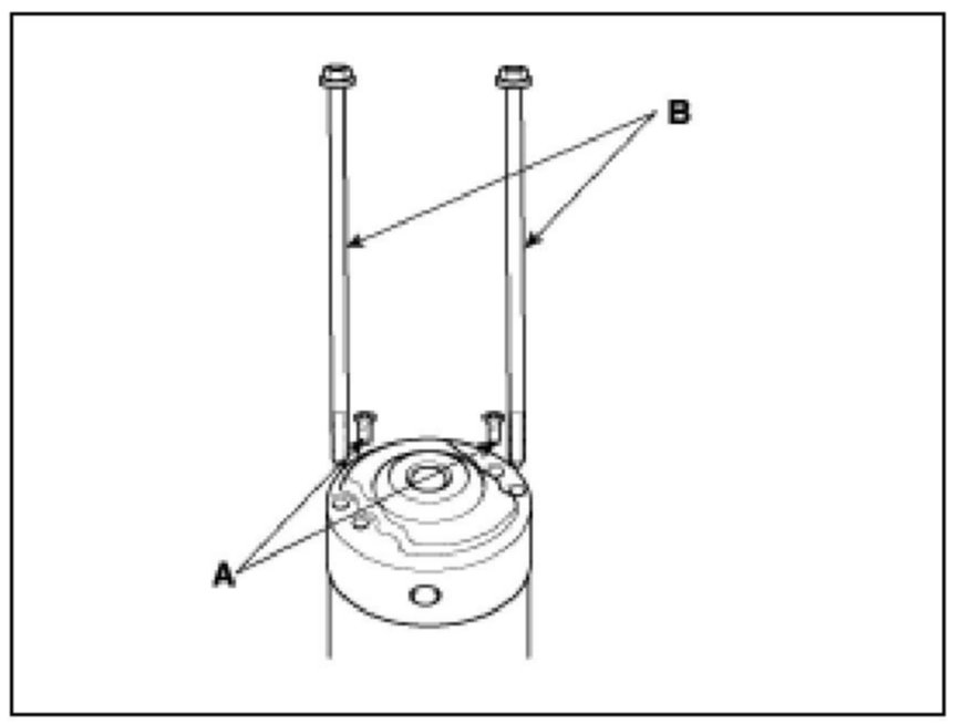
3. Loosen the brush holder mounting screw (A) and through bolts (B).




4. Remove the rear bracket (A) and brush holder assembly (B).




5. Remove the yoke (A) and armature (B).




6. Remove the, lever plate (A) and planetary shaft packing (B).




7. Disconnect the planetary gear (A).




8. Disconnect the planetary shaft assembly (A) and lever (B).




9. Press the stop ring (A) using a socket (B).




10. After removing the stopper (A) using stopper pliers (B).




11. Disconnect the stop ring (A), overrunning clutch (B), internal gear (C) and planet shaft (D).




12. Reassembly is the reverse of disassembly.

NOTE: Using a suitable pulling tool (A), pull the overrunning clutch stop ring (B) over the stopper (C).