LEMON Manuals: Even more car manuals for everyone: 1960-2025
Home >> Kia >> 2006 >> Optima L4-2.4L VIN 6 >> Repair and Diagnosis >> Power and Ground Distribution >> Timer/Control Unit >> Testing and Inspection >> ETACS Function
April 5, 2026: LEMON Manuals is launched! Read the announcement.

ETACS Function

OPERATION CHECK OF COMPONENTS

While operating the components, check whether the operations are normal with timing chart.

ETACS FUNCTION




1. Variable intermittent wiper
Time specification
T1 : Max. 0.3 sec.
T2 : Time of wiper motor 1 rotation (0.6 - 0.8 sec.).
T3 : 2.2 ± 0.2 sec. (VR = 0 k Ohm) - 10.0 ± 1.0 sec. (VR = 50 k Ohm)

2. Washer related wiper
1. Time specification
T1 : 0.6 sec.
T2 : 2.5 - 3.8 sec.




2. This function should be operated preferentially even though the variable intermittent wiper is operating.




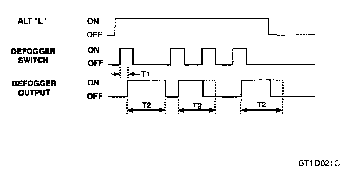
3. Rear window defogger
Time specification
T1 : 60 msec.
T2 : 20 ± 1 Min.




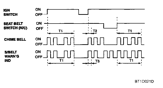
4. seat belt warning
Time specification
T1 : 6 ± 1 sec.
T2 : 0.45 ± 0.1 sec.
T3 : 0.3 ± 0.1 sec.




5. Ignition key hole illumination
Time specification
T1 : 10 ± 1.0 sec.
T2 : 0 - 10 sec.




6. Delayed out room lamp
Time specification
T1 : 5.5 ± 0.5 sec.




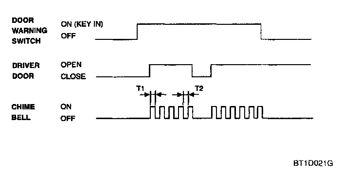
7. Key operated warning
Time specification
T1, T2 : 0.45 ± 0.1 sec




8. Ignition key reminder
Time specification
T1 : 0.5 sec.
T2 : 0 - 0.5 sec.




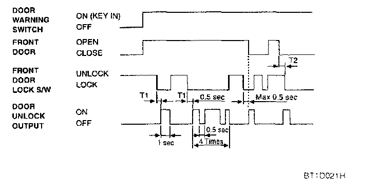
9. Outside door key illumination (without burglar alarm)
Time specification
T1 : 10 ± 1.0 sec.




10. Power window timer
Time specification
T1 :30 ± 5 sec.




11. Central door lock/unlock (without burglar alarm)
Time specification
T : 0.5 ± 0.1 sec.

12. Central door lock/unlock (with burglar alarm)




1. When using the door key
Time specification
T : 0.5 ± 0.1 sec.




2. When using the door lock knob switch
Time specification
T : 0.5 ± 0.1 sec.




3. When using the transmitter (TX)
Time specification
T : 0.5 ± 0.1 sec.




4. Power window main door lock switch
Time specification
T : 0.5 ± 0.1 sec.




13. Tail lamp auto cut




14. Two-Turn unlock
Time specification
T1 : 3 ± 0.5 sec.