LEMON Manuals: Even more car manuals for everyone: 1960-2025
Home >> Kia >> 2006 >> Optima V6-2.7L VIN 4 >> Repair and Diagnosis >> Powertrain Management >> Computers and Control Systems >> Body Control Module >> Service and Repair
April 5, 2026: LEMON Manuals is launched! Read the announcement.

Body Control Module: Service and Repair

BODY CONTROL MODULE

REPLACEMENT
1. Disconnect the negative (-) battery terminal.
2. Remove the crash pad lower panel.




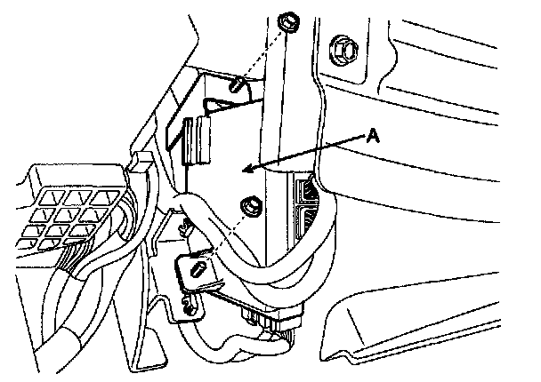
3. Remove the keyless antenna cable and body control module (A) after loosening 2 nuts.
4. Installation is the reverse of removal.