LEMON Manuals: Even more car manuals for everyone: 1960-2025
Home >> Kia >> 2006 >> Sorento EX, 4WD, Part Time >> Repair and Diagnosis >> Transmission >> Automatic Trans >> Automatic Transaxle System >> Operation >> Operating Principles Of Each Range >> * Power Flow
April 5, 2026: LEMON Manuals is launched! Read the announcement.

* Power Flow

Input shaft to Front internal gear to Front carrier to Rear internal gear to Rear carrier to Middle internal gear to Middle carrier to Output shaft

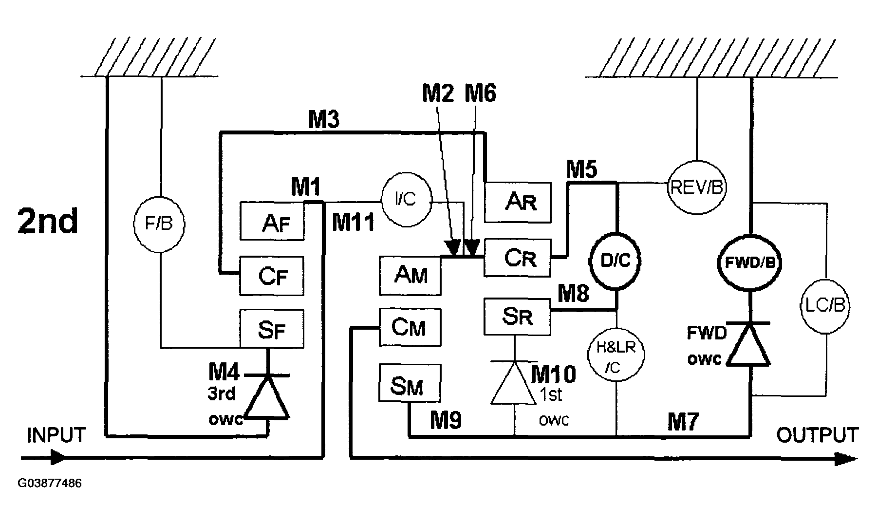
  1. 4. D, M3, M4, M5 range ratio 2nd
    • Fasten the front brake.
    • The front brake and the forward one-way clutch regulate reverse rotation of the mid sun gear.
    • The 3rd one-way clutch regulates reverse rotation of the front sun gear.
    Fig 1: Automatic Transmission (A5SR1)Power Flow - 2 ND
    G03877486Courtesy of KIA MOTORS AMERICA, INC.

The direct clutch is coupled and the rear carrier and the rear sun gear are connected.



Input shaft to Front internal gear to Front carrier to Rear internal gear to Rear carrier to Middle internal gear to Middle carrier to Output shaft

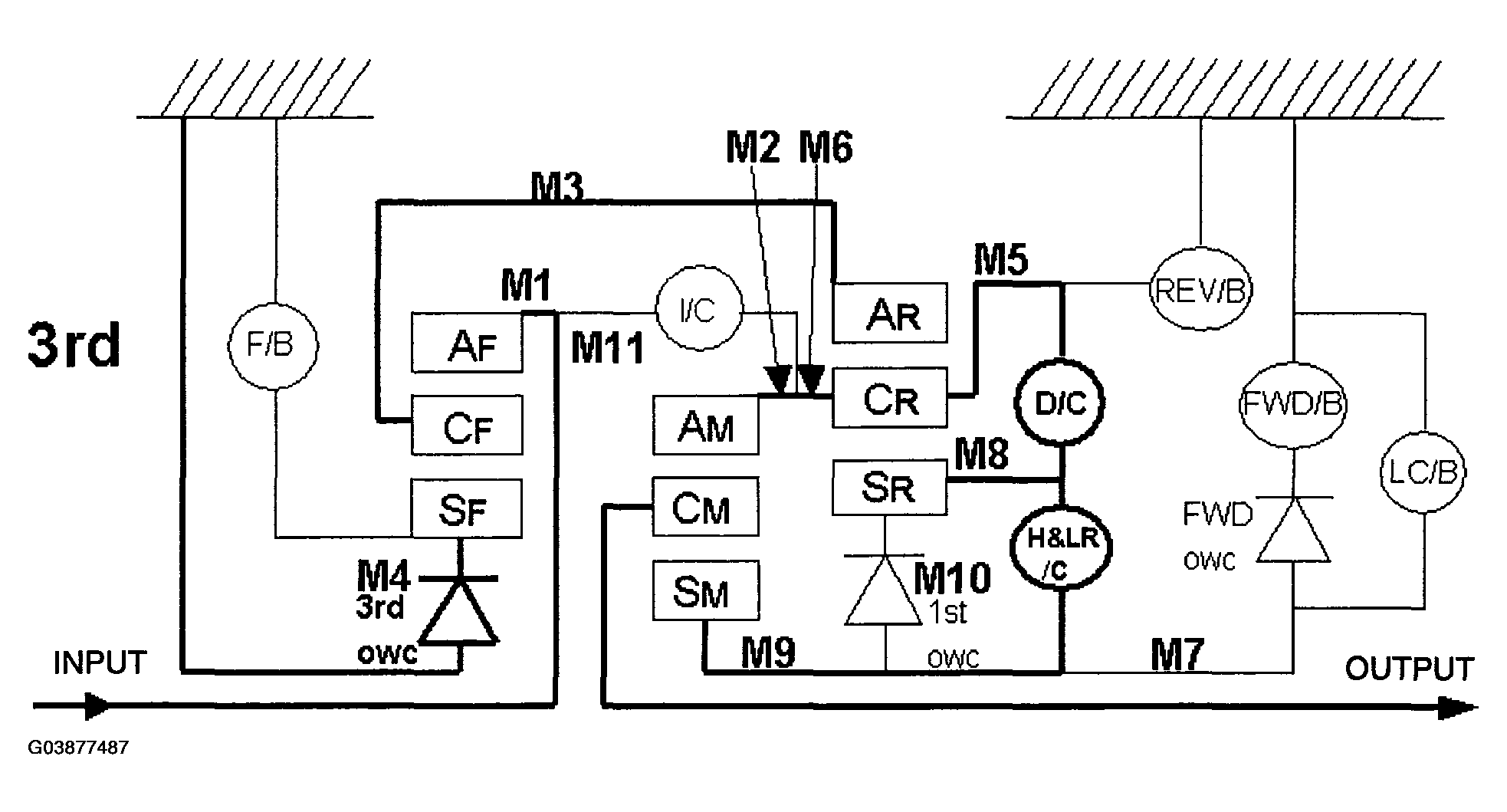
  1. 5. D, M3, M4, M5 range 3rd speed
    • Fastens the front brake.
    • The 3rd one-way clutch regulates reverse rotation of the front sun gear.
      Fig 1: Automatic Transmission (A5SR1)Power Flow - 3 RD
      G03877487Courtesy of KIA MOTORS AMERICA, INC.
    • The high & low reverse clutch is coupled and the middle and rear sun gears are connected.


Input shaft to Front internal gear to Front carrier to Rear internal gear to Rear carrier to Middle internal gear to Middle carrier to Output shaft

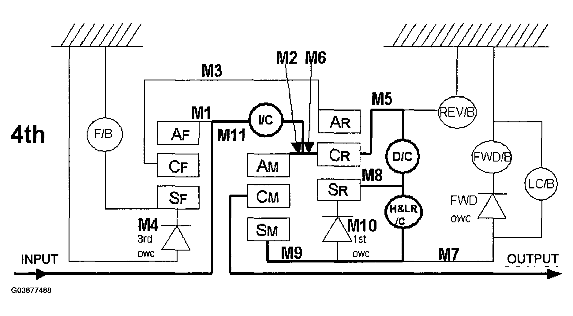
  1. 6. D, M4, M5 range 4th speed
    • The front brake is released and sun gear turns freely forward.
    • The input clutch is coupled and the front and middle internal gears are connected.
      Fig 1: Automatic Transmission (A5SR1)Power Flow - 4Th
      G03877488Courtesy of KIA MOTORS AMERICA, INC.
    • Driving force is conveyed to the front internal gear, the middle internal gear, and the rear carrier and the three planetary gears rotate forward as a unit.


Input shaft to Front internal gear to Front carrier to Rear internal gear to Rear carrier to Middle internal gear to Middle carrier to Output shaft

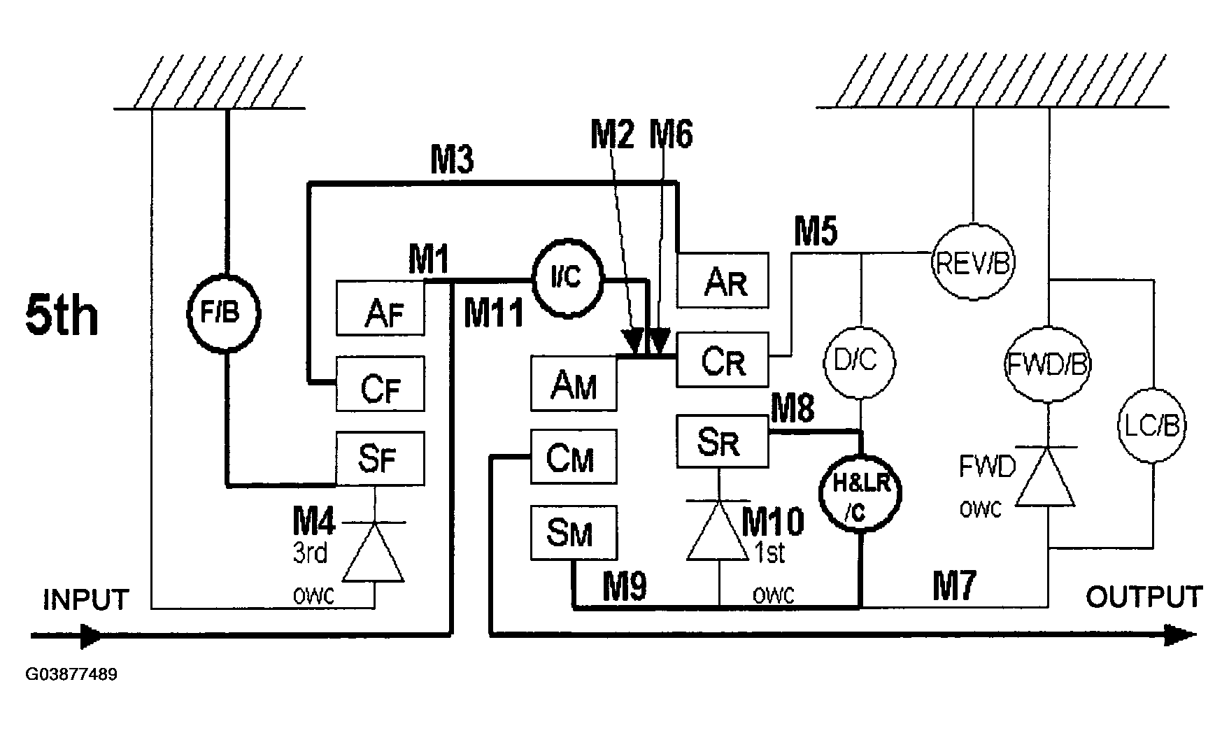
  1. 7. D, M5 range 5th speed
    • The front brake fastens the front sun gear.
    • The direct clutch is released and the rear carrier and rear sun gear are disconnected.
    Fig 1: Automatic Transmission (A5SR1)Power Flow - 5th
    G03877489Courtesy of KIA MOTORS AMERICA, INC.


Input shaft to Front internal gear to Front carrier to Rear internal gear to Rear carrier to Middle internal gear to Middle carrier to Output shaft

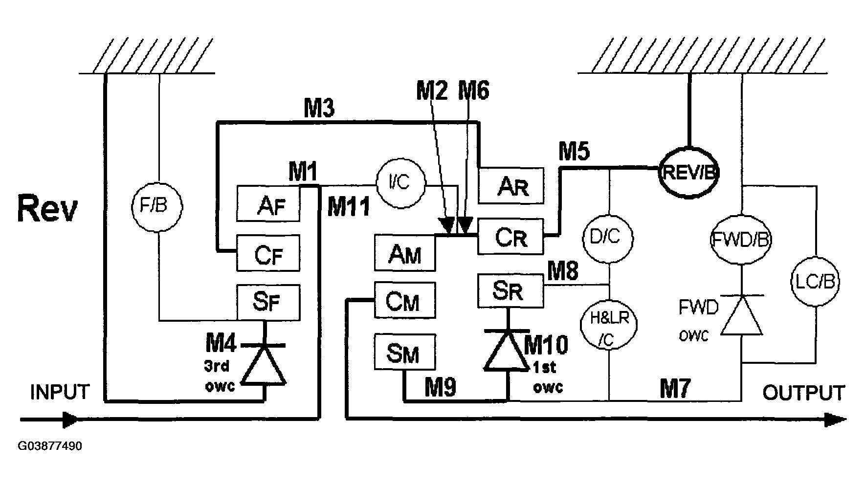
  1. 8. R range
    • The front brake fastens the front sun gear.
    • The high & low reverse clutch is coupled and the middle and rear sun gears are connected.
    • The reverse brake fastens the rear carrier.
    Fig 1: Automatic Transmission (A5SR1)Power Flow - Rev
    G03877490Courtesy of KIA MOTORS AMERICA, INC.


Input shaft to Front internal gear to Front carrier to Rear internal gear to Rear carrier to Middle internal gear to Middle carrier to Output shaft