LEMON Manuals: Even more car manuals for everyone: 1960-2025
Home >> Kia >> 2007 >> Sorento 2WD V6-3.8L >> Repair and Diagnosis >> Relays and Modules >> Relays and Modules - Powertrain Management >> Relays and Modules - Computers and Control Systems >> Engine Control Module >> Service and Repair
April 5, 2026: LEMON Manuals is launched! Read the announcement.

Engine Control Module: Service and Repair

REPLACEMENT
1. Turn ignition switch off.
2. Disconnect the battery (-) cable from the battery.




3. Remove the resonator (A).




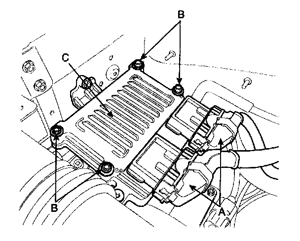
4. Disconnect the ECM connectors (A).
5. Unscrew the ECM mounting bolts (B) and remove the ECM from the bracket (C).
6. Install a new ECM

ECM installation bolts : 9.8 - 11.8 N.m (1.0 - 1.2 kgf.m, 7.2. 8.7 Ibf.ft)