LEMON Manuals: Even more car manuals for everyone: 1960-2025
Home >> Kia >> 2009 >> Optima V6-2.7L >> Repair and Diagnosis >> Specifications >> Mechanical Specifications >> Engine >> System Specifications >> Main Bearing Cap
April 5, 2026: LEMON Manuals is launched! Read the announcement.

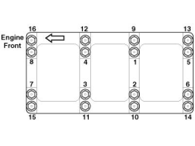
Main Bearing Cap





Main Bearing Cap

Install and uniformly tighten the bearing cap bolts, in two steps, in the sequence shown.

Tightening torque
M8 15.7 Nm (1.6 kgf.m, 11.6 lb-ft) + 90°
M10 29.4 Nm (3.0 kgf.m, 21.7 lb-ft)+ 90°

NOTE:
- Use new main bearing cap bolt with engine oil applied.
- If any of the bearing cap bolts are broken or deformed, replace it.
- Washers have their direction(Up/Down)
- Assemble the bearing cap bridge on which its arrow mark faces the engine front.
- Before tightening, make the bearing caps be seated on the block firmly.