LEMON Manuals: Even more car manuals for everyone: 1960-2025
Home >> Kia >> 2009 >> Rio Base, Automatic >> Repair and Diagnosis >> Engine Performance >> System >> DTC Troubleshooting Procedures (1 Of 2) >> DTC P0130 Ho2S Circuit (Bank 1/Sensor 1) >> Monitor Scan Tool Data
April 5, 2026: LEMON Manuals is launched! Read the announcement.

Monitor Scan Tool Data

  1. Connect scan tool to DLC (Data Link Cable).
  2. Warm up the engine to normal operating temperature.
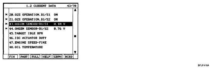
  3. Monitor "HO2S (B1S1)" parameter on scan tool.
    Fig 1: Monitoring HO2S (B1S1) Parameter On Scan Tool
    G04862145Courtesy of KIA MOTORS AMERICA, INC.
  4. Is the "HO2S (B1 S1)" parameter operating correctly?

    YES 

    • Fault is intermittent caused by poor contact in the sensor's and/or ECM/PCM's connector or was repaired and ECM/PCM memory was not cleared. Thoroughly check connectors for looseness, poor connection, ending, corrosion, contamination, deterioration, or damage. Repair or replace as necessary and go to "VERIFICATION OF VEHICLE REPAIR " procedure.

    NO 

    NOTE: This DTC might be caused by the malfunction of Heater circuit, so, check the heater circuit first.