LEMON Manuals: Even more car manuals for everyone: 1960-2025
Home >> Kia >> 2009 >> Sedona Base >> Repair and Diagnosis (Single Page) >> Brakes >> Traction Control >> Abs (Anti-Lock Brake System) >> Scan Tool Check >> Communication With Scan Tool Is Not Possible (Communication With Abs Only Is Not Possible) >> Inspection Procedures >> Check The Power Source Of Abs Control Module
April 5, 2026: LEMON Manuals is launched! Read the announcement.

Check The Power Source Of Abs Control Module

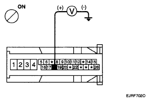
  1. Disconnect the connector from the ABS control module.
  2. Turn the ignition switch ON, measure the voltage between terminal 18 of the ABS control module harness side connector and body ground.

    Specification: approximately B+

    Is voltage within specification?

    YES 

    • Check for poor ground.

    NO 

    • Check the harness or connector between the fuse (10A) in the engine compartment junction block and the ABS control module. Repair if necessary.
    Fig 1: Checking Harness Or Connector Between Fuse Engine Compartment Junction Block And ABS Control Module
    G04883842Courtesy of KIA MOTORS AMERICA, INC.