LEMON Manuals: Even more car manuals for everyone: 1960-2025
Home >> Kia >> 2009 >> Sorento Base, A5SR2 >> Repair and Diagnosis >> Engine Performance >> Engine Control Systems >> Engine Control System >> Fuel Tank Pressure Sensor (FTPS) >> Repair Procedures >> Inspection >> Schematic Diagram
April 5, 2026: LEMON Manuals is launched! Read the announcement.

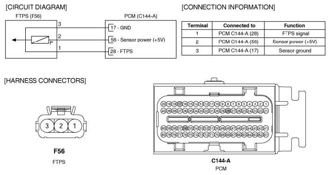
Schematic Diagram

Fig 1: Fuel Tank Pressure Sensor (FTPS) Schematic Diagram
G06408091Courtesy of KIA MOTORS AMERICA, INC.