LEMON Manuals: Even more car manuals for everyone: 1960-2025
Home >> Kia >> 2012 >> Soul Base, Automatic >> Repair and Diagnosis >> External Pages >> Different car >> Section 65 (Smart Key System) >> Smart Key Unit >> Repair Procedures >> Interior 3 Antenna >> Notes
April 5, 2026: LEMON Manuals is launched! Read the announcement.

Interior 3 Antenna: Notes

WARNING: This page is about a different car, the 2013 Kia Sportage and 2012 Kia Sportage. However, it is still accessible from the selected car via links, so may be relevant.
  1. Disconnect the negative (-) battery terminal.
  2. After loosening the mounting bolts, then remove the rear seat assembly.

    Refer to "REAR SEAT ".

  3. Remove the luggage side trim (RH, LH), and then remove the rear floor carpet.

    Refer to LUGGAGE SIDE TRIM REPLACEMENT .

  4. After loosening the antenna nuts (2 EA) and connector (A), remove the interior 3 antenna (B).
Fig 1: Identifying Antenna Nuts, Connector & Interior 3 Antenna
G07426750Courtesy of KIA MOTORS AMERICA, INC.
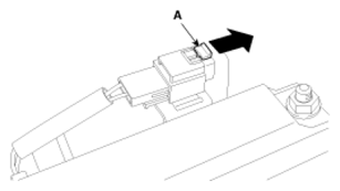
NOTE: Release the connector lock (A) as indicated by the arrow, and then push-down the lock.

Make sure the connector is locked completely when installing.

Fig 2: Releasing Connector Lock
G07426751Courtesy of KIA MOTORS AMERICA, INC.