LEMON Manuals: Even more car manuals for everyone: 1960-2025
Home >> Kia >> 2016 >> Sedona EX >> Repair and Diagnosis >> External Pages >> Different car >> Section 244 (Power Trunk Module) >> Power Trunk Module Drive Unit >> Schematic Diagrams >> Block Diagram
April 5, 2026: LEMON Manuals is launched! Read the announcement.

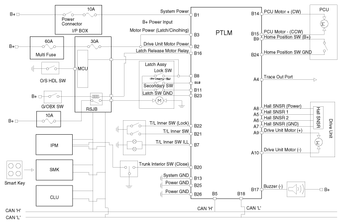
Block Diagram

WARNING: This page is about a different car, the 2017 Kia K900. However, it is still accessible from the selected car via links, so may be relevant.
Fig 1: Power Trunk Module Drive Unit
G11803845Courtesy of KIA MOTORS AMERICA, INC.