LEMON Manuals: Even more car manuals for everyone: 1960-2025
Home >> Kia >> 2017 >> Forte5 EX >> Repair and Diagnosis >> Suspension >> Wheel Alignment >> Front Suspension System & Front Alignment >> Front Strut Assembly >> Repair Procedures >> Inspection >> Disposal
April 5, 2026: LEMON Manuals is launched! Read the announcement.

Repair Procedures: Inspection: Disposal

  1. Fully extend the piston rod.
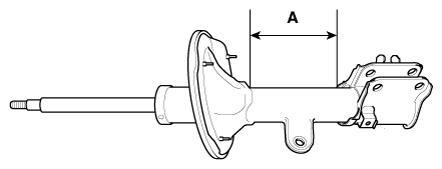
  2. Drill a hole on the (A) section to remove gas from the cylinder.
    Fig 1: Checking Hole Drilling Area
    G12163721Courtesy of KIA MOTORS AMERICA, INC.
    CAUTION:
    • The gas coming out is harmless but be careful of chips that may fly when drilling.