LEMON Manuals: Even more car manuals for everyone: 1960-2025
Home >> Kia >> 2018 >> Rio EX, 4D Hatchback >> Repair and Diagnosis >> Engine Performance >> Ignition System >> Ignition Switch Assembly >> Ignition Switch >> Repair Procedures >> Inspection
April 5, 2026: LEMON Manuals is launched! Read the announcement.

Repair Procedures: Inspection

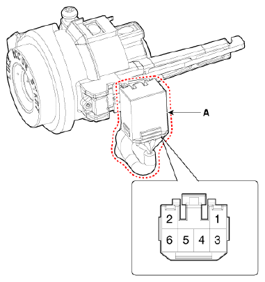
  1. Disconnect the key warning switch connector (A) and ignition switch connector (B) from the steering column.
    G12579823Courtesy of KIA MOTORS AMERICA, INC.
    G12579824Courtesy of KIA MOTORS AMERICA, INC.
  2. Check for continuity between the terminals.
  3. If continuity is not specified, replace the switch.
G12579825Courtesy of KIA MOTORS AMERICA, INC.