LEMON Manuals: Even more car manuals for everyone: 1960-2025
Home >> Kia >> 2018 >> Soul ! >> Repair and Diagnosis >> Transmission >> Transmission Control Systems >> Dual Clutch Transmission Control System - 1.6L T >> Description And Operation >> Description >> Control System Logic
April 5, 2026: LEMON Manuals is launched! Read the announcement.

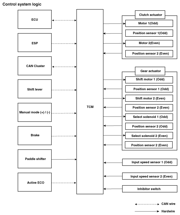
Control System Logic

Fig 1: Dual Clutch Transmission Control System Diagram
G12238778Courtesy of KIA MOTORS AMERICA, INC.