LEMON Manuals: Even more car manuals for everyone: 1960-2025
Home >> Kia >> 2019 >> Cadenza Technology >> Repair and Diagnosis >> Engine Performance >> System >> Engine Control System Diagnosis (5 Of 6) >> DTC P062B-00: Internal Control Module Fuel Injector Control Performance >> Wiring Inspection >> Terminal and Connector Inspection
April 5, 2026: LEMON Manuals is launched! Read the announcement.

Terminal and Connector Inspection

  1. Many malfunctions in the electrical system are caused by poor connection. Faults can also be caused by interference from other electrical systems, and mechanical or chemical damage.
  2. Thoroughly check connectors for looseness, poor connection, bending, corrosion, contamination, deterioration, or damage.
  3. Has a problem been found?
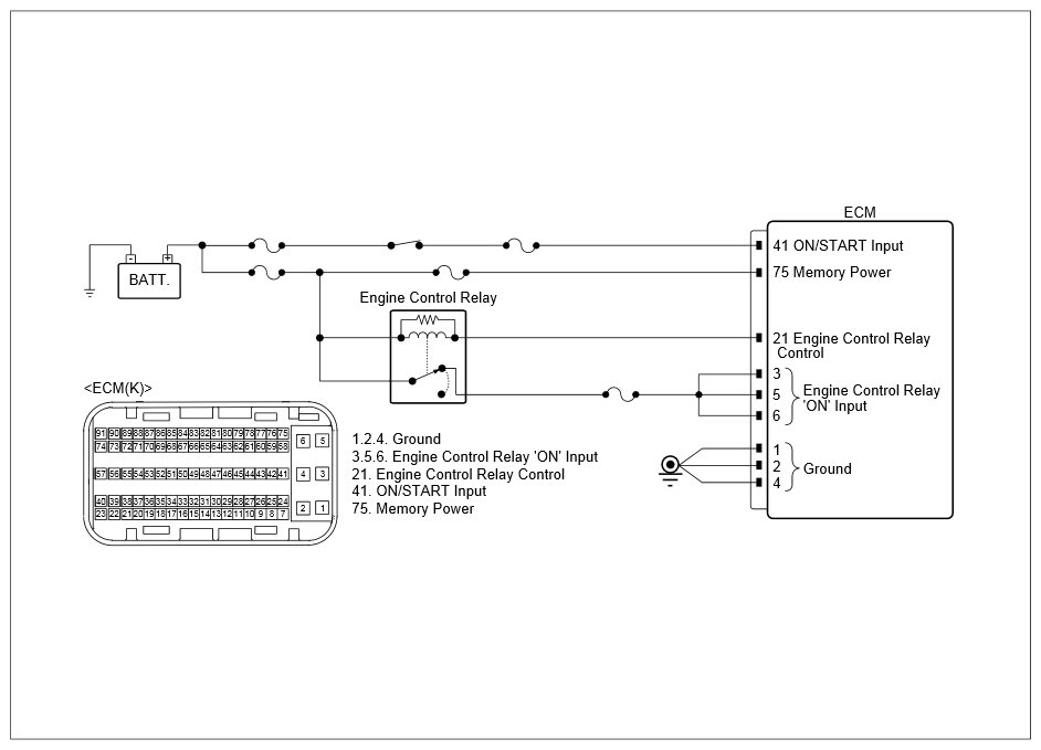
    Fig 1: Engine Control Module Circuit Diagram
    G12283678Courtesy of KIA MOTORS AMERICA, INC.

    YES 

    NO 

    • Carefully re-do this troubleshooting guide steps.
    • If no problems were found with the circuits or connectors, replace the ECM and go to "VERIFICATION OF REPAIR " procedure.