LEMON Manuals: Even more car manuals for everyone: 1960-2025
Home >> Kia >> 2019 >> Niro Plug-In Hybrid EX >> Repair and Diagnosis >> Transmission >> Transmission Control Systems >> Dual Clutch Transmission Control System (PHEV) >> Description & Operation >> Description >> Operating Principle >> Control System Logic
April 5, 2026: LEMON Manuals is launched! Read the announcement.

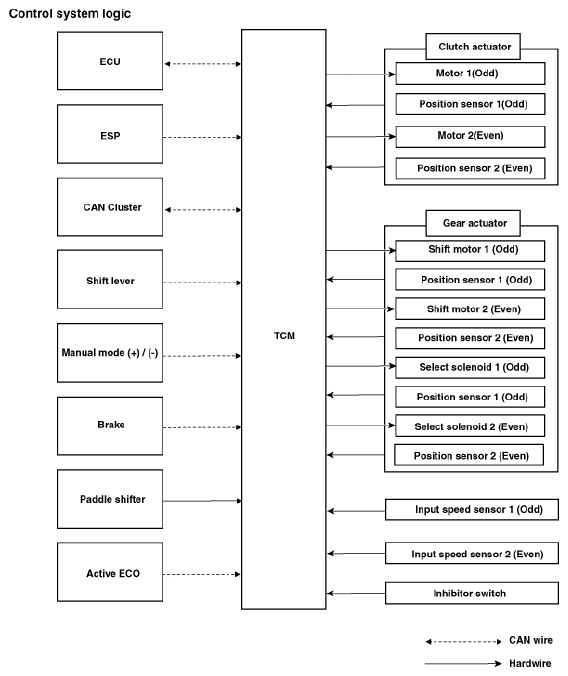
Control System Logic

G12696481Courtesy of KIA MOTORS AMERICA, INC.