LEMON Manuals: Even more car manuals for everyone: 1960-2025
Home >> Kia >> 2023 >> Forte GT Line >> Repair and Diagnosis >> Suspension >> Wheel Alignment >> Front Suspension System And Front Alignment >> Front Strut Assembly >> Repair procedures >> Disposal
April 5, 2026: LEMON Manuals is launched! Read the announcement.

Repair procedures: Disposal

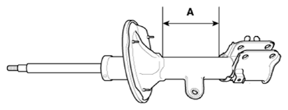
  1. Fully extend the piston rod.
  2. Drill a hole on the (A) section to remove gas from the cylinder.
    G14561465Courtesy of KIA MOTORS AMERICA, INC.
    CAUTION:
    • The gas coming out is harmless, but be careful of chips that may fly when drilling.
    • Be sure to wear safety goggles or eye protection when performing this task.