Rheostat Volume Control Test
NOTE:
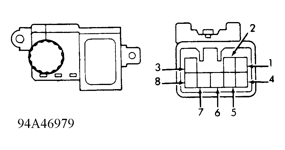
Rheostat and rheostat volume control are separate components. Rheostat is an electronic module that receives signals from rheostat volume control (control wheel).
Remove instrument cluster. Replace rheostat volume control if it does not test as follows.
- Resistance between terminals No. 3 and 4 of rheostat volume control connector should be about 10,000 ohms. See Fig 1.
- While rotating control wheel in each direction, resistance between terminals No. 1 and 3 should vary from zero to about 10,000 ohms.
- With control wheel in position that turns lights off, there should be no continuity between terminals No. 7 and 8.
- With control wheel in any other position, there should be continuity.