LEMON Manuals: Even more car manuals for everyone: 1960-2025
Home >> Lexus >> 2001 >> LS 430 >> Repair and Diagnosis >> External Pages >> Different car >> Section 195 (Power Window Control System) >> Power Window Control System >> Inspection
April 5, 2026: LEMON Manuals is launched! Read the announcement.

Power Window Control System: Inspection

WARNING: This page is about a different car, the 2002 Lexus LS 430. However, it is still accessible from the selected car via links, so may be relevant.
Fig 1: Identifying Drivers Master Switch & Connector Terminals
G01145502Courtesy of © TOYOTA, LICENSE AGREEMENT TMS1002
  1. INSPECT POWER WINDOW MASTER SWITCH CONTINUITY 

    Front Driver's Switch 

    Fig 2: Front Driver's Switch Continuity Table
    G01145498Courtesy of © TOYOTA, LICENSE AGREEMENT TMS1002

    Front Passenger's Switch 

    Fig 3: Front Passenger's Switch Continuity Table
    G01145499Courtesy of © TOYOTA, LICENSE AGREEMENT TMS1002

    Rear Left Switch 

    Fig 4: Left Rear Switch Continuity Table
    G01145500Courtesy of © TOYOTA, LICENSE AGREEMENT TMS1002

    Rear Right Switch 

    Fig 5: Right Rear Switch Continuity Table
    G01145501Courtesy of © TOYOTA, LICENSE AGREEMENT TMS1002

    If continuity is not as specified, replace the master switch.

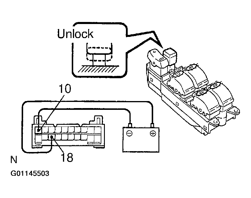
  2. INSPECT POWER WINDOW MASTER SWITCH ILLUMINATION 
    1. Set the window lock switch to the unlock position.
    2. Connect the positive (+) lead from the battery to terminal 18 and the negative (-) lead to terminal 10, and check that all the illuminations light up.
      Fig 6: Inspecting Master Power Window Switch Illumination
      G01145503Courtesy of © TOYOTA, LICENSE AGREEMENT TMS1002
    3. Set the window lock switch to the lock position.
    4. Connect the positive (+) lead from the battery to terminal 8 and the negative (-) lead to terminal 10, and check that all the illuminations does not light up.

      If operation is not as specified, replace the master switch.

      Fig 7: Inspecting Master Power Window Switch Does Not Illuminate
      G01145504Courtesy of © TOYOTA, LICENSE AGREEMENT TMS1002
  3. Front Passenger's Door: INSPECT POWER WINDOW SWITCH CONTINUITY 
    Fig 8: Passengers Front Window Switch Continuity Table
    G01145505Courtesy of © TOYOTA, LICENSE AGREEMENT TMS1002

    If continuity is not as specified, replace the switch.

    Fig 9: Identifying Power Window Switch Terminals
    G01145506Courtesy of © TOYOTA, LICENSE AGREEMENT TMS1002
  4. : INSPECT POWER WINDOW MOTOR OPERATION 
    1. Connect the positive (+) lead from the battery to terminal 5 and the negative (-) lead to terminal 4, and check that the motor turns clockwise.
      Fig 10: Inspecting Power Window Motor Operation
      G01145507Courtesy of © TOYOTA, LICENSE AGREEMENT TMS1002
    2. Reverse the polarity, check that the motor turns counter-clockwise.

      If operation is not as specified, replace the motor.

      Fig 11: Inspecting Power Window Motor Operation (Counter-Clockwise)
      G01145508Courtesy of © TOYOTA, LICENSE AGREEMENT TMS1002
  5. Front Passenger's Door: INSPECT POWER WINDOW MOTOR OPERATION 
    1. Connect the positive (+) lead from the battery to terminal 5 and the negative (-) lead to terminal 4, and check that the motor turns clockwise.
      Fig 12: Inspecting Power Window Motor Operation
      G01145509Courtesy of © TOYOTA, LICENSE AGREEMENT TMS1002
    2. Reverse the polarity, check that the motor turns counter-clockwise.

      If operation is not as specified, replace the motor.

      Fig 13: Inspecting Power Window Motor Operation (Counter-Clockwise)
      G01145510Courtesy of © TOYOTA, LICENSE AGREEMENT TMS1002
  6. Rear Left Side: INSPECT POWER WINDOW MOTOR OPERATION 
    1. Connect the positive (+) lead from the battery to terminal 1 and the negative (-) lead to terminal 2, and check that the motor turns clockwise.
      Fig 14: Inspecting Power Window Motor Operation
      G01145511Courtesy of © TOYOTA, LICENSE AGREEMENT TMS1002
    2. Reverse the polarity check that the motor turns counter-clockwise.

      If operation is not as specified, replace the motor.

      HINT:

      Since the jam protection may not work properly be sure to conduct procedures described in "How to Reset Power Window Motor (Reset switch and pulse switch)" after this inspection.

      Fig 15: Inspecting Power Window Motor Operation (Counter-Clockwise)
      G01145512Courtesy of © TOYOTA, LICENSE AGREEMENT TMS1002
  7. Rear Right Side: INSPECT POWER WINDOW MOTOR OPERATION 
    1. Connect the positive (+) lead from the battery to terminal 1 and the negative (-) lead to terminal 2, and check that the motor turns clockwise.
      Fig 16: Inspecting Power Window Motor Operation
      G01145513Courtesy of © TOYOTA, LICENSE AGREEMENT TMS1002
    2. Reverse the polarity check that the motor turns counter-clockwise.

      If operation is not as specified, replace the motor.

      HINT:

      Since the jam protection may not work properly be sure to conduct procedures described in "How to Reset Power Window Motor (Reset switch and pulse switch)" after this inspection.

      Fig 17: Inspecting Power Window Motor Operation (Counter-Clockwise)
      G01145514Courtesy of © TOYOTA, LICENSE AGREEMENT TMS1002
  8. Front Door: INSPECT POWER WINDOW MOTOR PTC THERMISTOR OPERATION 
    1. Disconnect the connector from the Driver door Window motor.
    2. Connect the positive (+) lead from the ammeter to terminal 5 on the wire harness side connector and the negative (-) lead to negative terminal of the battery.
      Fig 18: Inspecting Front Power Window Motor PTC Thermistor Operation (Window Up)
      G01145515Courtesy of © TOYOTA, LICENSE AGREEMENT TMS1002
    3. Connect the positive (+) lead from the battery to terminal 4 on the wire harness side connector, and raise the window to the fully position.
    4. Continue to apply voltage, and check that the current changes to less than 1 A within 4 to 90 seconds.
    5. Disconnect the leads from the terminals.
    6. Approximately 60 seconds later, connect the positive (+) lead from the battery to terminal 5 and the negative (-) lead to terminal 4, and check that the window begins to descend.

      If operation is not as specified, replace the motor.

      Fig 19: Inspecting Front Power Window Motor PTC Thermistor Operation (Window Down)
      G01145516Courtesy of © TOYOTA, LICENSE AGREEMENT TMS1002
  9. Rear LH Door: INSPECT POWER WINDOW MOTOR PTC THERMISTOR OPERATION 
    1. Disconnect the connector from the Rear LH door ECU.
    2. Connect the positive (+) lead from the ammeter to terminal 1 on the wire harness side connector and the negative (-) lead to negative terminal of the battery.
    3. Connect the positive (+) lead from the battery to terminal 2 on the wire harness side connector, and raise the window to the fully position.
      Fig 20: Inspecting Left Rear Power Window Motor PTC Thermistor Operation (Window Up)
      G01145517Courtesy of © TOYOTA, LICENSE AGREEMENT TMS1002
    4. Continue to apply voltage and check that the current changes to less than 1 A within 4 to 90 seconds.
    5. Disconnect the leads from the terminals.
    6. Approximately 60 seconds later, connect the positive (+) lead from the battery to terminal 1 and the negative (-) lead to terminal 2, and check that the window begins to descend.

      If operation is not as specified, replace the motor.

      Fig 21: Inspecting Left Rear Power Window Motor PTC Thermistor Operation (Window Down)
      G01145518Courtesy of © TOYOTA, LICENSE AGREEMENT TMS1002
  10. Rear RH Door: INSPECT POWER WINDOW MOTOR PTC THERMISTOR OPERATION 
    1. Disconnect the connector from the Rear RH door ECU.
    2. Connect the positive (+) lead from the ammeter to terminal 2 on the wire harness side connector and the negative (-) lead to negative terminal of the battery.
    3. Connect the positive (+) lead from the battery to terminal 1 on the wire harness side connector, and raise the window to the fully position.
      Fig 22: Inspecting Right Rear Power Window Motor PTC Thermistor Operation (Window Up)
      G01145519Courtesy of © TOYOTA, LICENSE AGREEMENT TMS1002
    4. Continue to apply voltage and check that the current changes to less than 1 A within 4 to 90 seconds.
    5. Disconnect the leads from the terminals.
    6. Approximately 60 seconds later, connect the positive (+) lead from the battery to terminal 2 and the negative (-) lead to terminal 1, and check that the window begins to descend.

      If operation is not as specified, replace the motor.

      Fig 23: Inspecting Right Rear Power Window Motor PTC Thermistor Operation (Window Down)
      G01145520Courtesy of © TOYOTA, LICENSE AGREEMENT TMS1002
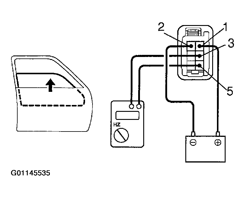
  11. Driver's Door: INSPECT JAM PROTECTION LIMIT SWITCH OPERATION 
    1. Connect the positive (+) lead from the ohmmeter to terminal 2 and the negative (-) lead to terminal 3.
    2. Connect the positive (+) lead from the battery to terminal 4 and the negative (-) lead to terminal 5.
    3. Check that the continuity exists when the window goes up.
      Fig 24: Inspecting Drivers JAM Protection Limit Switch Operation (Window Up)
      G01145521Courtesy of © TOYOTA, LICENSE AGREEMENT TMS1002
    4. Check that the no continuity exists when the window is in the fully closed position.
      NOTE: If connecting the wire harness wrongly, the sensor might be damaged so caution is necessary.
      Fig 25: Inspecting Drivers JAM Protection Limit Switch Operation (Window Down)
      G01145522Courtesy of © TOYOTA, LICENSE AGREEMENT TMS1002
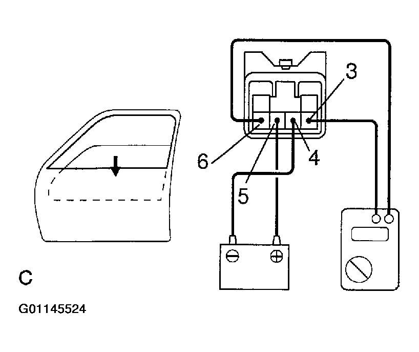
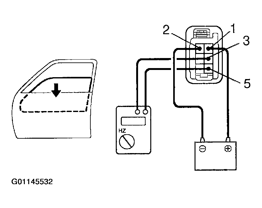
  12. Driver's Door: INSPECT JAM PROTECTION PULSE SWITCH OPERATION 
    1. Connect the positive (+) lead from the TOYOTA electrical tester to terminal 6 and the negative (-) lead to terminal 3.
    2. Connect the positive (+) lead from the battery to terminal 4 and the negative (-) lead to terminal 5.
    3. Check that pulse is generated during the motor running.
      Fig 26: Inspecting Drivers JAM Protection Pulse Switch Operation (Window Up)
      G01145523Courtesy of © TOYOTA, LICENSE AGREEMENT TMS1002
    4. Reverse the polarity and check that pulse is generated.

      If operation is not as specified, replace the motor.

      NOTE: If connecting the wire harness wrongly, the sensor might be damaged so caution is necessary.
      Fig 27: Inspecting Drivers JAM Protection Pulse Switch Operation (Window Down)
      G01145524Courtesy of © TOYOTA, LICENSE AGREEMENT TMS1002
  13. Passenger's Door: INSPECT JAM PROTECTION LIMIT SWITCH OPERATION 
    1. Connect the positive (+) lead from the ohmmeter to terminal 6 and the negative (-) lead to terminal 1.
    2. Connect the positive (+) lead from the battery to terminal 4 and the negative (-) lead to terminal 5.
    3. Check that the continuity exists when the window goes up.
      Fig 28: Inspecting Passengers JAM Protection Limit Switch Operation (Window Up)
      G01145525Courtesy of © TOYOTA, LICENSE AGREEMENT TMS1002
    4. Check that the no continuity exists when the window is in the fully closed position.

      If operation is not as specified, replace the motor.

      NOTE: If connecting the wire harness wrongly, the sensor might be damaged so caution is necessary.
      Fig 29: Inspecting Passengers JAM Protection Limit Switch Operation (Window Down)
      G01145526Courtesy of © TOYOTA, LICENSE AGREEMENT TMS1002
  14. Passenger's Door: INSPECT JAM PROTECTION PULSE SWITCH OPERATION 
    1. Connect the positive (+) lead from the TOYOTA electrical tester to terminal 1 and the negative (-) lead to terminal 3.
    2. Connect the positive (+) lead from the battery to terminal 4 and the negative (-) lead to terminal 5.
    3. Check that pulse is generated during the motor running.
      Fig 30: Inspecting Passengers JAM Protection Pulse Switch Operation (Window Up)
      G01145527Courtesy of © TOYOTA, LICENSE AGREEMENT TMS1002
    4. Reverse the polarity and check that pulse is generated.

      If operation is not as specified, replace the motor.

      NOTE: If connecting the wire harness wrongly, the sensor might be damaged so caution is necessary.
      Fig 31: Inspecting Passengers JAM Protection Pulse Switch Operation (Window Down)
      G01145528Courtesy of © TOYOTA, LICENSE AGREEMENT TMS1002
  15. Rear LH Door: INSPECT JAM PROTECTION LIMIT SWITCH 
    1. Connect the positive (+) lead from the ohmmeter to terminal 4 and the negative (-) lead to terminal 5.
    2. Connect the positive (+) lead from the battery to terminal 2 and the negative (-) lead to terminal 1.
    3. Check that the continuity exists when the window goes up.
      Fig 32: Inspecting Left Rear JAM Protection Limit Switch (Window Up)
      G01145529Courtesy of © TOYOTA, LICENSE AGREEMENT TMS1002
    4. Check that the no continuity exists when the window is in the fully closed position.

      If operation is not as specified, replace the motor.

      NOTE: If connecting the wire harness wrongly, the sensor might be damaged so caution is necessary.
      Fig 33: Inspecting Left Rear JAM Protection Limit Switch (Window Down)
      G01145530Courtesy of © TOYOTA, LICENSE AGREEMENT TMS1002
  16. Rear LH Door: INSPECT JAM PROTECTION PULSE SWITCH 
    1. Connect the positive (+) lead from the LEXUS electrical tester to terminal 3 and the negative (-) lead to terminal 5.
    2. Connect the positive (+) lead from the battery to terminal 2 and the negative (-) lead to terminal 1.
    3. Check that pulse is generated during the motor running.
      Fig 34: Inspecting Left Rear JAM Protection Pulse Switch (Window Up)
      G01145531Courtesy of © TOYOTA, LICENSE AGREEMENT TMS1002
    4. Reverse the polarity and check that pulse is generated.

      If operation is not as specified, replace the motor.

      NOTE: If connecting the wire harness wrongly, the sensor might be damaged so caution is necessary.
      Fig 35: Inspecting Left Rear JAM Protection Pulse Switch (Window Down)
      G01145532Courtesy of © TOYOTA, LICENSE AGREEMENT TMS1002
  17. Rear RH Door: INSPECT JAM PROTECTION LIMIT SWITCH 
    1. Connect the positive (+) lead from the ohmmeter to terminal 4 and the negative (-) lead to terminal 5.
    2. Connect the positive (+) lead from the battery to terminal 1 and the negative (-) lead to terminal 2.
    3. Check that the continuity exists when the window goes down.
      Fig 36: Inspecting Right Rear JAM Protection Limit Switch (Window Up)
      G01145533Courtesy of © TOYOTA, LICENSE AGREEMENT TMS1002
    4. Check that the no continuity exists when the window is in the fully opened position.

      If operation is not as specified, replace the motor.

      NOTE: If connecting the wire harness wrongly, the sensor might be damaged so caution is necessary.
      Fig 37: Inspecting Right Rear JAM Protection Limit Switch (Window Down)
      G01145534Courtesy of © TOYOTA, LICENSE AGREEMENT TMS1002
  18. Rear RH Door: INSPECT JAM PROTECTION PULSE SWITCH 
    1. Connect the positive (+) lead from the LEXUS electrical tester to terminal 3 and the negative (-) lead to terminal 5.
    2. Connect the positive (+) lead from the battery to terminal 1 and the negative (-) lead to terminal 2.
    3. Check that pulse is generated during the motor running.
      Fig 38: Inspecting Right Rear JAM Protection Pulse Switch (Window Up)
      G01145535Courtesy of © TOYOTA, LICENSE AGREEMENT TMS1002
    4. Reverse the polarity and check that pulse is generated.

      If operation is not as specified, replace the motor.

      NOTE: If connecting the wire harness wrongly, the sensor might be damaged so caution is necessary.
  19. INSPECT JAM PROTECTION FUNCTION 
    NOTE: Never, ever be caught any part of your body when checking.
    Fig 39: Inspecting Right Rear JAM Protection Pulse Switch (Window Down)
    G01145536Courtesy of © TOYOTA, LICENSE AGREEMENT TMS1002

    HINT:

    In case of performing resetting of the limit switch, do checking after repeating up and down of the glass with automatic operation.

    1. Confirmation of AUTO up operation: Confirm that the window will be fully close with AUTO up operation.
    2. Checking of the operation of the jam protection function:
      1. Move up the window with AUTO up operation and check that the window will go down when it touches the handle of the hammer stetted.
      2. Confirm that the window will then stop going down about 200 mm.

      HINT:

      In case of removing the glass, glass guide, regulator and etc. be sure to perform checking of the jam protection function. If the jam protection is not function properly, adjust power window motor reset switch and pulse switch.