LEMON Manuals: Even more car manuals for everyone: 1960-2025
Home >> Lexus >> 2001 >> LX 470 >> Repair and Diagnosis >> External Pages >> Different car >> Section 187 (Body Control System) >> Circuit Tests >> Light Control Switch Circuit >> Circuit Description
April 5, 2026: LEMON Manuals is launched! Read the announcement.

Circuit Description

WARNING: This page is about a different car, the 2002 Lexus LX 470. However, it is still accessible from the selected car via links, so may be relevant.

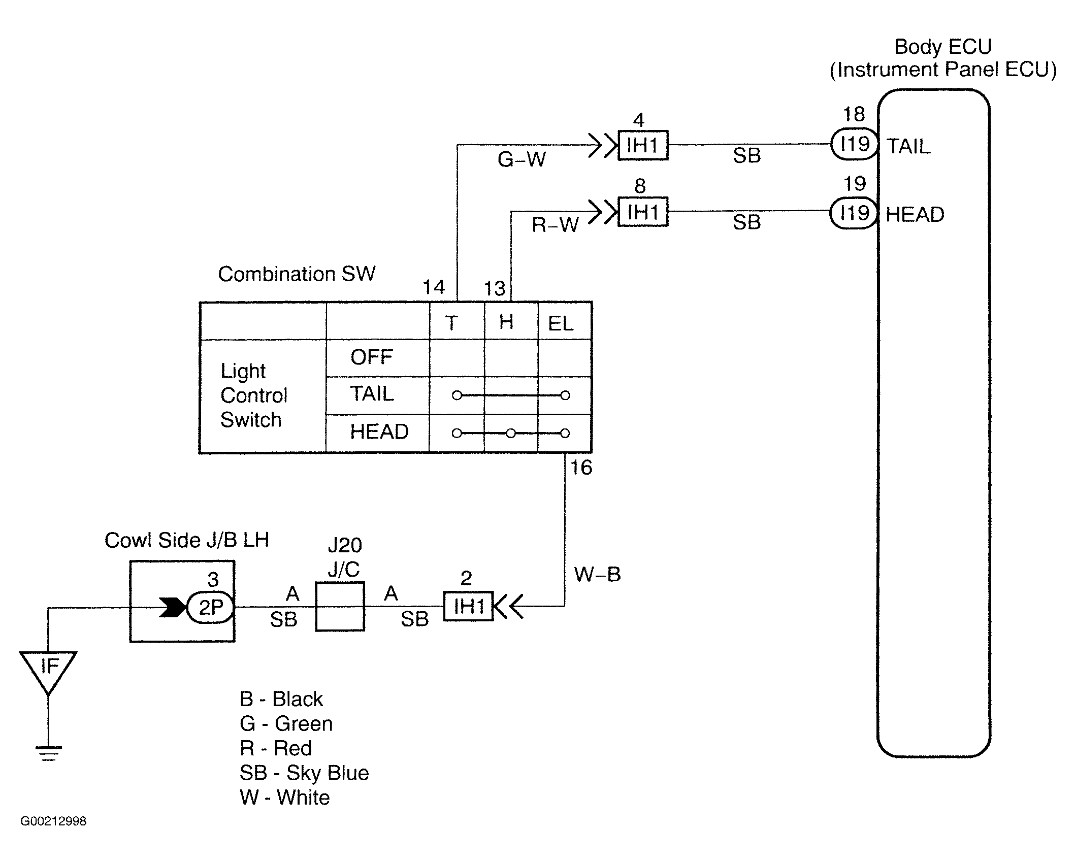
For circuit diagram, see Fig 1.

Fig 1: Identifying Light Control Switch Circuit
G00212998Courtesy of © TOYOTA, LICENSE AGREEMENT TMS1002