LEMON Manuals: Even more car manuals for everyone: 1960-2025
Home >> Lexus >> 2002 >> GS 430 >> Repair and Diagnosis >> External Pages >> Different car >> Section 366 (Defogger System) >> Inspection
April 5, 2026: LEMON Manuals is launched! Read the announcement.

Section 366 (Defogger System): Inspection

WARNING: This page is about a different car, the 2004 Lexus GS 430 and 2004 Lexus GS 300. However, it is still accessible from the selected car via links, so may be relevant.
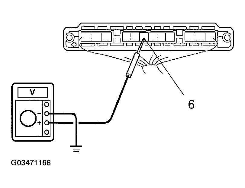
  1. INSPECT DEFOGGER TIMER OPERATION 
    1. Connect the positive (+) lead from the voltmeter to terminal 6 of body ECU No. 1 connector and negative (-) lead to body ground.
    2. When the switch is OFF, the voltage should be approx. 12V.
      Fig 1: Connecting Positive Lead From Voltmeter To Terminal 6 Of Body ECU No. 1 Connector
      G03471166Courtesy of © TOYOTA, LICENSE AGREEMENT TMS1002
    3. Turn the defogger switch ON and check that the indicator lights up and that the voltage is less than 1 V.
    4. After 15 minutes, check that the switch is OFF and the voltage is approx. 12 V.

    If operation is not as specified, replace the switch.

    Fig 2: Locating Indicator
    G03471167Courtesy of © TOYOTA, LICENSE AGREEMENT TMS1002
  2. Connector disconnected: INSPECT DEFOGGER SWITCH (in A/C control assembly) CIRCUIT 

    Disconnect the connector from the A/C control assembly and inspect the connector on wire harness side, as shown in the chart.

    Fig 3: Inspecting Connector On Wire Harness Side
    G03471168Courtesy of © TOYOTA, LICENSE AGREEMENT TMS1002
    TESTER CONNECTION SPECIFICATION

    Tester connection Condition Specified condition
    B10 - Ground Constant Continuity
    A1 - Ground Constant Battery voltage
    A2 - Ground Ignition switch LOCK No voltage
    A2 - Ground Ignition switch ACC or ON Battery voltage

    If the circuit is not as specified, replace the switch.

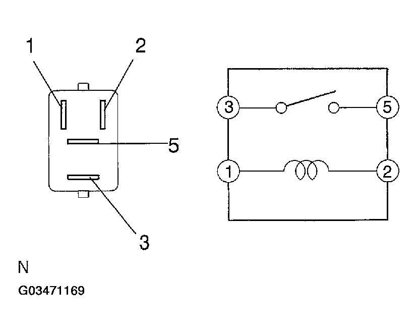
  3. INSPECT DEFOGGER RELAY CONTINUITY 
    TESTER CONNECTION SPECIFICATION

    Condition Tester connection Specified condition
    Constant 1 - 2 Continuity
    Apply B+ between terminals 1 and 2. 3 - 5 Continuity

    If continuity is not as specified, replace the relay.

  4. INSPECT DEFOGGER RELAY CIRCUIT (See  REAR DEFOGGER RELAY CIRCUIT  and  INSPECTION  ) 
    Fig 4: Inspecting Defogger Relay Continuity
    G03471169Courtesy of © TOYOTA, LICENSE AGREEMENT TMS1002
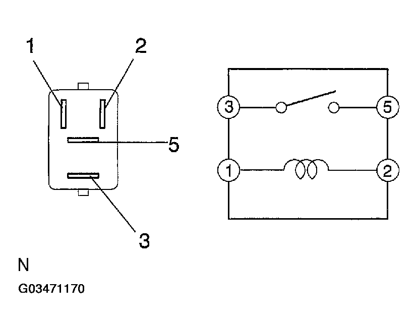
  5. INSPECT MIRROR DEFOGGER RELAY CONTINUITY 
    TESTER CONNECTION SPECIFICATION

    Condition Tester connection Specified condition
    Constant 1 - 2 Continuity
    Apply B+ between terminals 1 and 2. 3 - 5 Continuity

    If continuity is not as specified, replace the relay.

  6. INSPECT MIRROR DEFOGGER RELAY CIRCUIT (See  INSPECTION  ) 
    Fig 5: Inspecting Mirror Defogger Relay Circuit
    G03471170Courtesy of © TOYOTA, LICENSE AGREEMENT TMS1002
  7. INSPECT DEFOGGER WIRE 
    NOTE:
    • When cleaning the glass, use a soft, dry cloth, and wipe the glass in the direction of the wire. Take care not to damage the wires.
    • Do not use detergents or glass cleaners with abrasive ingredients.
    • When measuring voltage, wrap a piece of tin foil around the tip of the negative probe and press the foil against the wire with your finger, as shown.
    1. Turn the ignition switch ON.
    2. Turn the defogger switch ON.
    3. Inspect the voltage at the center of each heat wire, as shown.
      Fig 6: Inspecting Defogger Wire
      G03471171Courtesy of © TOYOTA, LICENSE AGREEMENT TMS1002
      VOLTAGE CRITERIA

      Voltage Criteria
      Approx. 5V Okay (No break in wire)
      Approx. 10V or 0V Broken wire

      HINT:

      If there is approximately 10 V, the wire is broken between the center of the wire and the positive (+) end. If there is no voltage, the wire is broken between the center of the wire and ground.

      Fig 7: Inspecting Voltage At Center Of Heat Wire
      G03471172Courtesy of © TOYOTA, LICENSE AGREEMENT TMS1002
    4. Place the voltmeter positive (+) lead against the defogger wire on the battery side.
    5. Place the voltmeter negative (-) lead with the foil strip against the wire on the ground side.
    6. Slide the positive (+) lead from battery to ground side.
    7. The point where the voltmeter deflects from several V to zero V is the place where the defogger wire is broken.
    Fig 8: Placing Voltmeter Negative Lead With Foil Strip Against Wire On Ground Side
    G03471173Courtesy of © TOYOTA, LICENSE AGREEMENT TMS1002

    HINT:

    If the heat wire is not broken, the voltmeter indicates 0 V at the positive (+) end of the heat wire but gradually increases to about 12 V as the meter probe moves to the other end.

  8. IF NECESSARY, REPAIR DEFOGGER WIRE 
    1. Clean the broken wire tips with grease, wax and silicone remover.
    2. Place the masking tape along both sides of the wire for repair.
    3. Thoroughly mix the repair agent (DuPont paste No. 4817).
      Fig 9: Placing Masking Tape Along Both Sides Of Wire For Repair
      G03471174Courtesy of © TOYOTA, LICENSE AGREEMENT TMS1002
    4. Using a fine tip brush, apply a small amount of the agent to the wire.
    5. After a few minutes, remove the masking tape.
    6. Do not repair the defogger wire for at least 24 hours.
      Fig 10: Applying Small Amount Of Agent To Wire
      G03471175Courtesy of © TOYOTA, LICENSE AGREEMENT TMS1002
  9. w/ Mirror heater (w/o Driving position memory): 

    INSPECT MIRROR DEFOGGER OPERATION 

    1. Connect the positive (+) lead from the battery to terminal 7 and the negative (-) lead to terminal 8.
    2. Check that the mirror becomes warm.

    HINT:

    It will take a short time for the mirror to become warm.

    Fig 11: Connecting Positive Lead From Battery To Terminal 7 And Negative Lead To Terminal 8
    G03471176Courtesy of © TOYOTA, LICENSE AGREEMENT TMS1002
  10. w/ Mirror heater (w/ Driving position memory): 

    INSPECT MIRROR DEFOGGER OPERATION 

    1. Connect the positive (+) lead from the battery to terminal 12 and the negative (-) lead to terminal 13.
    2. Check that the mirror becomes warm.

    HINT:

    It will take a short time for the mirror to become warm.

    Fig 12: Connecting Positive Lead From Battery To Terminal 12 And Negative Lead To Terminal 13
    G03471177Courtesy of © TOYOTA, LICENSE AGREEMENT TMS1002