LEMON Manuals: Even more car manuals for everyone: 1960-2025
Home >> Lexus >> 2002 >> LX 470 >> Repair and Diagnosis >> Transmission >> Transfer Case >> Transfer Case System >> Transfer Assembly >> Reassembly
April 5, 2026: LEMON Manuals is launched! Read the announcement.

Transfer Assembly: Reassembly

  1. INSPECT SHIFT FORK NO. 2 AND CLUTCH SLEEVE CLEARANCE 

    Using a feeler gauge, measure the clearance between the shift fork No. 2 and clutch sleeve.

    Fig 1: Measuring Clearance Between Shift Fork No 2 And Clutch Sleeve
    G03322274Courtesy of © TOYOTA, LICENSE AGREEMENT TMS1002

    Standard clearance: 

    0.10 - 0.40 mm (0.0039 - 0.0157 in.) 

    Maximum clearance: 

    0.40 mm (0.0157 in.) 

  2. INSTALL THE BEARING RACE (FOR THE OUTPUT SHAFT) 

    Using SST and a press, install the bearing race.

    Fig 2: Installing Bearing Race For Output Shaft
    G03322275Courtesy of © TOYOTA, LICENSE AGREEMENT TMS1002

    SST 09316-60011 (09316-00011,09316-00031), 09950-60020 (09951-00890)

  3. INSTALL THE BEARING RACE (FOR THE IDLER GEAR) 

    Using SST and a press, install the bearing race.

    Fig 3: Installing Bearing Race For Idler Gear
    G03322276Courtesy of © TOYOTA, LICENSE AGREEMENT TMS1002

    SST 09316-60011 (09316-00011,09316-00031), 09950-60020 (09951-00790)

  4. INSTALL OIL RECEIVER TO FRONT CASE 

    Install the oil receiver and bolt.

    Fig 4: Installing Oil Receiver Bolt
    G03322277Courtesy of © TOYOTA, LICENSE AGREEMENT TMS1002

    Torque: 12 N.m (120 kgf.cm, 9 ft.lbf) 

  5. INSTALL SHIFT OUTER LEVER AND INNER LEVER 
    1. Install the shift inner lever, washer and outer lever to the front case.
    2. Using a pin punch, hammer and socket wrench, tap in the lever lock pin.
    3. Fig 5: Installing Lever Lock Pin
      G03322278Courtesy of © TOYOTA, LICENSE AGREEMENT TMS1002
    4. Install the washer and nut to the shift outer lever.

      Torque: 12 N.m (120 kgf.cm, 9 ft.lbf) 

  6. ASSEMBLE SHIFT FORK NO. 1 AND SHIFT FORK NO. 1 SHAFT 
    1. Assemble the shift fork No. 1 and shift fork No. 1 shaft.
    2. Fig 6: Installing Slotted Spring Pin
      G03322279Courtesy of © TOYOTA, LICENSE AGREEMENT TMS1002
    3. Using a pin punch and hammer, drive in the slotted spring pin.
  7. INSTALL IDLER GEAR ASSEMBLY WITH CENTER DIFFERENTIAL ASSEMBLY, SHIFT FORK NO. 1 AND SHIFT FORK NO. 1 SHAFT TO FRONT CASE 
    Fig 7: Installing Idler Gear Assembly With Center Differential Assembly
    G03322280Courtesy of © TOYOTA, LICENSE AGREEMENT TMS1002
    NOTE: Set the shift inner lever into the fork head part of the shift fork No. 1 securely.
  8. INSTALL INPUT SHAFT ASSEMBLY 
  9. INSTALL 2 BEARING RACES TO REAR CASE 
  10. ASSEMBLY FRONT CASE AND REAR CASE 
    1. Apply FIPG to the front case.
      Fig 8: Applying FIPG To Front Case
      G03322281Courtesy of © TOYOTA, LICENSE AGREEMENT TMS1002

      FIPG: 

      Part No. 08826-00090, THREE BOND 1281 or equivalent 

    2. Assemble the front case and rear case.
    3. Apply liquid sealer to the "A" bolt threads.
      Fig 9: Applying Liquid Sealer To Bolt Threads
      G03322282Courtesy of © TOYOTA, LICENSE AGREEMENT TMS1002

      Sealant: 

      Part No. 08833-00080, THREE BOND 1344, LOCTITE 242 or equivalent 

    4. Install the 8 bolts.

      Torque: 37 N.m (380 kgf.cm, 27 ft.lbf) 

  11. ASSEMBLE FRONT CASE AND REAR CASE 

    Using a snap ring expander, install the snap ring to the rear case.

    Fig 10: Installing Snap Ring
    G03322283Courtesy of © TOYOTA, LICENSE AGREEMENT TMS1002
  12. INSTALL CASE COVER 
    1. Apply FIPG to the rear case.
      Fig 11: Applying FIPG To Rear Case
      G03322284Courtesy of © TOYOTA, LICENSE AGREEMENT TMS1002

      FIPG: 

      Part No. 08826-00090, THREE BOND 1281 or equivalent 

    2. Install the case cover.
    3. Apply liquid sealer to the bolt threads.
      Fig 12: Applying Liquid Sealer To Bolt Threads
      G03322285Courtesy of © TOYOTA, LICENSE AGREEMENT TMS1002

      Sealant: 

      Part No. 08833-00080, THREE BOND 1344, LOCTITE 242 or equivalent 

    4. Install the 5 bolts.

      Torque: 37 N.m (380 kgf.cm, 27 ft.lbf) 

  13. INSTALL OIL STRAINER TO REAR CASE 

    Install the oil strainer and 2 bolts.

    Fig 13: Installing Oil Strainer Bolts
    G03322286Courtesy of © TOYOTA, LICENSE AGREEMENT TMS1002

    Torque: 4.9 N.m (50 kgf.cm, 43 in.lbf) 

  14. SELECT ADJUSTING SHIM FOR IDLER GEAR REAR TAPER ROLLER BEARING 
    1. Using vernier calipers, measure dimension "A".
      Fig 14: Identifying Measuring Dimension "A"
      G03322287Courtesy of © TOYOTA, LICENSE AGREEMENT TMS1002
    2. Lightly hole down the bearing outer race in the thrust direction to eliminate any looseness before making the measurement.
    3. Using a steel straight edge and feeler gauge, measure the clearance of dimension "B".
      Fig 15: Identifying Measuring Clearance Of Dimension "B"
      G03322288Courtesy of © TOYOTA, LICENSE AGREEMENT TMS1002
    4. Calculate the required thickness of the adjusting shim.

      Thickness: Dimension "A" + Dimension "B" + [0.022 - 0.049 mm, (0.0009 - 0.0019 in.)] 

    5. From SHIM THICKNESS RANGE , select a shim so that its thickness is within the range of the calculation.
      SHIM THICKNESS RANGE

      Mark Thickness mm (in.) Mark Thickness mm (in.)
      2 0.30 (0.0118) 8 3.20 (0.1260)
      3 0.45 (0.0177) 9 3.40 (0.1339)
      4 2.40 (0.0945) 10 3.60 (0.1417)
      5 2.60 (0.1024) 11 3.80 (0.1496)
      6 2.80 (0.1102) 12 4.00 (0.1575)
      7 3.00 (0.1181) 13 0.55 (0.0216)
  15. SELECT ADJUSTING SHIM FOR OUTPUT SHAFT TAPER ROLLER BEARING 
    1. Using a steel straight edge and feeler gauge, measure the clearance of dimension "C".
    2. Fig 16: Measuring Clearance Of Dimension "C"
      G03322289Courtesy of © TOYOTA, LICENSE AGREEMENT TMS1002
    3. Lightly hold down the bearing outer race in the thrust direction to eliminate any looseness before making the measurement.
    4. Using a steel straight edge and vernier calipers with depth gauge, measure dimension "D".
    5. Fig 17: Measuring Depth Dimension "D", "E" And "F"
      G03322290Courtesy of © TOYOTA, LICENSE AGREEMENT TMS1002
    6. Dimension "D" is the straight edge thickness (Dimension "F") subtracted from dimension "E" in the illustration to the left.

      Dimension "D": Dimension "E" - Dimension "F" 

    7. Using a steel straight edge and vernier calipers with depth gauge, measure dimension "G".
    8. Fig 18: Measuring Depth Dimension "G"
      G03322291Courtesy of © TOYOTA, LICENSE AGREEMENT TMS1002
    9. Dimension "G" is the straight edge thickness (Dimension "F") subtracted from Dimension "H".

      Dimension "G": Dimension "H" - Dimension "F" 

    10. Calculate the required thickness of the adjusting shim.

      Thickness: Dimension "G" - (Dimension "D" - Dimension "C") + [0.014 - 0.039 mm, (0.0006 - 0.0015 in.)] 

    11. From SHIM THICKNESS RANGE , select a shim so that its thickness is within the range of the calculation.
      SHIM THICKNESS RANGE

      Mark Thickness mm (in.) Mark Thickness mm (in.)
      B 0.30 (0.0118) H 1.80 (0.0709)
      C 0.45 (0.0177) J 2.00 (0.0787)
      D 1.00 (0.0394) K 2.20 (0.0866)
      E 1.20 (0.0472) L 2.40 (0.0945)
      F 1.40 (0.0551) M 2.60 (0.1024)
      G 1.60 (0.0630) N 0.55 (0.0216)
  16. INSTALL REAR EXTENSION HOUSING 
    1. Apply FIPG to the rear extension housing.
      Fig 19: Applying FIPG To Rear Extension Housing
      G03322292Courtesy of © TOYOTA, LICENSE AGREEMENT TMS1002

      FIPG: 

      Part No. 08826-00090, THREE BOND 1281 or equivalent 

    2. Install the rear extension housing and 9 bolts.
      Fig 20: Installing Rear Extension Housing Bolts
      G03322293Courtesy of © TOYOTA, LICENSE AGREEMENT TMS1002

      Torque: 37 N.m (380 kgf.cm, 27 ft.lbf) 

  17. ASSEMBLE SHIFT FORK NO. 2 SHAFT AND SHIFT FORK NO. 2 
    1. Install the shift fork No. 2 to the shift fork No. 2 shaft.
    2. Install the 3 snap rings to the shift fork No. 2 shaft.
  18. INSTALL CLUTCH SLEEVE WITH SHIFT FORK NO. 2 SHAFT AND SHIFT FORK NO. 2 
    Fig 21: Installing Clutch Sleeve With Shift Fork No. 2
    G03322294Courtesy of © TOYOTA, LICENSE AGREEMENT TMS1002
    NOTE: Make sure to install the clutch sleeve in the correct direction.
  19. INSTALL FRONT EXTENSION HOUSING 
    1. Apply FIPG to the front extension housing.
      Fig 22: Applying FIPG To Front Extension Housing
      G03322295Courtesy of © TOYOTA, LICENSE AGREEMENT TMS1002

      FIPG: 

      Part No. 08826-00090, THREE BOND 1281 or equivalent 

    2. Install the front extension housing and 6 bolts.
      Fig 23: Installing Front Extension Housing Bolts
      G03322296Courtesy of © TOYOTA, LICENSE AGREEMENT TMS1002

      Torque: 37 N.m (380 kgf.cm, 27 ft.lbf) 

      NOTE: Set the clutch sleeve in differential lock condition.
  20. INSTALL TRANSFER INDICATOR SWITCH 

    Install the 3 transfer indicator switches with 3 new gaskets.

    Torque: 37 N.m (380 kgf.cm, 27 ft.lbf) 

  21. INSTALL BALL, SPRING AND SCREW 
    1. Install the ball and spring.
      Fig 24: Installing Ball Spring And Screw
      G03322297Courtesy of © TOYOTA, LICENSE AGREEMENT TMS1002
    2. Apply liquid sealer to the screw plug threads.

      Sealant: 

      Part No. 08833-00080, THREE BOND 1344, LOCTITE 242 or equivalent 

    3. Using a torx socket wrench (T40), install the screw plug.

      Torque: 19 N.m (190 kgf.cm, 14 ft.lbf) 

  22. INSTALL OUTPUT GEAR TO FRONT CASE 
    NOTE: Apply gear oil to the output gear.
    Fig 25: Installing Output Gear To Front Case
    G03322298Courtesy of © TOYOTA, LICENSE AGREEMENT TMS1002
    CAUTION: Do not turn the output gear.
  23. INSTALL MOTOR ACTUATOR 
    1. Apply FIPG to the motor actuator.
      Fig 26: Applying FIPG To Motor Actuator
      G03322299Courtesy of © TOYOTA, LICENSE AGREEMENT TMS1002

      FIPG: 

      Part No. 08826-00090, THREE BOND 1281 or equivalent 

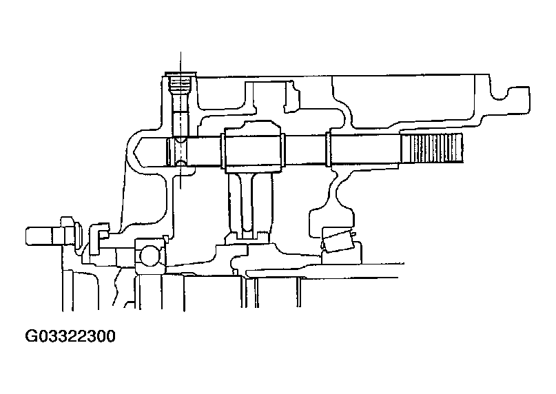
      NOTE: Set the motor actuator in differential lock condition.
      Fig 27: Setting Motor Actuator In Differential Lock
      G03322300Courtesy of © TOYOTA, LICENSE AGREEMENT TMS1002
    2. Install the motor actuator and 4 bolts.
      Fig 28: Installing Motor Actuator Bolts
      G03322301Courtesy of © TOYOTA, LICENSE AGREEMENT TMS1002

      Torque: 18 N.m (185 kgf.cm, 13 ft.lbf) 

  24. INSTALL SPEED SENSOR DRIVE GEAR 

    Install the driven gear and bolt.

    Torque: 11 N.m (115 kgf.cm, 8 ft.lbf) 

  25. INSTALL BREATHER HOSE