LEMON Manuals: Even more car manuals for everyone: 1960-2025
Home >> Lexus >> 2003 >> LS 430 >> Repair and Diagnosis >> Accessories & Equipment >> Communication Devices >> Body Control Systems >> Circuit Tests >> Pattern Select Switch Circuit >> Circuit Description
April 5, 2026: LEMON Manuals is launched! Read the announcement.

Circuit Description

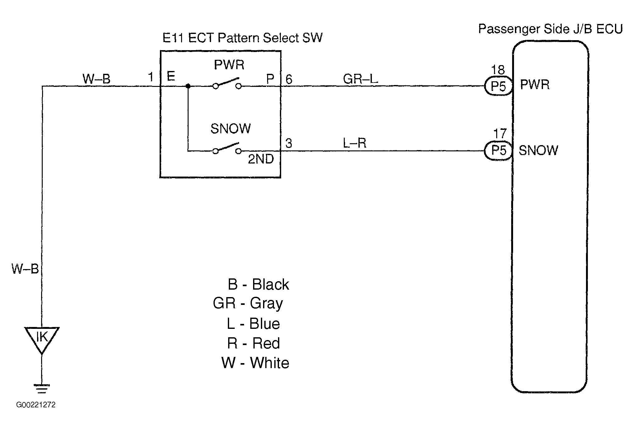
The passenger side junction block (body No. 3) ECU detects the state of the ECT (electronic control transmission) pattern select switch. For circuit diagram, see Fig 1.

Fig 1: Identifying Pattern Select Switch Circuit
G00221272Courtesy of © TOYOTA, LICENSE AGREEMENT TMS1002