LEMON Manuals: Even more car manuals for everyone: 1960-2025
Home >> Lexus >> 2003 >> LS 430 >> Repair and Diagnosis >> Body & Frame >> Windows >> Power Window Control System >> Inspection
April 5, 2026: LEMON Manuals is launched! Read the announcement.

Power Window Control System: Inspection

  1. INSPECT POWER WINDOW MASTER SWITCH CONTINUITY 

    Front Driver's Switch 

    CONNECTOR TERMINALS SPECIFIED CONDITION

    Switch position Tester connection Specified condition
    UP AUTO 6 - 20, 6 - 16 Continuity
    UP 6 - 20 Continuity
    OFF - No continuity
    DOWN 6 - 11 Continuity
    DOWN AUTO 6 - 11, 6 - 16 Continuity

    Front Passenger's Switch 

    CONNECTOR TERMINALS SPECIFIED CONDITION

    Switch position Tester connection Specified condition
    UP AUTO 3 - 14, 3 - 15 Continuity
    UP 3 - 14 Continuity
    OFF - No continuity
    DOWN 3 - 13 Continuity
    DOWN AUTO 3 - 13, 3 - 15 Continuity

    Rear Left Switch 

    CONNECTOR TERMINALS SPECIFIED CONDITION

    Switch position Tester connection Specified condition
    UP AUTO 5 - 14, 5 - 15 Continuity
    UP 5 - 14 Continuity
    OFF - No continuity
    DOWN 5 - 13 Continuity
    DOWN AUTO 5 - 13, 5 - 15 Continuity

    Rear Right Switch 

    CONNECTOR TERMINALS SPECIFIED CONDITION

    Switch position Tester connection Specified condition
    UP AUTO 4 - 14, 4 - 15 Continuity
    UP 4 - 14 Continuity
    OFF - No continuity
    DOWN 4 - 13 Continuity
    DOWN AUTO 4 - 13, 4 - 15 Continuity

    If continuity is not as specified, replace the master switch.

    Fig 1: Identifying Power Window Master Switch Terminals
    G03376949Courtesy of © TOYOTA, LICENSE AGREEMENT TMS1002
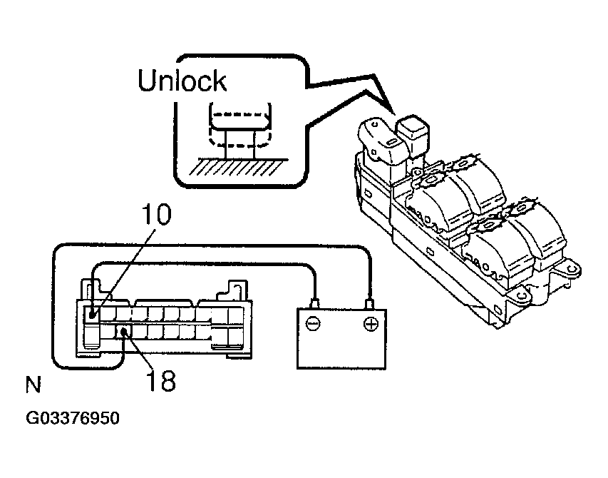
  2. INSPECT POWER WINDOW MASTER SWITCH ILLUMINATION 
    1. Set the window lock switch to the unlock position. 
    2. Connect the positive (+) lead from the battery to terminal 18 and the negative (-) lead to terminal 10, and check that all the illuminations light up. 
      Fig 2: Inspecting Power Window Master Switch Illumination (1 Of 2)
      G03376950Courtesy of © TOYOTA, LICENSE AGREEMENT TMS1002
    3. Set the window lock switch to the lock position.
    4. Connect the positive (+) lead from the battery to terminal 8 and the negative (-) lead to terminal 10, and check that all the illuminations does not light up.

      If operation is not as specified, replace the master switch.

      Fig 3: Inspecting Power Window Master Switch Illumination (2 Of 2)
      G03376951Courtesy of © TOYOTA, LICENSE AGREEMENT TMS1002
  3. Front Passenger's Door: INSPECT POWER WINDOW SWITCH CONTINUITY 
    CONNECTOR TERMINALS SPECIFIED CONDITION

    Switch position Tester connection Specified condition
    UP AUTO 3 - 8, 1 - 8 Continuity
    UP 1 - 8 Continuity
    OFF - No continuity
    DOWN 6 - 8 Continuity
    DOWN AUTO 3 - 8, 6 - 8 Continuity

    If continuity is not as specified, replace the switch.

    Fig 4: Identifying Front Passenger'S Door Switch Terminals
    G03376952Courtesy of © TOYOTA, LICENSE AGREEMENT TMS1002
  4. Driver's Door: INSPECT POWER WINDOW MOTOR OPERATION 
    1. Connect the positive (+) lead from the battery to terminal 5 and the negative (-) lead to terminal 4, and check that the motor turns clockwise.
      Fig 5: Inspecting Power Window Motor Operation (1 Of 2)
      G03376953Courtesy of © TOYOTA, LICENSE AGREEMENT TMS1002
    2. Reverse the polarity, check that the motor turns counterclockwise.

      If operation is not as specified, replace the motor.

      Fig 6: Inspecting Power Window Motor Operation (2 Of 2)
      G03376954Courtesy of © TOYOTA, LICENSE AGREEMENT TMS1002
  5. Front Passenger's Door: INSPECT POWER WINDOW MOTOR OPERATION 
    1. Connect the positive (+) lead from the battery to terminal 5 and the negative (-) lead to terminal 4, and check that the motor turns clockwise.
      Fig 7: Inspecting Power Window Motor Operation - Front Passenger'S Door (1 Of 2)
      G03376955Courtesy of © TOYOTA, LICENSE AGREEMENT TMS1002
    2. Reverse the polarity, check that the motor turns counterclockwise.

      If operation is not as specified, replace the motor.

      Fig 8: Inspecting Power Window Motor Operation - Front Passenger'S Door (2 Of 2)
      G03376956Courtesy of © TOYOTA, LICENSE AGREEMENT TMS1002
  6. Rear Left Side: INSPECT POWER WINDOW MOTOR OPERATION 
    1. Connect the positive (+) lead from the battery to terminal 1 and the negative (-) lead to terminal 2, and check that the motor turns clockwise.
      Fig 9: Inspecting Power Window Motor Operation - Rear Left Side (1 Of 2)
      G03376957Courtesy of © TOYOTA, LICENSE AGREEMENT TMS1002
    2. Reverse the polarity check that the motor turns counterclockwise.

      If operation is not as specified, replace the motor.

      HINT:

      Since the jam protection may not work properly be sure to conduct procedures described in "How to Reset Power Window Motor (Reset switch and pulse switch)" after this inspection.

      Fig 10: Inspecting Power Window Motor Operation - Rear Left Side (2 Of 2)
      G03376958Courtesy of © TOYOTA, LICENSE AGREEMENT TMS1002
  7. Rear Right Side: INSPECT POWER WINDOW MOTOR OPERATION 
    1. Connect the positive (+) lead from the battery to terminal 1 and the negative (-) lead to terminal 2, and check that the motor turns clockwise.
      Fig 11: Inspecting Power Window Motor Operation - Rear Right Side (1 Of 2)
      G03376959Courtesy of © TOYOTA, LICENSE AGREEMENT TMS1002
    2. Reverse the polarity check that the motor turns counterclockwise.

      If operation is not as specified, replace the motor.

      HINT:

      Since the jam protection may not work properly be sure to conduct procedures described in "How to Reset Power Window Motor (Reset switch and pulse switch)" after this inspection.

      Fig 12: Inspecting Power Window Motor Operation - Rear Right Side (2 Of 2)
      G03376960Courtesy of © TOYOTA, LICENSE AGREEMENT TMS1002
  8. Front Door: INSPECT POWER WINDOW MOTOR PTC THERMISTOR OPERATION 
    1. Disconnect the connector from the Driver door Window motor.
    2. Connect the positive (+) lead from the ammeter to terminal 5 on the wire harness side connector and the negative (-) lead to negative terminal of the battery.
    3. Connect the positive (+) lead from the battery to terminal 4 on the wire harness side connector, and raise the window to the fully position.
      Fig 13: Inspecting Power Window Motor Ptc Thermistor Operation - Front Door (1 Of 2)
      G03376961Courtesy of © TOYOTA, LICENSE AGREEMENT TMS1002
    4. Continue to apply voltage, and check that the current changes to less than 1 A within 4 to 90 seconds.
    5. Disconnect the leads from the terminals.
    6. Approximately 60 seconds later, connect the positive (+) lead from the battery to terminal 5 and the negative (-) lead to terminal 4, and check that the window begins to descend.

      If operation is not as specified, replace the motor.

      Fig 14: Inspecting Power Window Motor Ptc Thermistor Operation - Front Door (2 Of 2)
      G03376962Courtesy of © TOYOTA, LICENSE AGREEMENT TMS1002
  9. Rear LH Door: INSPECT POWER WINDOW MOTOR PTC THERMISTOR OPERATION 
    1. Disconnect the connector from the Rear LH door ECU.
    2. Connect the positive (+) lead from the ammeter to terminal 1 on the wire harness side connector and the negative (-) lead to negative terminal of the battery.
    3. Connect the positive (+) lead from the battery to terminal 2 on the wire harness side connector, and raise the window to the fully position.
      Fig 15: Inspecting Power Window Motor PTC Thermistor Operation - Rear LH Door (1 Of 2)
      G03376963Courtesy of © TOYOTA, LICENSE AGREEMENT TMS1002
    4. Continue to apply voltage and check that the current changes to less than 1 A within 4 to 90 seconds.
    5. Disconnect the leads from the terminals.
    6. Approximately 60 seconds later, connect the positive (+) lead from the battery to terminal 1 and the negative (-) lead to terminal 2, and check that the window begins to descend.

      If operation is not as specified, replace the motor.

      Fig 16: Inspecting Power Window Motor PTC Thermistor Operation - Rear LH Door (2 Of 2)
      G03376964Courtesy of © TOYOTA, LICENSE AGREEMENT TMS1002
  10. Rear RH Door: INSPECT POWER WINDOW MOTOR PTC THERMISTOR OPERATION 
    1. Disconnect the connector from the Rear RH door ECU.
    2. Connect the positive (+) lead from the ammeter to terminal 2 on the wire harness side connector and the negative (-) lead to negative terminal of the battery.
    3. Connect the positive (+) lead from the battery to terminal 1 on the wire harness side connector, and raise the window to the fully position.
      Fig 17: Inspecting Power Window Motor PTC Thermistor Operation - Rear RH Door (1 Of 2)
      G03376965Courtesy of © TOYOTA, LICENSE AGREEMENT TMS1002
    4. Continue to apply voltage and check that the current changes to less than 1 A within 4 to 90 seconds.
    5. Disconnect the leads from the terminals.
    6. Approximately 60 seconds later, connect the positive (+) lead from the battery to terminal 2 and the negative (-) lead to terminal 1, and check that the window begins to descend.

      If operation is not as specified, replace the motor.

      Fig 18: Inspecting Power Window Motor PTC Thermistor Operation - Rear RH Door (2 Of 2)
      G03376966Courtesy of © TOYOTA, LICENSE AGREEMENT TMS1002
  11. Driver's Door: INSPECT JAM PROTECTION LIMIT SWITCH OPERATION 
    1. Connect the positive (+) lead from the ohmmeter to terminal 2 and the negative (-) lead to terminal 3.
    2. Connect the positive (+) lead from the battery to terminal 4 and the negative (-) lead to terminal 5.
    3. Check that the continuity exists when the window goes up.
      Fig 19: Inspecting JAM Protection Limit Switch Operation - Driver's Door (1 Of 2)
      G03376967Courtesy of © TOYOTA, LICENSE AGREEMENT TMS1002
    4. Check that the no continuity exists when the window is in the fully closed position.
      NOTE: If connecting the wire harness wrongly, the sensor might be damaged so caution is necessary.
      Fig 20: Inspecting JAM Protection Limit Switch Operation - Driver's Door (2 Of 2)
      G03376968Courtesy of © TOYOTA, LICENSE AGREEMENT TMS1002
  12. Driver's Door: INSPECT JAM PROTECTION PULSE SWITCH OPERATION 
    1. Connect the positive (+) lead from the TOYOTA electrical tester to terminal 6 and the negative (-) lead to terminal 3.
    2. Connect the positive (+) lead from the battery to terminal 4 and the negative (-) lead to terminal 5.
    3. Check that pulse is generated during the motor running.
      Fig 21: Inspecting JAM Protection Pulse Switch Operation - Driver's Door (1 Of 2)
      G03376969Courtesy of © TOYOTA, LICENSE AGREEMENT TMS1002
    4. Reverse the polarity and check that pulse is generated.

      If operation is not as specified, replace the motor.

      NOTE: If connecting the wire harness wrongly, the sensor might be damaged so caution is necessary.
      Fig 22: Inspecting JAM Protection Pulse Switch Operation - Driver's Door (2 Of 2)
      G03376970Courtesy of © TOYOTA, LICENSE AGREEMENT TMS1002
  13. Passenger's Door: INSPECT JAM PROTECTION LIMIT SWITCH OPERATION 
    1. Connect the positive (+) lead from the ohmmeter to terminal 6 and the negative (-) lead to terminal 1.
    2. Connect the positive (+) lead from the battery to terminal 4 and the negative (-) lead to terminal 5.
    3. Check that the continuity exists when the window goes up.
      Fig 23: Inspecting JAM Protection Limit Switch Operation - Passenger's Door (1 Of 2)
      G03376971Courtesy of © TOYOTA, LICENSE AGREEMENT TMS1002
    4. Check that the no continuity exists when the window is in the fully closed position.

      If operation is not as specified, replace the motor.

      NOTE: If connecting the wire harness wrongly, the sensor might be damaged so caution is necessary.
      Fig 24: Inspecting JAM Protection Limit Switch Operation - Passenger's Door (2 Of 2)
      G03376972Courtesy of © TOYOTA, LICENSE AGREEMENT TMS1002
  14. Passenger's Door: INSPECT JAM PROTECTION PULSE SWITCH OPERATION 
    1. Connect the positive (+) lead from the TOYOTA electrical tester to terminal 1 and the negative (-) lead to terminal 3.
    2. Connect the positive (+) lead from the battery to terminal 4 and the negative (-) lead to terminal 5.
    3. Check that pulse is generated during the motor running.
      Fig 25: Inspecting JAM Protection Pulse Switch Operation - Passenger's Door (1 Of 2)
      G03376973Courtesy of © TOYOTA, LICENSE AGREEMENT TMS1002
    4. Reverse the polarity and check that pulse is generated.

      If operation is not as specified, replace the motor.

      NOTE: If connecting the wire harness wrongly, the sensor might be damaged so caution is necessary.
      Fig 26: Inspecting JAM Protection Pulse Switch Operation - Passenger's Door (2 Of 2)
      G03376974Courtesy of © TOYOTA, LICENSE AGREEMENT TMS1002
  15. Rear LH Door: INSPECT JAM PROTECTION LIMIT SWITCH 
    1. Connect the positive (+) lead from the ohmmeter to terminal 4 and the negative (-) lead to terminal 5.
    2. Connect the positive (+) lead from the battery to terminal 2 and the negative (-) lead to terminal 1.
    3. Check that the continuity exists when the window goes up.
      Fig 27: Inspecting JAM Protection Limit Switch - Rear LH Door (1 Of 2)
      G03376975Courtesy of © TOYOTA, LICENSE AGREEMENT TMS1002
    4. Check that the no continuity exists when the window is in the fully closed position.

      If operation is not as specified, replace the motor.

      NOTE: If connecting the wire harness wrongly, the sensor might be damaged so caution is necessary.
      Fig 28: Inspecting JAM Protection Limit Switch - Rear LH Door (2 Of 2)
      G03376976Courtesy of © TOYOTA, LICENSE AGREEMENT TMS1002
  16. Rear LH Door: INSPECT JAM PROTECTION PULSE SWITCH 
    1. Connect the positive (+) lead from the LEXUS electrical tester to terminal 3 and the negative (-) lead to terminal 5.
    2. Connect the positive (+) lead from the battery to terminal 2 and the negative (-) lead to terminal 1.
    3. Check that pulse is generated during the motor running.
      Fig 29: Inspecting JAM Protection Pulse Switch - Rear LH Door (1 Of 2)
      G03376977Courtesy of © TOYOTA, LICENSE AGREEMENT TMS1002
    4. Reverse the polarity and check that pulse is generated.

      If operation is not as specified, replace the motor.

      NOTE: If connecting the wire harness wrongly, the sensor might be damaged so caution is necessary.
      Fig 30: Inspecting JAM Protection Pulse Switch - Rear LH Door (2 Of 2)
      G03376978Courtesy of © TOYOTA, LICENSE AGREEMENT TMS1002
  17. Rear RH Door: INSPECT JAM PROTECTION LIMIT SWITCH 
    1. Connect the positive (+) lead from the ohmmeter to terminal 4 and the negative (-) lead to terminal 5.
    2. Connect the positive (+) lead from the battery to terminal 1 and the negative (-) lead to terminal 2.
    3. Check that the continuity exists when the window goes down.
      Fig 31: Inspecting JAM Protection Limit Switch - Rear RH Door (1 Of 2)
      G03376979Courtesy of © TOYOTA, LICENSE AGREEMENT TMS1002
    4. Check that the no continuity exists when the window is in the fully opened position.

      If operation is not as specified, replace the motor.

      NOTE: If connecting the wire harness wrongly, the sensor might be damaged so caution is necessary.
      Fig 32: Inspecting JAM Protection Limit Switch - Rear RH Door (2 Of 2)
      G03376980Courtesy of © TOYOTA, LICENSE AGREEMENT TMS1002
  18. Rear RH Door: INSPECT JAM PROTECTION PULSE SWITCH 
    1. Connect the positive (+) lead from the LEXUS electrical tester to terminal 3 and the negative (-) lead to terminal 5.
    2. Connect the positive (+) lead from the battery to terminal 1 and the negative (-) lead to terminal 2.
    3. Check that pulse is generated during the motor running.
      Fig 33: Inspecting JAM Protection Pulse Switch - Rear RH Door (1 Of 2)
      G03376981Courtesy of © TOYOTA, LICENSE AGREEMENT TMS1002
    4. Reverse the polarity and check that pulse is generated.

      If operation is not as specified, replace the motor.

      NOTE: If connecting the wire harness wrongly, the sensor might be damaged so caution is necessary.
  19. INSPECT JAM PROTECTION FUNCTION 
    NOTE: Never, ever be caught any part of your body when checking.
    Fig 34: Inspecting JAM Protection Pulse Switch - Rear RH Door (2 Of 2)
    G03376982Courtesy of © TOYOTA, LICENSE AGREEMENT TMS1002

    HINT:

    In case of performing resetting of the limit switch, do checking after repeating up and down of the glass with automatic operation.

    1. Confirmation of AUTO up operation:

      Confirm that the window will be fully close with AUTO up operation.

    2. Checking of the operation of the jam protection function:
      1. Move up the window with AUTO up operation and check that the window will go down when it touches the handle of the hammer stetted.
      2. Confirm that the window will then stop going down about 200 mm.

      HINT:

      In case of removing the glass, glass guide, regulator and etc. be sure to perform checking of the jam protection function. If the jam protection is not function properly, adjust power window motor reset switch and pulse switch.