LEMON Manuals: Even more car manuals for everyone: 1960-2025
Home >> Lexus >> 2003 >> LS 430 >> Repair and Diagnosis >> Electrical >> Body Electrical >> Overhead Junction Block >> Components
April 5, 2026: LEMON Manuals is launched! Read the announcement.

Overhead Junction Block: Components

Fig 1: Identifying Circuit Plate Components
G03377161Courtesy of © TOYOTA, LICENSE AGREEMENT TMS1002
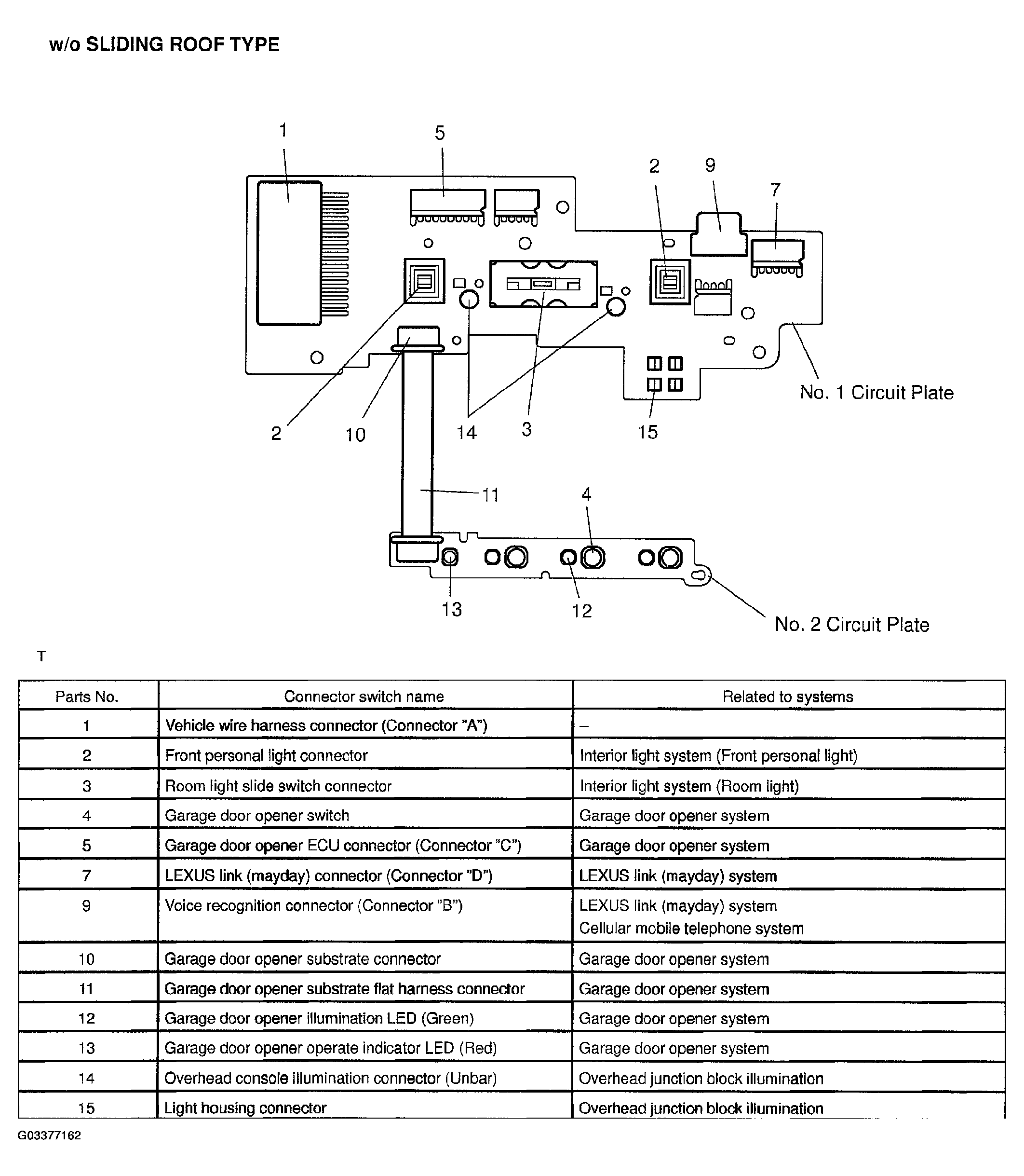
Fig 2: Identifying Circuit Plate Components - W\O Sliding Roof Type
G03377162Courtesy of © TOYOTA, LICENSE AGREEMENT TMS1002
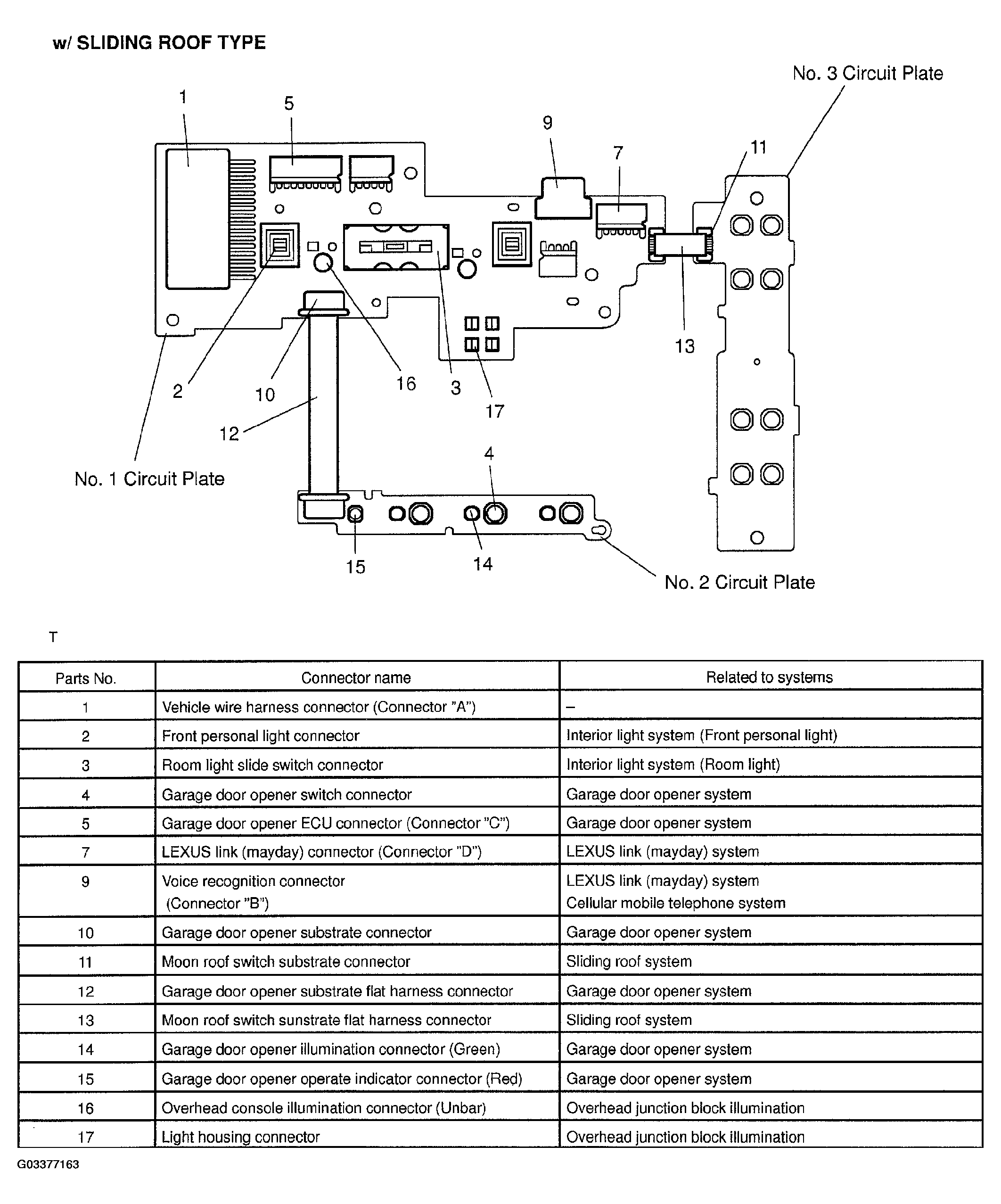
Fig 3: Identifying Circuit Plate Components - W\ Sliding Roof Type
G03377163Courtesy of © TOYOTA, LICENSE AGREEMENT TMS1002