LEMON Manuals: Even more car manuals for everyone: 1960-2025
Home >> Lexus >> 2003 >> LS 430 >> Repair and Diagnosis >> External Pages >> Different car >> Section 384 (Power Window Control System) >> Power Window Control System >> Power Window Control System Inspection >> (1) - Inspect One Touch Power Window System (Using An Ammeter)
April 5, 2026: LEMON Manuals is launched! Read the announcement.

(1) - Inspect One Touch Power Window System (Using An Ammeter)

WARNING: This page is about a different car, the 2002 Toyota Prius. However, it is still accessible from the selected car via links, so may be relevant.
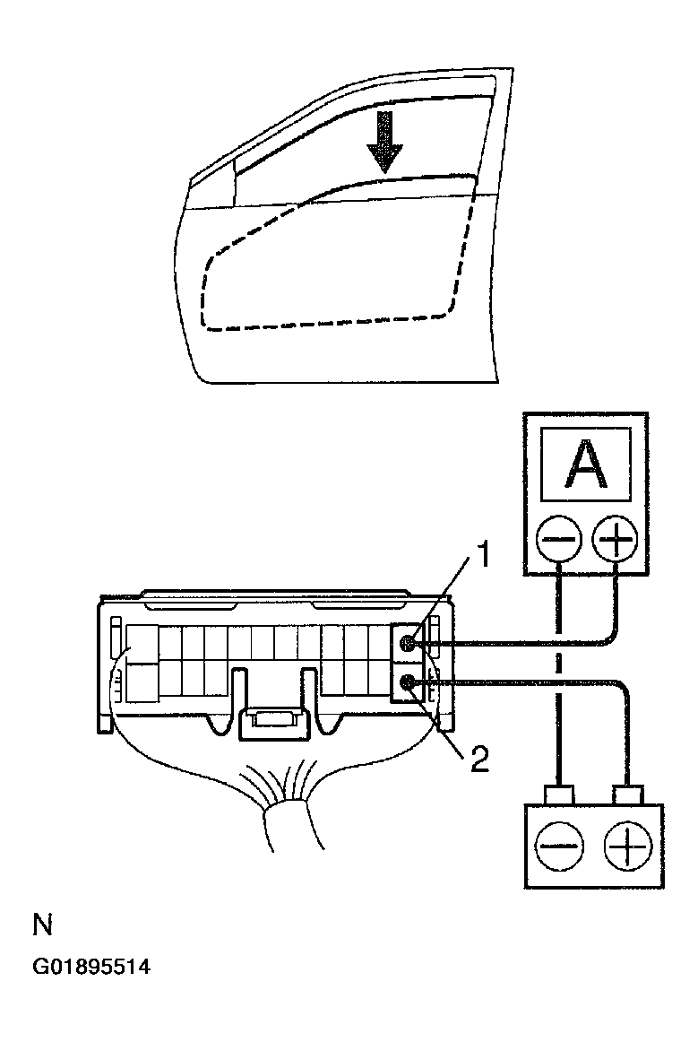
  1. Disconnect the connector from the master switch.
  2. Connect the positive (+) lead from the ammeter to terminal 1 on the wire harness side connector and the negative (-) lead to negative (-) terminal of the battery.
    Fig 1: Testing One Touch Power Window System
    G01895514Courtesy of © TOYOTA, LICENSE AGREEMENT TMS1002
  3. Connect the positive (+) lead from the battery to terminal 2 on the wire harness side connector.
  4. As the window goes down, check that the current flow is approximately 7 A.
  5. NOTE:

    The PTC opens some 4-90 seconds after the window stops going down, so that check must be made before the PTC operates.

    If the operation is as specified, replace the master switch.

  6. Check that the current increases up to approximately 14.5 A or more when the window stops going down.