LEMON Manuals: Even more car manuals for everyone: 1960-2025
Home >> Lexus >> 2004 >> ES 330 >> Repair and Diagnosis >> General Information >> Identification >> Introduction >> Identification Information >> Vehicle Identification And Serial Numbers
April 5, 2026: LEMON Manuals is launched! Read the announcement.

Vehicle Identification And Serial Numbers

  1. VEHICLE IDENTIFICATION NUMBER 
    1. The vehicle identification number is stamped on the vehicle identification number plate and the certification label, as shown in Fig 1.
      1. A: Vehicle Identification Number Plate 
      2. B: Certification Label 
        Fig 1: Identifying Vehicle Identification Number Location
        G03483984Courtesy of © TOYOTA, LICENSE AGREEMENT TMS1002
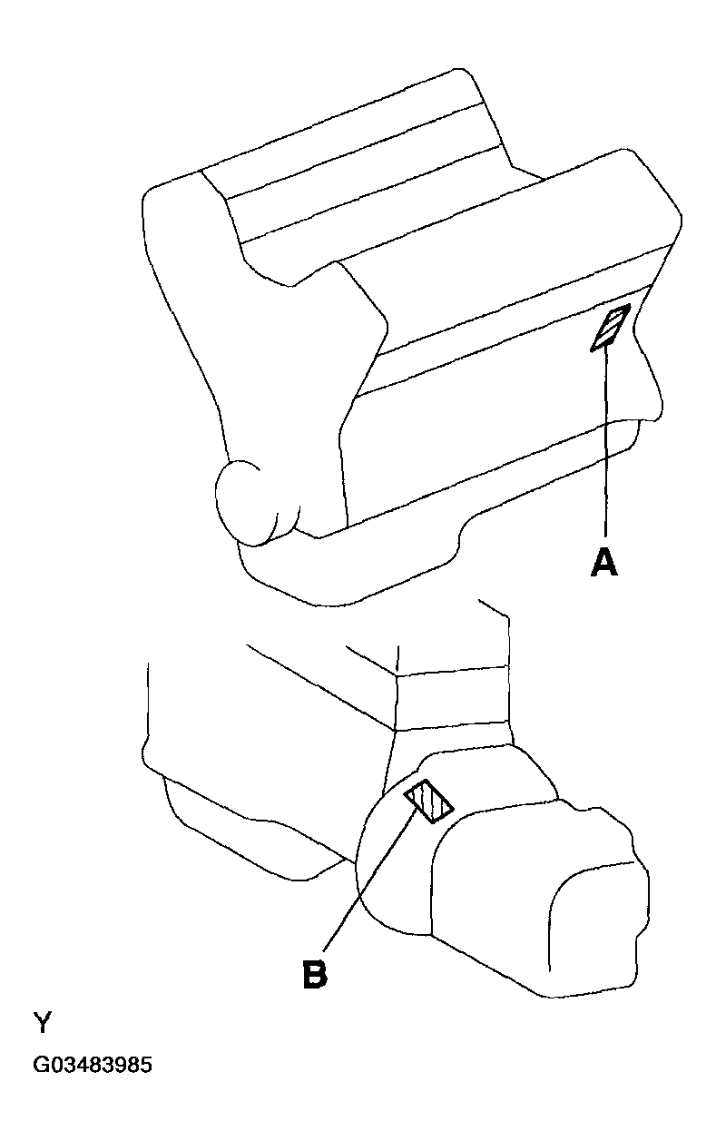
  2. ENGINE SERIAL NUMBER AND TRANSAXLE SERIAL NUMBER 
    1. The engine serial number is stamped on the cylinder block of the engine, and the transaxle serial number is stamped on the housing, as shown in Fig 2.
      1. A: Engine Serial Number 
      2. B: Transaxle Serial Number 
        Fig 2: Identifying Engine Serial Number And Transaxle Serial Number
        G03483985Courtesy of © TOYOTA, LICENSE AGREEMENT TMS1002