LEMON Manuals: Even more car manuals for everyone: 1960-2025
Home >> Lexus >> 2004 >> LS 430 >> Repair and Diagnosis >> Engine Performance >> System >> Engine Control System >> SFI System >> Inspection
April 5, 2026: LEMON Manuals is launched! Read the announcement.

SFI System: Inspection

  1. INSPECT MASS AIR FLOW METER 
    1. Check the output voltage.
      1. Apply battery voltage across terminals 1 (+B) and 2 (E2G).
      2. Using a voltmeter, connect the positive (+) tester probe to terminal VG, and negative (-) tester probe to terminal E2G.
      3. Blow air in to the MAF meter, and check that the voltage fluctuates.
    2. Measure the resistance between terminals 4 (THA) and 5 (E2).

    Standard: 

    Fig 1: Terminals 4 (THA) And 5 (E2) Resistance Chart
    G01049374Courtesy of © TOYOTA, LICENSE AGREEMENT TMS1002

    If the result is not as specified, replace the MAF meter.

    Fig 2: Inspecting Mass Air Flow Meter
    G01049375Courtesy of © TOYOTA, LICENSE AGREEMENT TMS1002
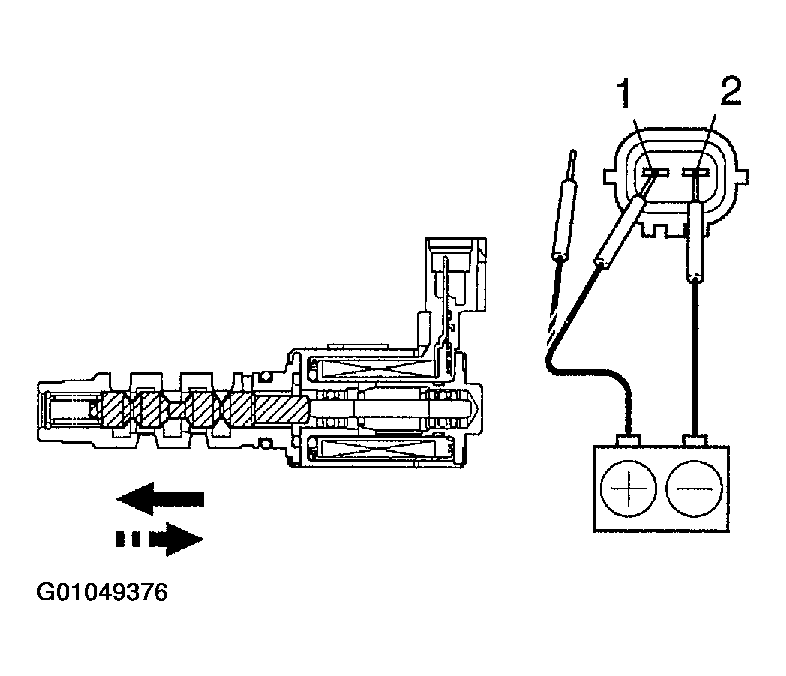
  2. INSPECT CAMSHAFT TIMING OIL CONTROL VALVE ASSY 
    1. Using an ohmmeter, measure the resistance between the terminals.

      Standard: 6.9 to 7.9 Ω at 20°C (68°F) 

    2. Connect the battery's positive (+) lead to terminal 1 and negative (-) lead to terminal 2. Check the movement of the valve.
      Fig 3: Valve Movement Chart
      G01049376Courtesy of © TOYOTA, LICENSE AGREEMENT TMS1002

      If operation is not as specified, replace the valve.

      Fig 4: Inspecting Camshaft Timing Oil Control Valve Assy
      G01049377Courtesy of © TOYOTA, LICENSE AGREEMENT TMS1002
  3. INSPECT ACCELERATOR PEDAL ROD ASSY 
    1. Measure the resistance between the terminals.

    Standard: 

    Fig 5: Terminals Resistance Chart
    G01049378Courtesy of © TOYOTA, LICENSE AGREEMENT TMS1002

    If the result is not as specified, replace the pedal assy.

    Fig 6: Identifying Accelerator Pedal Rod Assy Connector Terminals
    G01049379Courtesy of © TOYOTA, LICENSE AGREEMENT TMS1002
  4. INSPECT THROTTLE BODY ASSY 
    1. Measure the resistance between the terminals.

    Standard: 

    Fig 7: Terminals Resistance Chart
    G01049380Courtesy of © TOYOTA, LICENSE AGREEMENT TMS1002

    If the result is not as specified, replace the throttle body assy.

    Fig 8: Identifying Throttle Body Assy Connector Terminals
    G01049381Courtesy of © TOYOTA, LICENSE AGREEMENT TMS1002
  5. INSPECT ENGINE COOLANT TEMPERATURE SENSOR 
    1. Measure the resistance between terminals 1 and 2.

    Standard: 

    Fig 9: Coolant Temperature Sensor Terminals 1 And 2 Resistance Chart
    G01049382Courtesy of © TOYOTA, LICENSE AGREEMENT TMS1002

    If the result is not as specified, replace the sensor.

    NOTE: If checking the ECT sensor in the water, keep the terminals dry. After the check, wipe the sensor dry.
    Fig 10: Inspecting Engine Coolant Temperature Sensor
    G01049383Courtesy of © TOYOTA, LICENSE AGREEMENT TMS1002
  6. INSPECT KNOCK SENSOR 
    1. Using an ohmmeter, measure the resistance between the terminals.

      Standard: 120 to 280 kΩ at 20°C (68°F) 

      If the result is not as specified, replace the sensor.

      Fig 11: Measuring Resistance Between Knock Sensor Terminals
      G01049384Courtesy of © TOYOTA, LICENSE AGREEMENT TMS1002
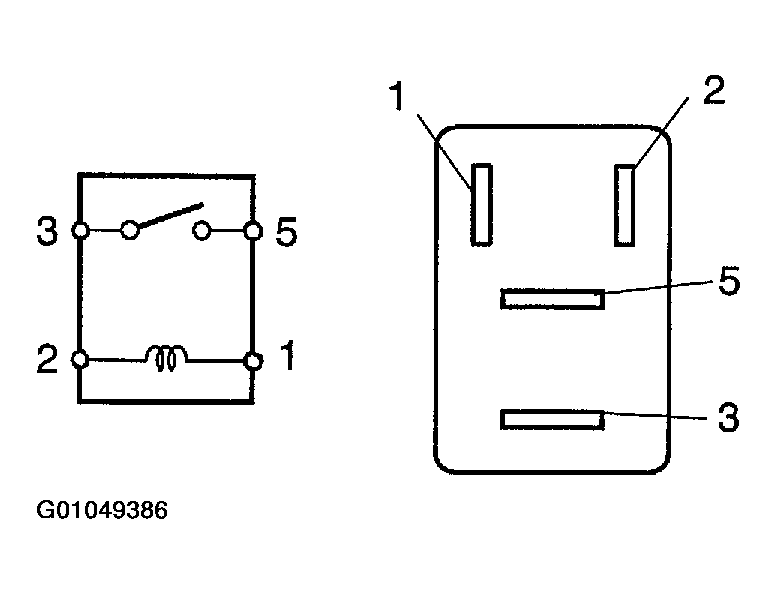
  7. INSPECT RELAY (Marking: EFI, C/OPN) 
    1. Remove the EFI and C/OPN relays from the engine room R/B.
    2. Measure the resistance of the relay.

    Standard: 

    Fig 12: Relay Resistance Chart
    G01049385Courtesy of © TOYOTA, LICENSE AGREEMENT TMS1002

    If the result is not as specified, replace the relay.

    Fig 13: Inspecting Relay (Marking: EFI, C/OPN)
    G01049386Courtesy of © TOYOTA, LICENSE AGREEMENT TMS1002
  8. INSPECT RELAY (Marking: F/PMP) 
    1. Remove the F/PMP relay from the engine room R/B.
    2. Measure the resistance of the F/PMP relay.

    Standard: 

    Fig 14: F/PMP Relay Resistance Chart
    G01049387Courtesy of © TOYOTA, LICENSE AGREEMENT TMS1002

    If the result is not as specified, replace the relay.

    Fig 15: Inspecting Relay (Marking: F/PMP)
    G01049388Courtesy of © TOYOTA, LICENSE AGREEMENT TMS1002