LEMON Manuals: Even more car manuals for everyone: 1960-2025
Home >> Lexus >> 2004 >> SC 430 >> Repair and Diagnosis >> External Pages >> Different car >> Section 40 (Engine Controls - Self-Diagnostics) >> Diagnostic Tests >> DTC P0441: Incorrect EVAP Purge Flow Or DTC P0446: EVAP System Vent Control Fault >> Diagnosis & Repair (Using Lexus Scan Tool)
April 5, 2026: LEMON Manuals is launched! Read the announcement.

Diagnosis & Repair (Using Lexus Scan Tool)

WARNING: This page is about a different car, the 2003 Lexus LS 430. However, it is still accessible from the selected car via links, so may be relevant.
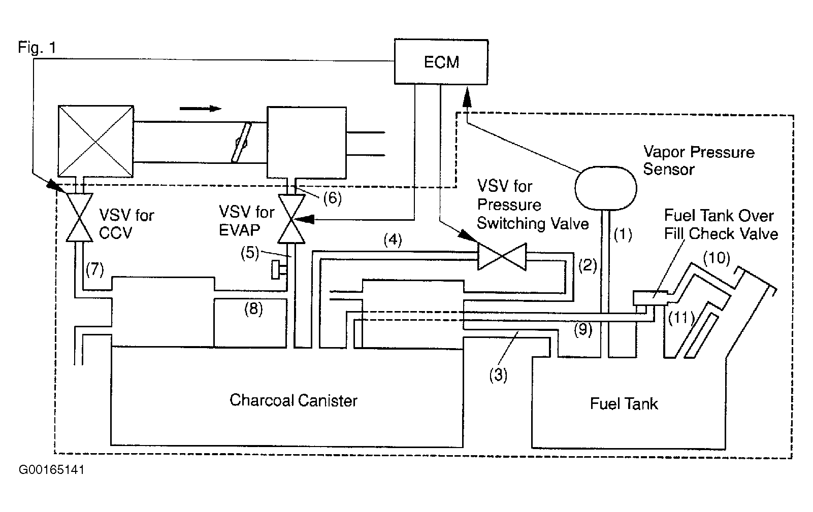
  1. Connect the hand-held tester to the DLC3. Select ENHANCED OBD2/SYSTEM CHECK/EVAP SYS CHECK (or EVAP LEAK TEST) mode on the hand-held tester. Perform EVAP SYS CHECK (or EVAP LEAK TEST). If scan tool detects a leak on the fuel tank side, go to next step. If scan tool detects a leak on the canister side, go to step  24. If scan tool detects a leak on the EVAP system, go to step  42.
  2. Check if fuel tank cap is an original manufacturer's cap. If fuel tank cap is an original manufacturer's cap, go to next step. If fuel tank cap is not an original manufacturer's cap, replace cap with a manufacturer's cap.
  3. Check if fuel cap is installed properly. Reinstall cap as necessary. If fuel cap is installed properly, go to next step.
  4. Check for damaged fuel tank cap and gasket. Replace fuel tank cap as necessary. If fuel tank cap and gasket are okay, go to next step.
  5. Remove fuel tank cap. Visually inspect fuel tank filler neck for damage. Replace filler neck as necessary. If filler neck is okay, go to next step.
  6. Select the ENHANCED OBD2/ACTIVE TEST mode on the hand-held tester. Disconnect the vacuum hose for the VSV for the EVAP from the charcoal canister. Start the engine. Select the item EVAP VSV (ALON)/ALL in the ACTIVE TEST and operate EVAP VSV (press right or left button). When VSV for EVAP is operated by the hand-held tester, check whether the disconnected hose applies suction to your finger. When VSV is ON, disconnected hose applies suction to your finger. When VSV is OFF, disconnected hose applies no suction to your finger. See Fig 1. If vacuum hoses are okay, go to step  10. If vacuum hoses are not okay, go to next step.
    Fig 1: Checking VSV for EVAP
    G00165143Courtesy of © TOYOTA, LICENSE AGREEMENT TMS1002
  7. Check vacuum hose between intake manifold and VSV for EVAP, and VSV for EVAP and charcoal canister for correct installation and damage. Repair as necessary. If hose is okay, go to next step.
  8. Remove EVAP VSV. Using ohmmeter, measure resistance between VSV terminals. With VSV temperature at 68°F (20°C), resistance should be 30-34 ohms. Measure resistance between each terminal and body of valve. Resistance should be infinite. If resistance is as specified, using fused jumper wires, apply battery voltage and ground to EVAP VSV terminals. Apply compressed air to EVAP VSV port "E". Air should flow from port "F". See Figure. Disconnect fused jumper wires. Air should not flow from port "F". If EVAP VSV does not operate as specified, or if resistance was not as specified, replace EVAP VSV and charcoal canister. After replacing components, clean vacuum hoses between EVAP VSV and throttle body, and between EVAP VSV and charcoal canister. If EVAP VSV operates as specified, go to next step. Replace as necessary. If okay, go to next step.
  9. Check for open and short in harness and connector between EFI main relay and VSV for EVAP, and VSV for EVAP and ECM. Repair as necessary. If okay, check and replace ECM.
  10. Disconnect the vacuum hose for the VSV for the CCV from the charcoal canister. Turn the ignition switch ON and push the hand-held tester switch ON. Select the ENHANCED OBD2/ACTIVE TEST mode on the hand-held tester. Select the item CAN CTRL VSV/ALL in the ACTIVE TEST and operate CAN CTRL VSV (press the right or left button). Check VSV operation when it is operated by hand-held tester. When VSV is ON, air does not flow from port "E" to port "F". When VSV is OFF, air from port "E" flows out through port "F". See Fig 2. If okay, go to step  14. If not okay, go to next step.
    Fig 2: Checking VSV for CCV
    G00165144Courtesy of © TOYOTA, LICENSE AGREEMENT TMS1002
  11. Check vacuum hose between VSV for CCV and charcoal canister. Check that the vacuum hose is connected correctly. Check for looseness and disconnection, or for cracks, hole damage and blockage. Repair as necessary. If okay, go to next step.
  12. Check canister closed valve VSV. Using ohmmeter, measure resistance between VSV terminals. With VSV temperature at 68°F (20°C), resistance should be 25-30 ohms. Measure resistance between each terminal and body of valve. Resistance should be infinite. If resistance is as specified, apply air to EVAP VSV port "A". Air should flow from port "B". See Figure. Using fused jumper wires, apply battery voltage and ground to VSV terminals. No air should flow from port "B". If VSV does not operate as specified, or if resistance was not as specified, replace VSV. If VSV is okay, go to next step.
  13. Check for open and short in harness and connector between EFI main relay and VSV for CCV, and VSV for CCV and ECM. Repair or replace as necessary. If okay, check and replace ECM.
  14. Turn the ignition switch ON and push the hand-held tester main switch ON. Select the ENHANCED OBD2/ACTIVE TEST mode the hand-held tester. Select the item TANK BYPASS VSV/ALL in the ACTIVE TEST and operate TANK BYPASS VSV (press right or left button). Check VSV operation when it is operated by the hand-held tester. When VSV is ON, air from port "E" flows out through port "F". When VSV is OFF, air does not flow from port "E" to port "F". See Fig 3. If okay, go to step  17. If not okay, go to next step.
    Fig 3: Checking VSV For Pressure Switching Valve
    G00165145Courtesy of © TOYOTA, LICENSE AGREEMENT TMS1002
  15. Check operation of VSV for pressure switching valve. Using ohmmeter, measure resistance between VSV terminals. With VSV temperature at 68°F (20°C), resistance should be 37-44 ohms. Measure resistance between each terminal and body of valve. Resistance should be infinite. If resistance is as specified, apply air to EVAP VSV port "E". Air should not flow from port "F". Using fused jumper wires, apply battery voltage and ground to VSV terminals. Air should flow from port "F". See Figure. If VSV does not operate as specified, or if resistance was not as specified, replace VSV. If VSV is okay, go to next step.
  16. Check for open or short circuit in wiring harness and connector between EFI main relay, VSV for pressure switching valve, and VSV for pressure switching valve and ECM. See ENGINE PERFORMANCE in SYSTEM WIRING DIAGRAMS article in ELECTRICAL. Repair as necessary. If wiring harness and connector are okay, replace ECM and retest.
  17. Check whether hose close to fuel tank has been modified, and check whether there are any signs of any accident near fuel tank. Check for cracks, deformation and loose connection of fuel tank, fuel tank filler pipe, and hoses and tubes around fuel tank. See Fig 4. Repair or replace as necessary. If okay, go to next step.
    Fig 4: Checking For Leaks On EVAP System
    G00165146Courtesy of © TOYOTA, LICENSE AGREEMENT TMS1002
  18. Check vacuum hoses between vapor pressure sensor and fuel tank, charcoal canister and VSV for pressure switching valve. Check that the vacuum hose is connected correctly. Check the vacuum hose for looseness and disconnection. Check the vacuum hose for cracks, hole and damage. Replace vacuum hose as necessary. If vacuum hose is okay, go to next step.
  19. Check hose and tube between fuel tank and charcoal canister. Check for proper connection of the fuel tank and fuel evaporation pipe, fuel evaporation pipe and fuel tube under the floor, fuel tube under the floor and charcoal canister. Check the hose and tube for cracks, hole and damage. Repair as necessary. If okay, go to next step.
  20. Remove the engine room ECU cover. Turn the ignition switch ON. Measure the voltage between terminals VPTK and EPTK of ECM connector. See Fig 5. If voltage is 4.5-5.5 volts, go to next step. If voltage is not 4.5-5.5 volts, check and replace ECM.
    Fig 5: Checking Voltage At ECM Connector Terminals VPTK & EPTK
    G00165147Courtesy of © TOYOTA, LICENSE AGREEMENT TMS1002
  21. Measure the voltage between terminals PTNK and EPTK of the ECM connectors. Disconnect the vacuum hose from the vapor pressure sensor. See Fig 6. Using the MITYVAC (hand-held vacuum pump), apply a vacuum of 1.18 in. Hg (4.0 kPa) to the vapor pressure sensor. Vacuum applied to vapor pressure sensor must be less than 19.7 in. Hg (66.7 kPa). Voltage should be 2.9-3.7 volts with vacuum hose disconnected or 0.5 volts or less with vacuum applied. If okay, go to step  23. If not okay, go to next step.
    Fig 6: Checking Voltage At PTNK & EPTK Terminals
    G00165148Courtesy of © TOYOTA, LICENSE AGREEMENT TMS1002
  22. Check for an open or short in wiring harness between vapor pressure sensor and ECM. Repair or replace as necessary. If okay, replace vapor pressure sensor.
  23. Check fuel tank and fuel tank over fill check valve for cracks and damage. Replace as necessary. If okay, it is likely that vehicle user did not properly close fuel tank cap. Explain to customer how to properly install fuel tank cap.
  24. Connect the hand-held tester to the DLC3. Select the ACTIVE TEST mode on the hand-held tester. Disconnect the vacuum hose for the VSV for the EVAP from the charcoal canister. Start the engine. When VSV for the EVAP is operated by the hand-held tester, check whether the disconnected hose applies suction to your finger. When VSV is ON, disconnected hose applies suction to your finger. See Fig 7. When VSV is OFF, disconnected hose applies no suction to your finger. If okay, go to step  28. If not okay, go to next step.
    Fig 7: Testing VSV For EVAP
    G00024252Courtesy of © TOYOTA, LICENSE AGREEMENT TMS1002
  25. Check vacuum hose between intake manifold and VSV for EVAP, and VSV for EVAP and charcoal canister. Check that the vacuum hose is connected correctly. Check the vacuum hose for looseness and disconnection. Check the vacuum hose for cracks, holes, damage and blockage. Repair as necessary. If no problem is indicated, go to next step.
  26. Remove EVAP VSV. Using ohmmeter, measure resistance between VSV terminals. With VSV temperature at 68°F (20°C), resistance should be 30-34 ohms. Measure resistance between each terminal and body of valve. Resistance should be infinite. If resistance is as specified, using fused jumper wires, apply battery voltage and ground to EVAP VSV terminals. Apply compressed air to EVAP VSV port "E". Air should flow from port "F". See Figure. Disconnect fused jumper wires. Air should not flow from port "F". If EVAP VSV does not operate as specified, or if resistance was not as specified, replace EVAP VSV and charcoal canister. After replacing components, clean vacuum hoses between EVAP VSV and throttle body, and between EVAP VSV and charcoal canister. If EVAP VSV operates as specified, go to next step. Replace as necessary. If okay, go to next step.
  27. Check for open and short in harness and connector between EFI main relay and VSV for EVAP, and VSV for EVAP and ECM. Replace harness or connector as necessary. If okay, check and replace ECM.
  28. Disconnect the vacuum hose for the VSV for the CCV from the charcoal canister. Turn the ignition switch ON and push the hand-held tester main switch ON. Select the ENHANCED OBD2/ACTIVE TEST mode on the hand-held tester. Select the item CAN CTRL VSV/ALL in the ACTIVE TEST and operate CAN CTRL VSV (press right or left button). Check the VSV operation when it is operated by the hand-held tester. If VSV is ON, air does not flow from port "E" to port "F". If VSV is OFF, air from port "E" flows out through port "F". See Fig 2. If okay, go to step  32. If not okay, go to next step.
  29. Check vacuum hose between VSV for CCV and charcoal canister. Check that the vacuum hose is connected correctly. Check the vacuum hose for looseness and disconnection. Check the vacuum hose for cracks, hole damage and blockage. Repair as necessary. If okay, go to next step.
  30. Check canister closed valve VSV. Using ohmmeter, measure resistance between VSV terminals. With VSV temperature at 68°F (20°C), resistance should be 25-30 ohms. Measure resistance between each terminal and body of valve. Resistance should be infinite. If resistance is as specified, apply air to EVAP VSV port "A". Air should flow from port "B". See Figure. Using fused jumper wires, apply battery voltage and ground to VSV terminals. No air should flow from port "B". If VSV does not operate as specified, or if resistance was not as specified, replace VSV. If VSV is okay, go to next step.
  31. Check for open and short in harness and connector between EFI main relay and VSV for CCV, and VSV for CCV and ECM. Replace harness or connector as necessary. If okay, check and replace ECM.
  32. Select the ENHANCED OBD2/ACTIVE TEST mode on the hand-held tester. Select the item TANK BYPASS VSV/ALL in the ACTIVE TEST and operate TANK BYPASS VSV (press the right or left button). Turn the ignition switch ON and push the hand-held tester main switch ON. Check the VSV operation when it is operated by the hand-held tester. If VSV is ON, air from port "E" flows out through port "F". If VSV is OFF, air does not flow from port "E" to port "F". See Fig 8. If okay, go to step  35. If not okay, go to next step.
    Fig 8: Testing Pressure Switching Valve VSV
    G00024253Courtesy of © TOYOTA, LICENSE AGREEMENT TMS1002
  33. Check operation of VSV for pressure switching valve. Using ohmmeter, measure resistance between VSV terminals. With VSV temperature at 68°F (20°C), resistance should be 37-44 ohms. Measure resistance between each terminal and body of valve. Resistance should be infinite. If resistance is as specified, apply air to EVAP VSV port "E". Air should not flow from port "F". Using fused jumper wires, apply battery voltage and ground to VSV terminals. Air should flow from port "F". See Figure. If VSV does not operate as specified, or if resistance was not as specified, replace VSV. If VSV is okay, go to next step.
  34. Check for open and short in harness and connector between EFI main relay and VSV for pressure switching valve, and VSV for pressure switching valve and ECM. See ENGINE PERFORMANCE in SYSTEM WIRING DIAGRAMS article in ELECTRICAL. Repair as necessary. If okay, check and replace ECM.
  35. Check whether hose close to fuel tank has been modified, and check whether there are signs of any accident near fuel tank. Check for cracks, deformation and loose connection of fuel tank, fuel tank filler pipe, or hoses and tubes around fuel tank. See Fig 4. Repair as necessary. If okay, go to next step.
  36. Check vacuum hoses 4, 5, 7 and 8. See Figure. Check that the vacuum hoses are connected correctly. Check vacuum hoses for looseness and disconnection. Check vacuum hoses for cracks, holes, damage and blockage. Repair as necessary. If okay, go to next step.
  37. Check hose and tube between fuel tank and charcoal canister. Check for proper connection of the fuel tank and fuel evaporation pipe, fuel evaporation pipe and fuel tube under the floor, fuel tube under the floor and charcoal canister. Check the hose and tube for cracks, holes and damage. Repair as necessary. If okay, go to next step.
  38. Check charcoal canister for cracks, hole and damage. Repair as necessary. If okay, go to next step.
  39. Remove the engine room ECU cover. Turn the ignition switch ON. Measure the voltage between terminals VPTK and EPTK of the ECM connector. See Fig 5. If voltage is 4.5-5.5 volts, go to next step. If voltage is not 4.5-5.5 volts, check and replace ECM.
  40. Measure the voltage between terminals PTNK and EPTK of the ECM connectors. Disconnect the vacuum hose from the vapor pressure sensor. Using the MITYVAC (hand-held vacuum pump), apply a vacuum of 1.18 in. Hg (4.0 kPa) to the vapor pressure sensor. Vacuum applied to vapor pressure sensor must be less than 19.7 in. Hg (66.7 kPa). If voltage is 2.9-3.7 volts with vacuum hose disconnected, or less than 0.5 volts with vacuum applied, check and replace ECM. See Fig 6. If voltage is not to specification, go to next step.
  41. Check for open and short in harness and connector between vapor pressure sensor and ECM. Repair or replace as necessary. If okay, replace vapor pressure sensor.
  42. Select the ENHANCED OBD2/ACTIVE TEST mode on the hand-held tester. Disconnect the vacuum hose for the VSV for the EVAP from the charcoal canister. Start the engine. Select the item EVAP VSV (ALON)/ALL in the ACTIVE TEST and operate EVAP VSV (press the right or left button). When the VSV for the EVAP is operated by the hand-held tester, check whether the disconnected hose applies suction to your finger. If VSV is ON, disconnected hose applies suction to your finger. See Fig 1. If VSV is OFF, disconnected hose applies no suction to your finger.
  43. Check vacuum hose between intake manifold and VSV for EVAP, and VSV for EVAP and charcoal canister. Check that vacuum hose is connected correctly. Check the vacuum hose for looseness and disconnection. Check vacuum hose for cracks, holes, damage and blockage. Repair as necessary. If okay, go to next step.
  44. Remove EVAP VSV. Using ohmmeter, measure resistance between VSV terminals. With VSV temperature at 68°F (20°C), resistance should be 30-34 ohms. Measure resistance between each terminal and body of valve. Resistance should be infinite. If resistance is as specified, using fused jumper wires, apply battery voltage and ground to EVAP VSV terminals. Apply compressed air to EVAP VSV port "E". Air should flow from port "F". See Figure. Disconnect fused jumper wires. Air should not flow from port "F". If EVAP VSV does not operate as specified, or if resistance was not as specified, replace EVAP VSV and charcoal canister. After replacing components, clean vacuum hoses between EVAP VSV and throttle body, and between EVAP VSV and charcoal canister. If EVAP VSV operates as specified, go to next step. Replace as necessary. If okay, go to next step.
  45. Check for open and short in harness and connector between EFI main relay and VSV for EVAP, and VSV for EVAP and ECM. Repair as necessary. If okay, check and replace ECM.
  46. Disconnect the vacuum hose for the VSV for the CCV from the charcoal canister. Turn the ignition switch ON and push the hand-held tester main switch ON. Select the ENHANCED OBD2/ACTIVE TEST mode on the hand-held tester. Select the item CAN CTRL VSV/ALL in the ACTIVE TEST and operate CAN CTRL VSV (press right or left button). Check the VSV operation when it is operated by the hand-held tester. If VSV is ON, air does not flow from port "E" to port "F". If VSV is OFF, air from port "E" flows out through port "F". See Fig 2. If okay, go to step  50. If not okay, go to next step.
  47. Check vacuum hose between VSV for CCV and charcoal canister. Check that the vacuum hose is connected correctly. Check the vacuum hose for looseness and disconnection. Check the vacuum hose for cracks, hole damage and blockage. Repair as necessary. If okay, go to next step.
  48. Check canister closed valve VSV. Using ohmmeter, measure resistance between VSV terminals. With VSV temperature at 68°F (20°C), resistance should be 25-30 ohms. Measure resistance between each terminal and body of valve. Resistance should be infinite. If resistance is as specified, apply air to EVAP VSV port "A". Air should flow from port "B". See Figure. Using fused jumper wires, apply battery voltage and ground to VSV terminals. No air should flow from port "B". If VSV does not operate as specified, or if resistance was not as specified, replace VSV. If VSV is okay, go to next step.
  49. Check for open and short in harness and connector between EFI main relay and VSV for CCV, and VSV for CCV and ECM. Repair or replace as necessary. If okay, check and replace ECM.
  50. Turn the ignition switch ON and push the hand-held tester main switch ON. Select the ENHANCED OBD2/ACTIVE TEST mode on the hand-held tester. Select the item TANK BYPASS VSV/ALL in the ACTIVE TEST and operate TANK BYPASS VSV (press the right or left button). Check the VSV operation when it is operated by the hand-held tester. When VSV is ON, air from port "E" flows out through port "F". When VSV is OFF, air does not flow from port "E" to port "F". See Fig 3. If okay, go to step  53. If not okay, go to next step.
  51. Check operation of VSV for pressure switching valve. Using ohmmeter, measure resistance between VSV terminals. With VSV temperature at 68°F (20°C), resistance should be 37-44 ohms. Measure resistance between each terminal and body of valve. Resistance should be infinite. If resistance is as specified, apply air to EVAP VSV port "E". Air should not flow from port "F". Using fused jumper wires, apply battery voltage and ground to VSV terminals. Air should flow from port "F". See Figure. If VSV does not operate as specified, or if resistance was not as specified, replace VSV. If VSV is okay, go to next step.
  52. Check for open and short in harness and connector between EFI main relay and VSV for pressure switching valve, and VSV for pressure switching valve and ECM. Repair or replace harness or connector as necessary. If okay, go to next step.
  53. Check whether hose close to fuel tank has been modified, and check whether there are signs of any accident near fuel tank. Check for cracks, deformation and loose connection of fuel tank, fuel tank filler pipe, or hoses and tubes around fuel tank. See Fig 4. Repair as necessary. If okay, go to next step.
  54. Check vacuum hoses between vapor pressure sensor and fuel tank, and charcoal canister and VSV for pressure switching valve. Check that the vacuum hose is connected correctly. Check the vacuum hose for looseness and disconnection. Check the vacuum hose for cracks, holes and damage. Repair as necessary. If okay, go to next step.
  55. Check vacuum hoses 4, 5, 7 and 8. See Figure. Check that the vacuum hose is connected correctly. Check the vacuum hose for looseness and disconnection. Check the vacuum hose for cracks, holes and damage. Repair as necessary. If okay, go to next step.
  56. Remove the engine room ECU cover. Turn the ignition switch ON. Measure the voltage between terminals VPTK and EPTK of the ECM connector. See Fig 5. If voltage is 4.5-5.5 volts, go to next step. If voltage is not to specification, check and replace ECM.
  57. Measure the voltage between terminals PTNK and EPTK of the ECM connectors. Disconnect the vacuum hose from the vapor pressure sensor. Using the MITYVAC (hand-held vacuum pump), apply a vacuum of 1.18 in. Hg (30 mm Hg). Vacuum applied to vapor pressure sensor must be less than 19.7 in. Hg (500 mm Hg). See Fig 6. If voltage is 2.9-3.7 volts with vacuum disconnected or 0.5 volts or less with vacuum applied, go to next step. If voltage is not to specification, check and replace ECM.
  58. Check for open and short in harness and connector between vapor pressure sensor and ECM. Repair as necessary. If okay, replace vapor pressure sensor.