LEMON Manuals: Even more car manuals for everyone: 1960-2025
Home >> Lexus >> 2005 >> IS 300 Base, Automatic >> Repair and Diagnosis >> Engine Performance >> System >> Engine - Diagnostics >> Pre-Check
April 5, 2026: LEMON Manuals is launched! Read the announcement.

Engine - Diagnostics: Pre-Check

  1. DIAGNOSIS SYSTEM 
    1. Description

      When troubleshooting OBD II (On-Board Diagnostics) vehicles, a hand-held tester or OBD II scan tool (complying with SAE J1987) must be connected to the DLC3 (Data Link Connector 3) of the vehicle. Various data in the vehicle's ECM (Engine Control Module) can be then read. OBD II regulations require that the vehicle's on-board computer illuminates the MIL (Malfunction Indicator Lamp) on the instrument panel when the computer detects a malfunction in:

      • The emission control systems and components
      • The power train control components (which affect vehicle emissions)
      • The computer itself

      In addition, the applicable DTCs (Diagnostic Trouble Codes) prescribed by SAE J2012 are recorded in 3 consecutive trips, the MIL turns off automatically but the DTCs remain recorded in the ECM (Engine Control Module) memory.

      Fig 1: Identifying MIL (Malfunction Indicator Lamp)
      G02947758Courtesy of © TOYOTA, LICENSE AGREEMENT TMS1002

      To check the DTCs, connect a hand-held tester or OBD II scan tool to the DLC3. The tester and scan tool display DTCs, freeze frame data, and a variety of engine data. The DTCs and freeze frame data can be erased with the tester and scan tool (see HOW TO PROCEED WITH TROUBLESHOOTING ).

      Fig 2: Connecting Hand-Held Tester To DLC3
      G02947759Courtesy of © TOYOTA, LICENSE AGREEMENT TMS1002
    2. Normal mode and check mode

      The diagnosis system operates in the normal mode during normal vehicle use. In normal mode, 2 trip detection logic is used to ensure accurate detection of malfunctions. Check mode is also available as an option for technicians. In check mode, 1 trip detection logic is used for simulating malfunction symptoms and increasing the system's ability to detect malfunctions, including intermittent problems (hand-held tester only).

    3. 2 trip detection logic

      When a malfunction is first detected, the malfunction is temporarily stored in the ECM memory (1st trip). If the same malfunction is detected during the next sequent drive cycle, the MIL is illuminated (2nd trip).

    4. Freeze frame data

      The freeze frame data record the engine conditions (fuel system, calculated engine load, engine coolant temperature, fuel trim, engine speed, vehicle speed, etc.) when malfunctions are detected. When troubleshooting, freeze frame data can help determine if the vehicle was moving or stationary, if the engine was warmed up or not, if the air-fuel ratio was lean or rich, and other data, from the time the malfunction occurred.

    5. DLC3 (Data Link Connector 3)

      The vehicle's ECM uses the ISO 9141-2 communication protocol. The terminal arrangement of the DLC3 complies with SAE J1962 and matches the ISO 9141-2 format.

      Fig 3: Identifying DLC3 Connector Terminals
      G02947760Courtesy of © TOYOTA, LICENSE AGREEMENT TMS1002
      DATA LINK CONNECTOR TERMINALS REFERENCE

      Symbols Terminal No. Names Reference Terminals Results Conditions
      SIL 7 Bus "+" line 5 - Signal ground Pulse generation During transmission
      CG 4 Chassis ground Body ground Below 1 Ω Always
      SG 5 Signal ground Body ground Below 1 Ω Always
      BAT 16 Battery positive Body ground 9 to 14 V Always

      HINT:

      The DLC3 is the interface prepared for reading various data from the vehicle's ECM. After connecting the cable of a hand held tester or OBD II scan tool, turn the ignition switch to ON and turn the tester or scan tool ON.

      If a communication failure message is displayed on the tester or scan tool screen (on the tester: UNABLE TO CONNECT TO VEHICLE), a problem exists in either the vehicle or tester. In order to identify the location of the problem, connect the tester to another vehicle.

      • If communication is normal: Inspect the DLC3 on the original vehicle.
      • If communication is impossible: The problem is probably with the tester itself. Consult the Service Department listed in the instruction manual.
    6. Battery voltage
      1. Battery voltage: 11 to 14 V 

      If the voltage is below 11 V, recharge the battery before proceeding.

    7. MIL (Malfunction Indicator Lamp)
      1. The MIL illuminates when the ignition switch is turned to ON and the engine is not running.

        HINT:

        If the MIL does not illuminate, check the MIL circuit (see MIL Circuit Malfunction ).

      2. The MIL should turn off when the engine is started.

        If the MIL remains on, the diagnosis system has detected a malfunction or abnormality in the system.

  2. DTC CHECK (Normal Mode) 
    NOTE: Hand-held tester only:

    When the diagnosis system is changed from normal mode to check mode or vice versa, all DTCs and freeze frame data recorded in normal mode are erased. Before changing modes, always check and make a note of DTCs and freeze frame data. 

    HINT:

    • DTCs which are stored in the ECM can be displayed on a hand-held tester or OBD II scan tool. A hand-held tester can display current and pending DTCs.
    • Some DTCs are not set if the ECM does not detect the same malfunction again during a second consecutive driving cycle. However, such malfunctions, detected on only one occasion, are stored as pending DTCs.
    • The pending DTCs are set when the malfunction is detected once.
    1. Check DTCs (using a hand-held tester or OBD II scan tool)
      1. Connect a hand-held tester or OBD II scan tool to the DLC3.
      2. Fig 4: Connecting Hand-Held Tester To DLC3
        G02947761Courtesy of © TOYOTA, LICENSE AGREEMENT TMS1002
      3. Turn the ignition switch to ON.
      4. Turn the tester or scan tool ON.
      5. For the tester, select the following menu items:

        DIAGNOSIS/ENHANCED OBD II/DTC INFO/CURRENT CODES or PENDING CODES.

      6. For the scan tool, refer to the instruction manual.
      7. Check DTCs and freeze frame data, and then write them down.
      8. See DIAGNOSTIC TROUBLE CODE CHART  to check the details of DTCs.

      HINT:

      When simulating a symptom with an OBD II scan tool to check DTCs in the DIAGNOSTIC TROUBLE CODE CHART, subject to 2 trip detection logic, conduct either of the following operations. (For more information, refer to the scan tool instruction manual.)

      • Check pending DTCs using the Continuous Test Result function (Mode 07 for SAE J1979).
      • Simulate the symptom again after turning the ignition switch to OFF upon finishing the first symptom simulation, so that the MIL is illuminated and the DTC(s) is stored in the ECM.
    2. Clear DTCs (using a hand-held tester or OBD II scan tool)
      1. Connect a hand-held tester or OBD II scan tool to the DLC3.
      2. Turn the ignition switch to ON.
      3. Turn the tester or scan tool on.
      4. For the tester, select the following menu items:

        DIAGNOSIS/ENHANCED OBD II/DTC INFO/CLEAR CODES.

      5. Press the YES button.
      6. For the scan tool, refer to the instruction manual.
    3. Clear DTCs (without using a hand-held tester or OBD II scan tool)
      1. Perform either one of the following operations.
        • Disconnect the negative battery cable for more than 1 minute.
        • Remove the EFI and ETCS fuses from the engine room Junction Block (J/B) located inside the engine compartment for more than 1 minute.
  3. DTC CHECK (Check Mode) 
    NOTE: Hand-held tester only:

    When the diagnosis system is changed from normal mode to check mode or vice versa, all DTCs and freeze frame data recorded in normal mode are erased. Before changing modes, always check and make a note of DTCs and freeze frame data. 

    HINT:

    Hand-held tester only:

    Compared to normal mode, check mode is more sensitive to malfunctions. Therefore, check mode can detect the malfunctions that cannot be detected by normal mode.

    1. Procedure for check mode (using a hand-held tester)
      1. Make sure that the vehicle is in the following condition:
        • Battery voltage 11 V or more.
        • Throttle valve fully closed.
        • Shift lever is in the neutral position.
        • A/C switched OFF.
      2. Turn the ignition switch to OFF.
      3. Connect a hand-held tester to the DLC3.
      4. Fig 5: Identifying DLC3 Connector Location
        G02947762Courtesy of © TOYOTA, LICENSE AGREEMENT TMS1002
      5. Turn the ignition switch to ON.
      6. Turn the tester ON.
      7. Select the following menu items: DIAGNOSIS/ENHANCED OBD II/CHECK MODE.
      8. Switch the ECM from normal mode to check mode.

        (Make sure the MIL flashes as shown in the illustration.)

        Fig 6: Identifying Pattern (MIL Flashes)
        G02947763Courtesy of © TOYOTA, LICENSE AGREEMENT TMS1002
      9. Start the engine. (Make sure the MIL turns off.)
      10. Simulate the conditions of the malfunction described by the customer.
      11. Check DTCs and freeze frame data using the tester.

    HINT:

    Do not turn the ignition switch to OFF, as turning it to OFF switches the diagnosis system from check mode to normal mode, which erases all the stored DTCs and freeze frame date.

  4. FAIL-SAFE CHART 

    If any of the following codes are recorded, the ECM enters fail-safe mode.

    FAIL-SAFE CHART

    DTCs Items Fail-Safe Operations Fail-Safe Deactivation Conditions
    P0031, P0032, P0037, P0038, P0051, P0052, P0057 and P0058 Heated Oxygen Sensor (HO2S) Heater Turn off HO2S heater. Ignition switch is OFF.
    P0100, P0102 and P0103 Mass Air Flow (MAF) Meter Ignition timing is calculated from engine RPM and throttle position. Pass condition is detected.
    P0110, P0112 and P0113 Intake Air Temperature (IAT) Sensor ECM estimates that IAT is 20°C (68°F). Pass condition is detected.
    P0115, P0117 and P0118 Engine Coolant Temperature (ECT) Sensor ECM estimates that ECT is 80°C (176°F). Pass condition is detected.
    P0120, P0121, P0122, P0123, P0220, P0223, P0604, P0606, P0607, P0657, P2102, P2103, P2111, P2118, P2119 and P2135 Electronic Throttle Control System (ETCS) ECM cuts off throttle actuator current and throttle valve is controlled by throttle cable. ECM then adjusts engine output by controlling fuel injection (intermittent fuel-cut) and ignition timing according to accelerator pedal opening angle to continue at a minimal speed. Pass condition is detected and ignition switch is turned OFF.
    P0325, P0330 Knock Sensor ECM sets ignition timing to maximum retard value (minimal spark advance control is performed). Ignition switch is OFF
    P0351 Ignitor Fuel is cut. Pass condition is detected
    P2120, P2121, P2122, P2123, P2125, P2127, P2128 and P2138 Accelerator Pedal Position (APP) Sensor APP sensor has 2 sensor circuits: Main and sub. If either of circuits malfunctions, ECM controls engine using other circuit. If both of circuits malfunction, ECM regards accelerator pedal as being released. As a result, throttle valve is closed and engine idles. Pass condition is detected and ignition switch is turned OFF.
  5. CHECK FOR INTERMITTENT PROBLEMS 

    HINT:

    Hand-held tester only:

    Inspect the vehicle's ECM using check mode. Intermittent problems are easier to detect with the hand-held tester when the ECM is in check mode. In check mode, the ECM uses 1 trip detection logic, which is more sensitive to malfunctions than normal mode (default) that uses 2 trip detection logic.

    1. Clear DTCs (see step  2).
    2. Switch the ECM from normal mode to check mode using a hand-held tester.
    3. Perform a simulation test (see HOW TO PROCEED WITH TROUBLESHOOTING ).
    4. Check and wiggle the harness(es), the connector(s) and terminal(s) (see HOW TO USE THE DIAGNOSTIC CHART AND INSPECTION PROCEDURE ).
  6. BASIC INSPECTION 

    When a malfunction is not confirmed by the DTC check, troubleshooting should be carried out in all circuits considered to be possible causes of the problem. In many cases, by carrying out the basic engine check shown in the following flowchart, the location of the problem can be found quickly and efficiently. Therefore, using this check is essential when engine troubleshooting.

    1. Is battery voltage 11 V or more when engine is stopped? 

      NO: Charge or replace battery. 

      YES: Go to next step. 

    2. Is engine cranked? 

      NO: Proceed to  TEST  and  INSPECTION  , and continue to troubleshoot. 

      YES: Go to next step. 

    3. Does engine start? 

      NO: Go to step   7 . 

      YES: Go to next step. 

    4. Check air cleaner filter 

      PREPARATION: 

      Remove the air cleaner filter.

      OK: 

      Visual check that the air filter is not excessively dirty or oily.

      NG: Replace air cleaner filter. 

      OK: Go to next step. 

    5. Check idling speed 

      PREPARATION: 

      1. Warm up the engine to the normal operating temperature.
      2. Switch off all the accessories.
      3. Switch off A/C.
      4. Shift the shift lever into the neutral position.
      5. Connect the hand-held tester or OBD II scan tool to the DLC3 of the vehicle.

      CHECK: 

      Check the idling speed.

      OK: 

      Idling speed: 650 to 750 RPM 

      NG: Proceed to problem symptoms table on  PROBLEM SYMPTOMS TABLE  . 

      OK: Go to next step. 

    6. Check ignition timing. 

      PREPARATION: 

      1. Warm up the engine to the normal operating temperature.
      2. Shift the shift lever into the neutral position.
      3. Keep the engine speed at idle.
      4. Using SST, connect terminals TC and CG of the DLC3.

        SST 09843-18020

      5. Using a timing light, connect the tester to the No. 1 high-tension cord.

      CHECK: 

      Check the ignition timing.

      Fig 7: Checking Ignition Timing
      G02947764Courtesy of © TOYOTA, LICENSE AGREEMENT TMS1002

      OK: 

      Ignition timing: 6 to 1° BTDC at idle 

      NG: Proceed to  IGNITION SYSTEM  , and continue to troubleshoot. 

      OK: Proceed to problem symptoms table on  PROBLEM SYMPTOMS TABLE  . 

    7. Check fuel pressure. 

      PREPARATION: 

      1. Be sure that the enough fuel is in the tank.
      2. Remove the cover from the pulsation damper.
      3. Fig 8: Removing Cover From Pulsation Damper
        G02947765Courtesy of © TOYOTA, LICENSE AGREEMENT TMS1002
      4. Connect the hand-held tester to the DLC3.
      5. Turn the ignition switch ON and push the hand-held tester main switch ON.
      6. Use the ACTIVE TEST mode to operate the fuel pump.

        HINT:

        Please refer to the hand-held tester operator's manual for further details.

      7. If you have no hand-held tester, connect the positive (+) and negative (-) leads from the battery to the fuel pump connector (see FUEL PUMP ).

      CHECK: 

      Check that the pulsation damper screw rises up when the fuel pump operates.

      HINT:

      At this time, you will hear a fuel flowing noise.

      NG: Proceed to  FUEL PUMP  , and continue to troubleshoot. 

      OK: Go to next step. 

    8. Check for spark. 

      PREPARATION: 

      1. Remove the ignition coil from the spark plug.
      2. Remove the spark plug.
      3. Install the spark plug to the ignition coil.
      4. Disconnect the injector connector.
      5. Ground the spark plug.

      CHECK: 

      Check if spark occurs while the engine is being cranked.

      Fig 9: Checking For Spark
      G02947766Courtesy of © TOYOTA, LICENSE AGREEMENT TMS1002
      NOTE: To prevent excess fuel from being injected from the injectors during this test, don't crank the engine for more than seconds at a time.

      NG: Proceed to  IGNITION SYSTEM  , and continue to troubleshoot. 

      OK: Proceed to problem symptoms table on  PROBLEM SYMPTOMS TABLE  . 

  7. DATA LIST 

    HINT:

    By reading the DATA LIST displayed on a hand-held tester, you can check values, including those of the switches, sensors, and actuators without removing any parts. Reading the DATA LIST as the first step of troubleshooting is one method of shortening diagnostic time.

    NOTE: In the table below, the values listed under Normal Condition are for reference only. Do not depend solely on these values when determining whether or not a part is faulty.
    1. Warm up the engine.
    2. Turn the ignition switch to OFF.
    3. Connect a hand-held tester to the DLC3.
    4. Connect a hand-held tester or OBD II scan tool to the DLC3.
    5. Turn the ignition switch to ON.
    6. Turn the tester or scan tool ON.
    7. Select the following menu items: DIAGNOSIS/ENHANCED OBD II/DATA LIST.
    8. Check the values by referring to the table below.
    Fig 10: Data List (1 Of 3)
    G02947767Courtesy of © TOYOTA, LICENSE AGREEMENT TMS1002
    Fig 11: Data List (2 Of 3)
    G02947768Courtesy of © TOYOTA, LICENSE AGREEMENT TMS1002
    Fig 12: Data List (3 Of 3)
    G02947769Courtesy of © TOYOTA, LICENSE AGREEMENT TMS1002
  8. ACTIVE TEST 

    HINT:

    Performing the ACTIVE TEST using the hand-held tester or the OBD II scan tool allows the relay, VSV, actuator and so on to operate without parts removal. Performing the ACTIVE TEST as a first step of troubleshooting is one method to shorten diagnostic time.

    It is possible to display the DATA LIST during the ACTIVE TEST.

    1. Warm up the engine.
    2. Turn the ignition switch OFF.
    3. Connect the hand-held tester or the OBD II scan tool to the DLC3.
    4. Turn the ignition switch ON.
    5. Push the "ON" button of the hand-held tester or the OBD II scan tool.
    6. Enter the following menus: DIAGNOSIS/ENHANCED OBD II/ACTIVE TEST.
    7. According to the display on tester, perform the "ACTIVE TEST".
    Fig 13: Active Test Chart
    G02947770Courtesy of © TOYOTA, LICENSE AGREEMENT TMS1002
  9. DEFINITION OF TERMS 
    TERMS DEFINITION

    Terms Definition
    Monitor description Description of what the ECM monitors and how detects malfunction (monitoring purpose and details).
    Related DTCs A group of diagnostic trouble codes that are output by the ECM based on the same malfunction detection logic.
    Typical enabling condition Preconditions that allow the ECM to detect malfunctions. With all preconditions satisfied, the ECM sets a DTC when the monitored value(s) exceeds the malfunction threshold(s).
    Sequence of operation The priority order that is applied to monitoring, if multiple sensors and components are used to detect the malfunction. While another sensor is being monitored, the next sensor or component will not be monitored until the previous monitoring is concluded.
    Required sensor/components The sensors and components that are used by the ECM to detect malfunctions.
    Frequency of operation The number of times that the ECM checks for malfunctions per driving cycle. "Once per driving cycle" means that the ECM detects a malfunction only one time during a single driving cycle. "Continuous" means that the ECM detects a malfunction every time when enabling conditions are met.
    Duration The minimum time that the ECM must detect a continuous deviation in the monitored value(s) before setting a DTC. This timing begins when the "typical enabling conditions" are met.
    Malfunction thresholds Beyond this value, the ECM determines that there is a malfunction and sets a DTC.
    MIL operation MIL illumination timing after a defect is detected. "Immediately" means that the ECM illuminates the MIL the instant the ECM determines that there is a malfunction. "2 driving cycle" means that the ECM illuminates the MIL if the same malfunction is detected the second time during the next sequential driving cycle.
  10. TOYOTA/LEXUS PART AND SYSTEM NAME LIST 

    This reference list indicates the part names used in this manual along with their definitions.

    TOYOTA/LEXUS PART AND SYSTEM NAME LIST

    TOYOTA/LEXUS names Definitions
    Toyota HCAC system, Hydro-carbon Adsorptive Catalyst (HCAC) system, HC adsorptive three-way catalyst HC adsorptive three-way catalytic converter
    Variable Valve Timing sensor, VVT sensor Camshaft position sensor
    Variable valve timing system, VVT system Camshaft timing control system
    Camshaft timing oil control valve, Oil control valve, OCV, VVT, VSV Camshaft timing oil control valve
    Variable timing and lift, VVTL Camshaft timing and lift control
    Crankshaft position sensor "A" Crankshaft position sensor
    Engine speed sensor Crankshaft position sensor
    THA Intake air temperature
    Knock control module Engine knock control module
    Knock sensor Engine knock sensor
    Mass or volume air flow circuit Mass air flow meter circuit
    Vacuum sensor Manifold air pressure sensor
    Internal control module, Control module, Engine control ECU, PCM Power train control module
    FC idle Deceleration fuel cut
    Idle air control valve Idle speed control
    VSV for CCV, Canister close valve VSV for canister control Evaporative emissions canister vent valve
    VSV for EVAP, Vacuum switching valve assembly No. 1, EVAP VSV, Purge VSV Evaporative emissions canister purge valve
    VSV for pressure switching valve, Bypass VSV Evaporative emission pressure switching valve
    Vapor pressure sensor, EVAP pressure sensor, Evaporative emission control system pressure sensor Fuel tank pressure sensor
    Charcoal canister Evaporative emissions canister
    ORVR system On-board refueling vapor recovery system
    Intake manifold runner control Intake manifold tuning system
    Intake manifold runner valve, IMRV, IACV (runner valve) Intake manifold tuning valve
    Intake control VSV Intake manifold tuning solenoid valve
    AFS Air fuel ratio sensor
    O2 sensor Heater oxygen sensor
    Oxygen sensor pumping current circuit Oxygen sensor output signal
    Oxygen sensor reference ground circuit Oxygen sensor signal ground
    Accel position sensor Accelerator pedal position sensor
    Throttle actuator control motor, Actuator control motor, Electronic throttle motor, Throttle control motor Electronic throttle actuator
    Electronic throttle control system, Throttle actuator control system Electronic throttle control system
    Throttle/pedal position sensor, Throttle/pedal position switch, Throttle position sensor/switch Throttle position sensor
    Turbo press sensor Turbo charger pressure sensor
    Turbo VSV Turbo charger pressure control solenoid valve
    P/S pressure switch Power-steering pressure switch
    VSV for ACM Active control engine mount
    Speed sensor, Vehicle speed sensor "A", Speed sensor for skid control ECU Vehicle speed sensor
    ATF temperature sensor, Trans. fluid temp. sensor, ATF temperature sensor "A" Transmission fluid temperature sensor
    Electronic controlled automatic transmission, ECT Electronically controlled automatic transmission
    Intermediate shaft speed sensor "A" Counter gear speed sensor
    Output speed sensor Output shaft speed sensor
    Input speed sensor, Input turbine speed sensor "A", Speed sensor (NT), Turbine speed sensor Input turbine speed sensor
    PNP switch, NSW Park/neutral position switch
    Pressure control solenoid Transmission pressure control solenoid
    Shift solenoid Transmission shift solenoid valve
    Transmission control switch, Shift lock control unit Shift lock control module
    Engine immobilizer system, Immobilizer system Vehicle anti-theft system
  11. LIST OF DISABLE A MONITOR 

    HINT:

    This table indicates ECM monitoring status for the items in the upper columns if the DTCs in each line on the left are being set.

    The table below shows the ECM monitoring status for the DTCs listed in the table's top row when a DTC from the table's left column is set. Each "X" symbol means that a DTC in the top row will not be monitored.

    Fig 14: ECM Monitoring Status (1 Of 6)
    G02947771Courtesy of © TOYOTA, LICENSE AGREEMENT TMS1002
    Fig 15: ECM Monitoring Status (2 Of 6)
    G02947772Courtesy of © TOYOTA, LICENSE AGREEMENT TMS1002
    Fig 16: ECM Monitoring Status (3 Of 6)
    G02947773Courtesy of © TOYOTA, LICENSE AGREEMENT TMS1002
    Fig 17: ECM Monitoring Status (4 Of 6)
    G02947774Courtesy of © TOYOTA, LICENSE AGREEMENT TMS1002
    Fig 18: ECM Monitoring Status (5 Of 6)
    G02947775Courtesy of © TOYOTA, LICENSE AGREEMENT TMS1002
    Fig 19: ECM Monitoring Status (6 Of 6)
    G02947776Courtesy of © TOYOTA, LICENSE AGREEMENT TMS1002
  12. O2S TEST RESULT 
    1. Description of O2S TEST RESULT.

      The O2S Test Result is a part of the monitoring for Heated Oxygen (HO2) sensor malfunctions. The various states (Test Items) of the HO2 sensor are monitored by the ECM. The Test Item values (Test Value) can be read using a hand-held tester or OBD II scan tool.

      A Test Value is the latest snapshot data after the vehicle is driven to run the monitor. Therefore, the Test Value is not dynamic data.

      If a Test Value is outside the standard range, this indicates that the HO2 sensor is malfunctioning. If a Test Value is on the borderline of the standard level, any malfunctions may be concealed in the HO2 sensor.

      Test Values are cleared when the ignition switch is turned to OFF.

      Example:

      O2S TEST RESULT

      Test ID Test Items Descriptions Unit Conversions Units Standards
      $81 Time $81 Percentage of time when HO2S voltage was below 0.05V in HO2S monitoring time Multiply by 0.3906 % Within 60%
      • Test ID: Code applied to each Test Item
      • Test Item: State to be monitored in the test
      • Description: Monitoring method
      • Unit Conversion: Conversion factor used to calculate the Test Value displayed on a hand-held tester
      • Unit: Unit applied to a Test Value
      • Standard: The standard range or level used to judge whether or not the HO2 sensor is normal

      HINT:

      • Specifics of each Test Item, Description, Unit Conversion and Standard are described in the paragraph titled "O2S TEST RESULT" in each DTC relating to the HO2 sensor, such as P0130, P0133 and P0136.
      • The O2S Test Result is not applicable to the A/F (Air-Fuel Ratio) sensor and the HO2 sensor heater.

        The Monitor Result is used for these components tests. For more information about the tests, refer to Checking Monitor Status.

    2. Procedure of O2S TEST RESULT.
      CAUTION: Strictly observe posted speed limits, traffic laws, and road conditions when conducting the drive patterns.
      1. Connect a hand-held tester or OBD II scan tool to the DLC3.
      2. Turn the ignition switch to ON.
      3. Turn the tester or scan tool ON.
      4. Clear DTCs (where set).
      5. Drive the vehicle to run the HO2 sensor monitor, in accordance with the applicable Drive Pattern described Readiness Monitor Drive Pattern (see READINESS MONITOR DRIVE PATTERN ).
      6. After conducting the drive pattern, select the following menu items on the tester: DIAGNOSIS/CARB OBD II/O2S TEST RESULT.

        HINT:

        This test is not applicable to the A/F sensor. Therefore, even when BANK 1 - SENSOR 1 or BANK 2 - SENSOR 1 is selected on the tester, "NO PARAMETER TO DISPLAY" is displayed by the tester.

      7. All HO2 sensors are listed on the tester screen.
        Fig 20: Identifying O2S Sensor Test Display
        G02947777Courtesy of © TOYOTA, LICENSE AGREEMENT TMS1002
      8. Select the desired HO2 sensor from the list and press the ENTER button (a screen such as that shown on the left appears).
      9. Check the Test Value (the Test Item value).
      10. For the scan tool, refer to the instruction manual.
      NOTE: Until the HO2 sensor monitor runs to completion, when it fails to complete or when the ignition switch is turned to OFF, the tester screen displays the upper and lower viewable limit values for the monitor (for example, voltages: 0V and 1.275V, seconds: 0 and 10.2, Test Value: 0 and 255).
      Fig 21: Identifying Test Item Value Display
      G02947778Courtesy of © TOYOTA, LICENSE AGREEMENT TMS1002
    3. Procedure of Reading Test Value (Example).

      HINT:

      The values shown below are examples only.

      1. Check the Test Value in the Test Item line.
      2. Use the Unit Conversion (conversion factor value) in the O2S Test Result table to calculate the Test Value.
        • Test Value: 17x Unit Conversion: 0.3906 = Calculated Value and Unit: 6.6%
      3. Check the calculated Test Value by referring to the Standard Values in the table,
      Fig 22: Identifying Scan Tool Display (Menu Items)
      G02947779Courtesy of © TOYOTA, LICENSE AGREEMENT TMS1002

      HINT:

      If a Test Value is within the Standard Value, this indicates that the Test Item is normal. If a Test Value is on the borderline of the Standard Value, the Test Item may have a problem or malfunction.

      O2S TEST RESULT

      Test ID Test Items Descriptions Unit Conversions Units Standards
      $81 Time $81 Percentage of time when HO2S voltage was below 0.05V in HO2S monitoring time Multiply by 0.3906 % Within 60%
  13. CHECKING MONITOR STATUS 
    1. Description of MONITOR RESULT.

      The Monitor Result is part of the monitoring for malfunctions in emission related components such as the thermostat, catalytic converter, and evaporative emission system. The various states (test value) of the components are monitored by the ECM. The test values can be read using a hand-held tester or OBD II scan tool.

      A test value is the latest snapshot data after the vehicle is driven to run the monitor. Therefore, the test value is not dynamic data.

      If a test value is outside the Test Limit, this indicates that the test item is malfunctioning. If a test value is on the borderline of the Test Limit, any malfunctions may be concealed.

      Test value is cleared when the ignition switch is turned to OFF.

      Example

      MONITOR RESULT (TID $08: THERMOSTAT)

      TLT CID Unit Conversions Description of Test Data Description of Test Limit
      1 $01 Multiply by 0.625 and minus 40 Engine coolant temperature Malfunction criteria for thermostat
      • Test ID: Code applied to each Test Item
      • TLT = 0: test value smaller than Test Limit indicates component is normal (when the Test is PASS).
      • TLT = 1: test value larger than Test Limit indicates component is normal (when the Test is PASS).
      • CID: Component ID
      • Unit Conversion: Conversion factor used to calculate the test value displayed on hand-held tester [Unit: applied to test value]
      • Test Data: Monitoring states or method
      • Test Limit: The malfunction threshold of Test Item

      HINT:

      • Specifics of each CID, Unit Conversion and Test Limit are described in the paragraph titled "MONITOR RESULT" in each DTC relating to the emission related components.
      • The Monitor Result is not applicable to the Heated Oxygen (HO2) sensor. For more information about the test, refer to O2S TEST RESULT .
    2. Procedure of MONITOR RESULT.
      CAUTION: Strictly observe posted speed limits, traffic laws, and road conditions when conducting the drive patterns.
      1. Connect a hand-held tester or OBD II scan tool to the DLC3.
      2. Turn the ignition switch to ON.
      3. Turn the tester or scan tool ON.
      4. Clear DTCs (where set).
      5. Drive the vehicle to run the monitor, in accordance with the applicable Drive Pattern described in the Readiness Monitor Drive Pattern (see READINESS MONITOR DRIVE PATTERN ).
      6. After conducting the drive pattern, select the following menu items on the tester: DIAGNOSIS/ENHANCED OBD II/MONITOR INFO/MONITOR RESULT.
      7. The test items will appear at the beginning of each line followed by INCMP, PASS or FAIL.
        • INCMP: Stands for incomplete. The judgment process has not yet been finished.
        • PASS: No malfunction has been detected.
        • FAIL: A malfunction has been detected.
        Fig 23: Identifying Monitor Result Display Screen
        G02947780Courtesy of © TOYOTA, LICENSE AGREEMENT TMS1002
      8. Select the test item (Label) from the list and press the ENTER button. You will see the following screen:
        • VAL: Test Value
        • LMT: Test Limit
        • TLT: Test Limit Type (Either 0 or 1 is displayed)
        Fig 24: Identifying Thermostat Malfunction Display
        G02947781Courtesy of © TOYOTA, LICENSE AGREEMENT TMS1002

        HINT:

        • TLT = 0: VAL smaller than LMT indicates Test Item is normal (when the Test is PASS).
        • TLT = 1: VAL larger than LMT indicates Test Item is normal (when the Test is PASS).
        • The Test Value (VAL) is recorded after the monitor is completed.
        • When the Test Value is on the borderline of the Test Limit, the Test Item may have a problem or malfunction.
      9. For the scan tool, refer to the instruction manual.
      10. If necessary, press the HELP to see the information about the TLT.
    NOTE: In rare cases, the test may be passed even with a DTC set and the MIL illuminated. The monitor might have detected a malfunction on a previous trip, however the malfunction was not detected on the most recent trip. This indicates that an intermittent problem may be cause of the DTC.
    Fig 25: Identifying Monitor Result Display Screen
    G02947782Courtesy of © TOYOTA, LICENSE AGREEMENT TMS1002
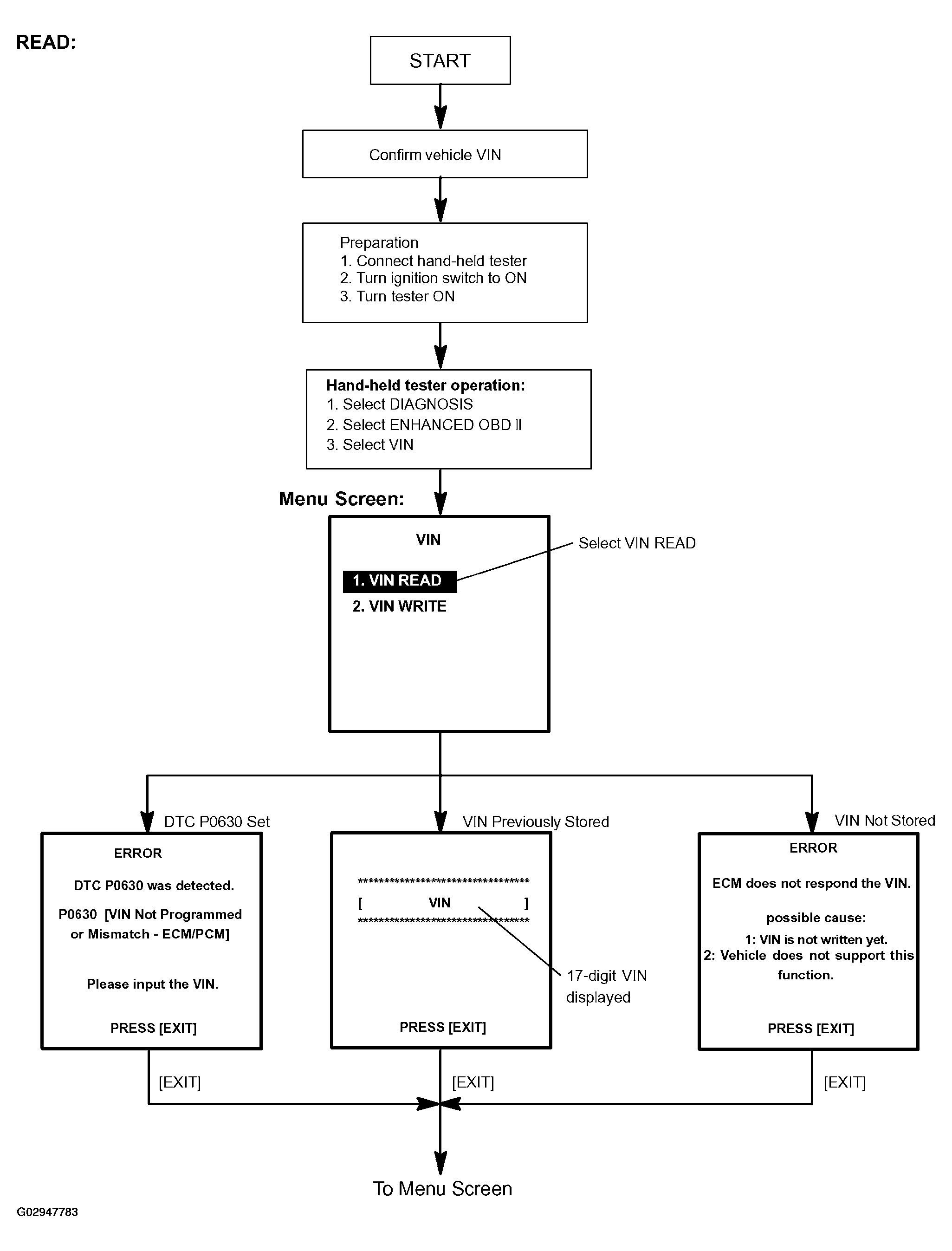
  14. REGISTRATION 
    NOTE: The Vehicle Identification Number (VIN) must be input into the replacement ECM.

    HINT:

    The VIN is in the form of a 17-digit alphanumeric vehicle identification number. A hand-held tester is required to register the VIN.

    1. Description

      This registration information consists of three parts, Input Instructions, Read VIN and Write VIN.

      1. Input Instructions: Explains the general VIN input instructions using a hand-held tester.
      2. Read VIN: Explains the VIN reading process with the flowchart. This process allows the VIN stored in the ECM to be read, in order to confirm that the two VINs, provided to the vehicle and stored in the vehicle's ECM, are the same.
      3. Write VIN: Explains the VIN writing process with the flowchart. This process allows the VIN to be input into the ECM. If the ECM is changed, or the VIN and VIN do not match, the VIN can be registered, or overwritten in the ECM by following this procedure.
    2. Input instructions
      1. Hand-held tester
        • The arrow buttons (UP, DOWN, RIGHT and LEFT) and numerical buttons (0 to 9) are used, in order to input the VIN.
      2. Cursor Operation
        • To move the cursor on the tester screen, press the RIGHT or LEFT button.
      3. Alphabetical Character Input
        • Press the UP or DOWN button to select the desired alphabetical character.
        • After selection, shift the cursor.
      4. Numeric Character Input
        • Press the numerical button corresponding to the number that you want to input.
        • After input, shift the cursor.

        HINT:

        The numerical characters can be selected by using the UP or DOWN button.

      5. Correction
        • When correcting the input character(s), put the cursor onto the character using the RIGHT or LEFT button.
        • Select or input a correct character using the UP/DOWN button, or the numerical buttons.
      6. Finishing Input Operation
        • Make sure that the input VIN matches with the vehicle VIN after input.
        • Press the ENTER button on the tester.
    3. Read VIN.
      1. Read VIN using the hand-held tester.
      Fig 26: Flow Chart - Read VIN (Vehicle Identification Number)
      G02947783Courtesy of © TOYOTA, LICENSE AGREEMENT TMS1002
    4. Write VIN.
      1. Write VIN using the hand-held tester.
      Fig 27: Flow Chart - Write VIN (Vehicle Identification Number) (1 Of 2)
      G02947784Courtesy of © TOYOTA, LICENSE AGREEMENT TMS1002
      Fig 28: Flow Chart - Write VIN (Vehicle Identification Number) (2 Of 2)
      G02947785Courtesy of © TOYOTA, LICENSE AGREEMENT TMS1002