LEMON Manuals: Even more car manuals for everyone: 1960-2025
Home >> Lexus >> 2006 >> GS 300 AWD >> Repair and Diagnosis >> Body & Frame >> Windows >> Windshield / WINDOWGLASS >> Power Window Control System >> Driver Side Power Window Auto Up / Down Function does not Operate with Power Window Master Switch >> Wiring Diagram
April 5, 2026: LEMON Manuals is launched! Read the announcement.

Driver Side Power Window Auto Up / Down Function does not Operate with Power Window Master Switch: Wiring Diagram

Fig 1: Identifying Driver Side Power Window Auto Up Wiring Diagram
G04023036Courtesy of © TOYOTA, LICENSE AGREEMENT TMS1002
  1. CHECK MANUAL UP/DOWN FUNCTION (DRIVER SIDE) 
    1. Check that the manual UP/DOWN functions operate normally.

      OK: Manual UP/DOWN functions operate normally. 

    NG : OTHER PROBLEM 

    OK : GO TO NEXT STEP 

  2. CHECK LIGHT OF MULTIPLEX NETWORK MASTER SWITCH ASSEMBLY (AUTO LIGHT) 
    1. Turn the engine switch on (IG).
    2. Operate the master switch assembly's driver side switch for 2 seconds or more.
    3. Check the blinking pattern of the AUTO light. Compare the blinking pattern with the illustration below.
      Fig 2: Identifying Light Of Multiplex Network Master Switch Assembly (Auto Light)
      G04023037Courtesy of © TOYOTA, LICENSE AGREEMENT TMS1002
      Fig 3: AUTO Light Blinking Pattern Chart
      G04032384Courtesy of © TOYOTA, LICENSE AGREEMENT TMS1002

      Result: 

      BLINKING PATTERN SPECIFICATION

      Blinking Pattern Proceed to
      1 or 3 A
      2 B
      4 C

    B : Go to step   4 

    C : REPLACE MULTIPLEX NETWORK MASTER SWITCH ASSEMBLY 

    A : GO TO NEXT STEP 

  3. RESET FRONT POWER WINDOW REGULATOR MOTOR ASSEMBLY LH 
    1. Check that the power window operates normally after the reset.

      OK: Power window operates normally. 

    NG : Go to step 4 

    OK : END 

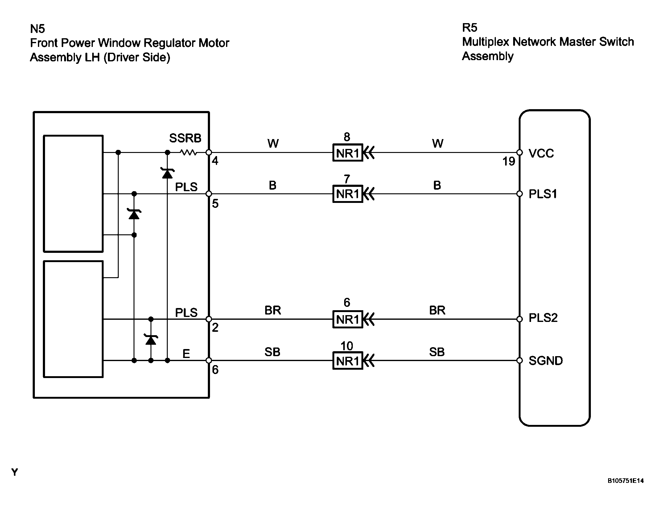
  4. CHECK WIRE HARNESS (MASTER SWITCH ASSEMBLY - FRONT MOTOR ASSEMBLY LH (DRIVER SIDE)) 
    1. Disconnect the R5 master switch connector.
    2. Disconnect the N5 power window motor connector.
    3. Measure the resistance of the wire harness side connectors.

      Standard resistance 

      TESTER CONNECTION SPECIFICATION CHART

      Tester Connection Specified Condition
      R5-19 (VCC) - N5-4 (SSRB) Below 1 Ω
      R5-5 (PLS1) - N5-5 (PLS) Below 1 Ω
      R5-15 (PLS2) - N5-3 (PLS2) Below 1 Ω
      R5-12 (SGND) - N5-6 (E) Below 1 Ω
      R5-19 (VCC) or N5-4 (SSRB) - Body ground 10 kΩ or higher
      R5-5 (PLS1) or N5-5 (PLS) - Body ground 10 kΩ or higher
      R5-15 (PLS2) or N5-3 (PLS2) - Body ground 10 kΩ or higher
      R5-12 (SGND) or N5-6 (E) - Body ground 10 kΩ or higher
      Fig 4: Identifying Wire Harness (Master Switch Assembly - Front Motor Assembly LH
      G04023039Courtesy of © TOYOTA, LICENSE AGREEMENT TMS1002

    NG : REPAIR OR REPLACE HARNESS AND CONNECTOR 

    OK : REPLACE FRONT POWER WINDOW REGULATOR MOTOR ASSEMBLY LH (DRIVER SIDE)