LEMON Manuals: Even more car manuals for everyone: 1960-2025
Home >> Lexus >> 2006 >> GS 300 AWD >> Repair and Diagnosis >> Brakes >> Brakes Control Systems >> Brake Control >> Electronically Controlled Brake System >> DTC Check / Clear
April 5, 2026: LEMON Manuals is launched! Read the announcement.

DTC Check / Clear

  1. DTC CHECK/CLEAR (WHEN USING INTELLIGENT TESTER:) 
    1. DTC check
      1. Connect the intelligent tester to the DLC3.
      2. Turn the engine switch on (IG).
      3. Read the DTCs following the prompts on the tester screen.
    2. DTC clear
      1. Connect the intelligent tester to the DLC3.
      2. Turn the engine switch on (IG).
      3. Operate the intelligent tester to clear the codes.

        HINT:

        Refer to the intelligent tester operator's manual for further details.

        Fig 1: Identifying Intelligent Tester To DLC3
        G04025087Courtesy of © TOYOTA, LICENSE AGREEMENT TMS1002
  2. DTC CHECK/CLEAR (WHEN USING SST CHECK WIRE:) 
    1. DTC check
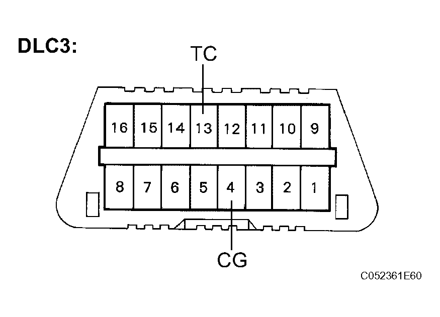
      1. Using SST, connect terminals TC and CG of the DLC3.

        SST 09843-18040 

        Fig 2: Identifying Terminals TC And CG Of DLC3
        G04025109Courtesy of © TOYOTA, LICENSE AGREEMENT TMS1002
      2. Turn the engine switch on (IG).
      3. Read DTC from the ABS warning light on the combination meter and multi information display.

        HINT:

        If no code appears, inspect the TC and CG terminal circuit, and ABS and brake control (multi information display) warning light circuits.

        TROUBLE AREA AND PROCEDURE REFERENCE

        Trouble Area See Procedure
        TC and CG terminal circuit TC AND CG TERMINAL CIRCUIT 
        ABS warning light circuit ABS WARNING LIGHT REMAINS ON  or ABS WARNING LIGHT DOES NOT COME ON 
        Brake control warning light circuit BRAKE CONTROL WARNING LIGHT REMAINS ON  or BRAKE CONTROL WARNING LIGHT DOES NOT COME ON 
      4. As an example, the illustration below shows the blinking patterns of the normal system code and trouble codes 31 and 43, and display of the normal system code and trouble code 31 on the multi information display.
        Fig 3: Identifying Blinking Patterns Of Normal System Code And Trouble Codes 31 And 43
        G04025110Courtesy of © TOYOTA, LICENSE AGREEMENT TMS1002
      5. Codes are explained in the code table (See DIAGNOSTIC TROUBLE CODE CHART  ).
      6. After completing the check, disconnect terminals TC and CG of the DLC3, and turn the display off. If 2 or more DTCs are detected at the same time, the DTCs will be displayed in ascending order.
    2. DTC clear
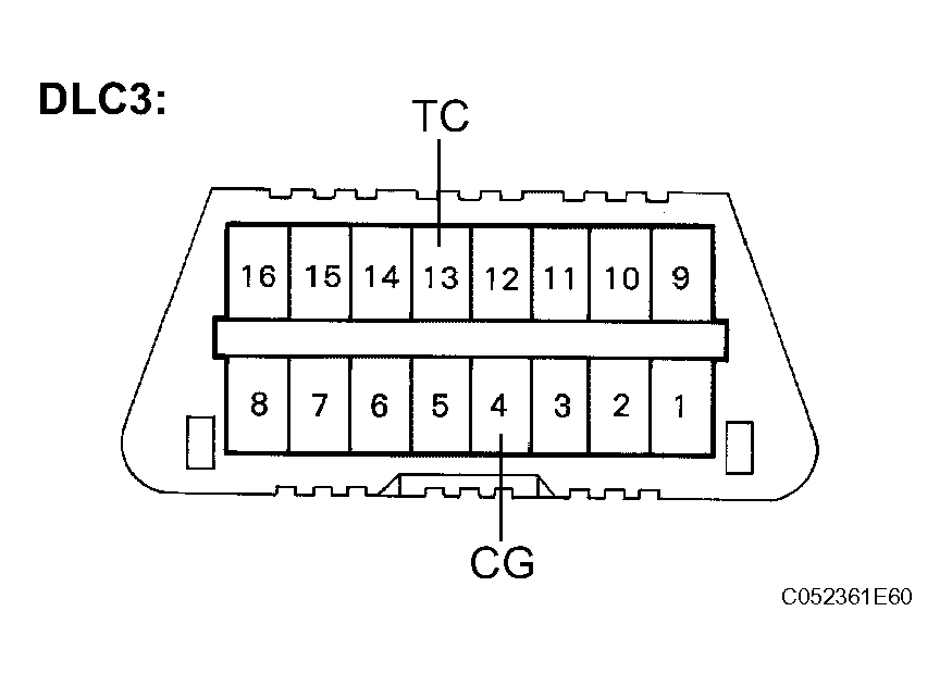
      1. Using SST, connect terminals TC and CG of the DLC3.

        SST 09843-18040 

        Fig 4: Identifying Terminals TC And CG Of DLC3
        G04025111Courtesy of © TOYOTA, LICENSE AGREEMENT TMS1002
      2. Turn the engine switch on (IG).
      3. Clear the DTCs stored in the ECU by depressing the brake pedal 8 times or more within 5 seconds.
      4. Check that the warning light and multi information display indicate the normal system code.
      5. Remove the SST from the terminals of the DLC3.

        HINT:

        Clearing the DTCs cannot be performed by removing the battery cable or the ECU-IG fuse.

        Fig 5: Depressing Brake Pedal
        G04029752Courtesy of © TOYOTA, LICENSE AGREEMENT TMS1002
  3. END OF DTC CHECK/CLEAR (WHEN USING SST CHECK WIRE:) 
    1. Turn the engine switch on (IG).
    2. Check that the ABS and brake control warning lights goes off within approximately 3 seconds.