LEMON Manuals: Even more car manuals for everyone: 1960-2025
Home >> Lexus >> 2006 >> LS 430 >> Repair and Diagnosis >> Engine Performance >> System >> SFI System - Diagnostics >> ECM Power Source Circuit >> Inspection Procedure
April 5, 2026: LEMON Manuals is launched! Read the announcement.

Inspection Procedure

  1. CHECK ECM (+B VOLTAGE) 
    1. Turn the ignition switch ON.
    2. Measure the voltage of the ECM connectors.
    3. Fig 1: Identifying ECM Connector Terminals
      G03004688Courtesy of © TOYOTA, LICENSE AGREEMENT TMS1002

    Standard: 

    ECM CONNECTOR - VOLTAGE TABLE

    Tester Connection Specified Condition
    E3-6 (+B) - E6-7 (E1) 9 to 14 V

    OK: PROCEED TO NEXT CIRCUIT INSPECTION SHOWN IN  PROBLEM SYMPTOMS TABLE  

    NG: Go to next step 

  2. CHECK WIRE HARNESS (ECM - BODY GROUND) 
    1. Disconnect the E6 ECM connector.
    2. Measure the resistance of the wire harness side connector.
    Fig 2: Disconnecting E6 ECM Connector
    G03004689Courtesy of © TOYOTA, LICENSE AGREEMENT TMS1002

    Standard: 

    ECM - BODY GROUND - RESISTANCE TABLE

    Tester Connection Specified Condition
    E6-7 (E1) - Body ground Below 1 Ω

    NG: REPAIR OR REPLACE HARNESS AND CONNECTOR 

    OK: Go to next step 

  3. CHECK ECM (IGSW VOLTAGE) 
    1. Turn the ignition switch ON.
    2. Measure the voltage of the ECM connectors.
    3. Fig 3: Identifying ECM Connector Terminals
      G03004690Courtesy of © TOYOTA, LICENSE AGREEMENT TMS1002

    Standard: 

    ECM CONNECTOR - VOLTAGE TABLE

    Tester Connection Specified Condition
    E3-17 (IGSW) - E6-7 (E1) 9 to 14 V

    OK: Go to step   6 

    NG: Go to next step 

  4. INSPECT FUSE (IGN) 
    1. Remove the IGN fuse from the engine room No. 1 R/B.
    2. Measure the resistance of the IGN fuse.

    Standard: Below 1 Ω 

    Fig 4: Identifying IGN Fuse
    G03004691Courtesy of © TOYOTA, LICENSE AGREEMENT TMS1002

    NG: REPLACE FUSE 

    OK: Go to next step 

  5. INSPECT IGNITION SWITCH 
    1. Measure the resistance of the switch.
    2. Fig 5: Identifying Ignition Switch Terminals
      G03004692Courtesy of © TOYOTA, LICENSE AGREEMENT TMS1002

    Standard: 

    IGNITION SWITCH - RESISTANCE TABLE

    Switch Condition Tester Connection Specified Condition
    LOCK 5 (AM2) - 6 (IG2) 10 kΩ or higher
    ON 5 (AM2) - 6 (IG2) Below 1 Ω

    NG: REPAIR OR REPLACE IGNITION SWITCH 

    OK: CHECK AND REPAIR HARNESS AND CONNECTOR (BATTERY - IGNITION SWITCH, IGNITION SWITCH - ECM) 

  6. CHECK ECM (MREL VOLTAGE) 
    1. Turn the ignition switch ON.
    2. Measure the voltage of the ECM connectors.
    3. Fig 6: Identifying ECM Connector Terminals
      G03004693Courtesy of © TOYOTA, LICENSE AGREEMENT TMS1002

    Standard: 

    ECM CONNECTOR - VOLTAGE TABLE

    Tester Connection Specified Condition
    E3-13 (MREL) - E6-7 (E1) 9 to 14 V

    NG: REPLACE ECM (See  REPLACEMENT  ) 

    OK: Go to next step 

  7. CHECK FUSE (EFI NO. 1) 
    1. Remove the EFI NO. 1 fuse from the engine room No. 1 R/B.
    2. Measure the resistance of the EFI NO. 1 fuse.

    Standard: Below 1 Ω 

    Fig 7: Identifying EFI No. 1 Fuse
    G03004694Courtesy of © TOYOTA, LICENSE AGREEMENT TMS1002

    NG: REPLACE FUSE 

    OK: Go to next step 

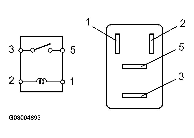
  8. INSPECT RELAY (Marking: EFI MAIN) 
    1. Remove the EFI MAIN relay from the engine room No. 1 R/B.
    2. Measure the resistance of the EFI MAIN relay.
    3. Fig 8: Inspecting EFI MAIN Relay
      G03004695Courtesy of © TOYOTA, LICENSE AGREEMENT TMS1002

    Standard: 

    EFI MAIN RELAY - RESISTANCE TABLE

    Tester Connection Specified Condition
    3 - 5 10 kΩ or higher
    3 - 5 Below 1 Ω (when battery voltage is applied to terminals 1 and 2)

    NG: REPLACE RELAY 

    OK: Go to next step 

  9. CHECK WIRE HARNESS (EFI MAIN RELAY - ECM, EFI MAIN RELAY - BODY GROUND) 
    1. Check the wire harness between the EFI MAIN relay and ECM.
      1. Remove the EFI MAIN relay from the engine room No. 1 R/B.
      2. Disconnect the E3 ECM connector.
      3. Measure the resistance of the wire harness side connectors.
      4. Fig 9: Disconnecting E3 ECM Connector
        G03004696Courtesy of © TOYOTA, LICENSE AGREEMENT TMS1002

      Standard: 

      EFI MAIN RELAY - ECM - RESISTANCE TABLE

      Tester Connection Specified Condition
      R/B EFI MAIN relay terminal 1 - E3-13 (MREL) Below 1 Ω
      R/B EFI MAIN relay terminal 1 or E3-13 (MREL) - Body ground 10 kΩ or higher
    2. Check the wire harness between the EFI MAIN relay and body ground.
      1. Remove the EFI MAIN relay from the engine room No. 1 R/B.
      2. Measure the resistance of the wire harness side connector.

    Standard: 

    EFI MAIN RELAY - BODY GROUND - RESISTANCE TABLE

    Tester Connection Specified Condition
    R/B EFI MAIN relay terminal 2 - Body ground Below 1 Ω

    NG: CHECK AND REPAIR HARNESS AND CONNECTOR (TERMINAL +B OF ECM - BATTERY POSITIVE TERMINAL) 

    OK: REPAIR OR REPLACE HARNESS AND CONNECTOR