LEMON Manuals: Even more car manuals for everyone: 1960-2025
Home >> Lexus >> 2006 >> RX 330 AWD >> Repair and Diagnosis >> Brakes >> Brakes Control Systems >> Brake Control >> Vehicle Stability Control System >> Calibration
April 5, 2026: LEMON Manuals is launched! Read the announcement.

Vehicle Stability Control System: Calibration

  1. CLEAR ZERO POINT CALIBRATION (WHEN USING INTELLIGENT TESTER): 
    1. Connect the intelligent tester to the DLC3.
    2. Turn the ignition switch on.
      Fig 1: Connecting Intelligent Tester To DLC3
      G04090533Courtesy of TOYOTA MOTOR SALES, U.S.A., INC.
    3. Operate the intelligent tester to erase the codes (select "RESET MEMORY").

      HINT:

      Refer to the intelligent tester operator's manual for further details.

    4. Using the intelligent tester, perform zero point calibration of the yaw rate and deceleration sensor.
    Fig 2: Consult-II Display - Reset Memory
    G04090534Courtesy of TOYOTA MOTOR SALES, U.S.A., INC.
  2. PERFORM ZERO POINT CALIBRATION OF YAW RATE AND DECELERATION SENSOR (WHEN USING INTELLIGENT TESTER): 
    NOTE:
    • While obtaining the zero point, do not vibrate the vehicle by tilting, moving or shaking it and keep it in a stationary condition. (Do not turn the ignition switch on.)
    • Be sure to do this on a level surface (with an inclination of less than 1 %).
    1. Procedures for test mode.
      1. Check that the steering wheel is in the straight ahead position and move the shift lever to the P position and apply the parking brake.
      2. Connect the intelligent tester to the DLC3.
      3. Turn the ignition switch on.
        Fig 3: Connecting Intelligent Tester To DLC3
        G04090535Courtesy of TOYOTA MOTOR SALES, U.S.A., INC.
      4. Set the intelligent tester to test mode (select "TEST MODE").

        HINT:

        Refer to the intelligent tester operator's manual for further details.

    2. Obtain the zero point of the yaw rate and deceleration sensor.
      1. Keep the vehicle in the stationary condition on a level surface for 2 seconds or more.
        Fig 4: Consult-II Display - Test Mode
        G04090536Courtesy of TOYOTA MOTOR SALES, U.S.A., INC.
      2. Check that the ABS warning light and VSC warning light blink.

      HINT:

      • If the ABS warning light and VSC warning light do not blink perform zero point calibration again.
      • The zero point calibration is performed only once after the system enters the test mode.
      • Calibration cannot be performed again until the stored data is cleared once.
    3. Turn the ignition switch off and disconnect the intelligent tester.
    Fig 5: Identifying Blinking Pattern
    G04090537Courtesy of TOYOTA MOTOR SALES, U.S.A., INC.
  3. PERFORM ZERO POINT CALIBRATION OF YAW RATE AND DECELERATION SENSOR (WHEN USING SST CHECK WIRE): 
    NOTE:
    • While obtaining the zero point, do not vibrate the vehicle by tilting, moving or shaking it and keep it in a stationary condition. (Do not turn the ignition switch on.)
    • Be sure to do this on a level surface (with an inclination of less than 1 %).
    1. Clear the zero point calibration.
      1. Turn the ignition switch on.
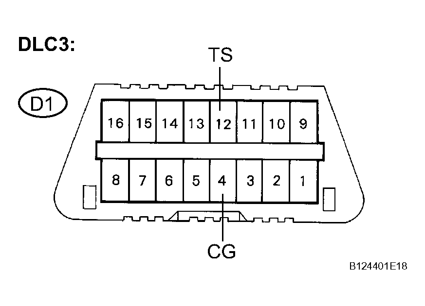
      2. Using SST, connect and disconnect terminals TS and CG of the DLC3 4 times or more within 8 seconds.

        SST 09843-18040 

        Fig 6: Identifying DLC3 Connector Terminals
        G04090538Courtesy of TOYOTA MOTOR SALES, U.S.A., INC.
    2. Procedures for test mode.
      1. Turn the ignition switch off.
      2. Using SST, connect terminals TS and CG of the DLC3.

        SST 09843-18040 

      3. Check that the steering wheel is in the straight ahead position and move the shift lever to the P position.
    3. Obtain the zero point of the yaw rate and deceleration sensor.
      1. Turn the ignition switch on.
      2. Keep the vehicle in a stationary condition on a level surface for 2 seconds or more.
      3. Fig 7: Identifying Blinking Pattern
        G04090539Courtesy of TOYOTA MOTOR SALES, U.S.A., INC.
      4. Check that the ABS warning light and VSC light blink (test mode).

      HINT:

      • If the ABS warning light and VSC warning light do not blink perform zero point calibration again.
      • The zero point calibration is performed only once after the system enters the test mode.
      • Calibration cannot be performed again until the stored data is cleared once.
    4. Turn the ignition switch off and disconnect the SST from the DLC3.