LEMON Manuals: Even more car manuals for everyone: 1960-2025
Home >> Lexus >> 2006 >> RX 330 AWD >> Repair and Diagnosis >> Transmission >> Transfer Case >> Transfer >> Transfer Unit >> Reassembly
April 5, 2026: LEMON Manuals is launched! Read the announcement.

Transfer Unit: Reassembly

  1. INSTALL TRANSFER DRIVEN PINION REAR BEARING 
    1. Using SST(s) and a press, install the transfer driven pinion rear bearing outer race to the transfer case.
    Fig 1: Installing Transfer Driven Pinion Rear Bearing Outer Race To Transfer Case
    G04089761Courtesy of © TOYOTA, LICENSE AGREEMENT TMS1002

    SST 09950-60010 (09951-00620), 09950-70010 (09951-07150) 

    NOTE: Place something like wood blocks under the case to keep its level.
  2. INSTALL TRANSFER OUTPUT WASHER 
    1. Install the transfer output washer to the transfer case.

    HINT:

    Reuse the washer.

  3. INSTALL TRANSFER DRIVEN PINION FRONT BEARING 
    1. Install the transfer driven pinion front bearing outer race to the transfer case with SST(s), bolt and nut.

    SST 09950-60020 (09951-00750, 09951-00770, 09951-00810), 09316-60011 (09316-00061) 

  4. INSTALL RING GEAR MOUNTING CASE PLATE WASHER 
    1. Install the ring gear mounting case plate washer to the transfer case.
    Fig 2: Installing Transfer Driven Pinion Front Bearing Outer Race To Transfer Case
    G04089762Courtesy of © TOYOTA, LICENSE AGREEMENT TMS1002

    HINT:

    Reuse the washer.

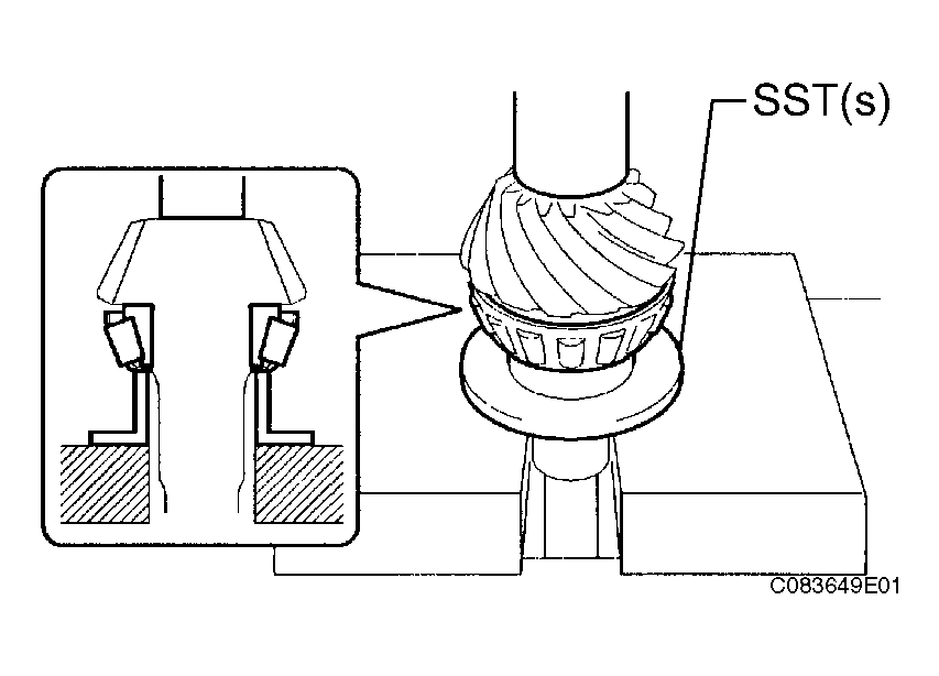
  5. INSTALL CENTER DIFFERENTIAL CASE TAPERED ROLLER BEARING 
    1. Using SST(s) and a press, install the center differential case tapered roller bearing LH outer race to the transfer case.
    Fig 3: Installing Center Differential Case Tapered Roller Bearing LH Outer Race To Transfer Case
    G04089763Courtesy of © TOYOTA, LICENSE AGREEMENT TMS1002

    SST 09950-70010 (09951-07200), 09316-60011 (09316-00021) 

  6. INSTALL TRANSFER DRIVEN PINION FRONT BEARING 
    1. Using SST(s) and a press, install the transfer driven pinion front bearing inner race to the driven pinion.
    Fig 4: Installing Transfer Driven Pinion Front Bearing Inner Race To Driven Pinion
    G04089764Courtesy of © TOYOTA, LICENSE AGREEMENT TMS1002
  7. INSTALL DRIVEN PINION 
    1. Install the driven pinion to the transfer case.
      Fig 5: Installing Driven Pinion To Transfer Case
      G04089765Courtesy of © TOYOTA, LICENSE AGREEMENT TMS1002
    2. Install a new transfer pinion bearing spacer and anew transfer driven pinion rear bearing inner race to the driven pinion.
      Fig 6: Installing Transfer Pinion Bearing Spacer And Transfer Driven Pinion Rear Bearing Inner Race To Driven Pinion
      G04089766Courtesy of © TOYOTA, LICENSE AGREEMENT TMS1002
    3. Using SST(s), tighten a new transfer gear nut (at a standard torque.)
    Fig 7: Tightening Transfer Gear Nut
    G04089767Courtesy of © TOYOTA, LICENSE AGREEMENT TMS1002

    SST 09326-20011, 09556-16030 

    Torque: 277 to 378 N*m (2,820 to 3,855 kgf*cm, 204 to 279 ft.*lbf) 

    NOTE: Do not stake the transfer gear nut.

    HINT:

    Use a torque wrench with a fulcrum length of 750 mm (29.53 in.)

  8. INSPECT AND ADJUST DRIVEN PINION PRELOAD 
    1. Using SST(s) and a torque wrench, measure thee initial torque of the driven pinion.
      Fig 8: Measuring Initial Torque Of Driven Pinion
      G04089768Courtesy of © TOYOTA, LICENSE AGREEMENT TMS1002

      SST 09326-20011, 09556-16030 

      Torque: New bearing 

      1.1 to 1.6 N*m (10 to 16 kgf*cm, 9.7 to 14.2 in.*lbf) 

      Used bearing 

      0.9 to 1.4 N*m (9 to 14 kgf*cm, 8.0 to 12.4 in.*lbf) 

      HINT:

      Use a torque wrench with a fulcrum length of 160 mm (6.30in.)

      NOTE: Measure preload after rotating the bearing both clockwise and counterclockwise to make it fit.
    2. If the preload is too large, replace the transfer pinion bearing spacer with a new one.
    3. If the preload is too small, repeatedly adjust the preload by tightening the transfer gear nut 5 to 10 degrees at a time until the standard value is obtained.
    4. If the preload is insufficient, even though the tightening torque of the transfer gear nut exceeds the maximum of the standard value., loosen the transfer gear nut and apply gear oil SAE 90 (GL-5) to the transfer gear nut and the screw thread and the base of driven pinion. And then repeat the preceding operation. If the tightening torque is bearing spacer with anew one and adjust it.

    Torque: 378 N*m (3.855 kgf*cm, 279 ft.*lbf) 

  9. INSTALL RING GEAR 
    1. Heat the ring gear in boiling water from 90 to 100 °C (194 to 212 °F).
    2. Completely remove grease and moisture on the contact surfaces of the ring gear and the transfer ring gear mounting case.
      Fig 9: Heating Ring Gear In Boiling Water
      G04089769Courtesy of © TOYOTA, LICENSE AGREEMENT TMS1002
    3. Align the matchmarks on the ring gear and transfer ring gear mounting case and quickly assemble them.
    4. Tighten the 12 bolts.
    Fig 10: Aligning Matchmarks On Ring Gear And Transfer Ring Gear Mounting Case
    G04089770Courtesy of © TOYOTA, LICENSE AGREEMENT TMS1002

    Torque: 78 N*m (790 kgf*cm, 57 ft.*lbf) 

    NOTE:
    • Tighten the bolts in diagonal order in splitting several times.
    • After the ring gear has well cooled down, fully tighten the bolts.
    • Make the bolt heads in order to check if they are retightened or not.
  10. INSTALL CENTER DIFFERENTIAL CASE TAPERED ROLLER BEARING 
    1. Using SST(s) and a press, install the inner race of the center differential case tapered roller bearing to the transfer ring gear mounting case.
    Fig 11: Installing Inner Race Of Center Differential Case Tapered Roller Bearing To Transfer Ring Gear Mounting Case
    G04089771Courtesy of © TOYOTA, LICENSE AGREEMENT TMS1002

    SST 09506-35010, 09950-60010 (09951-00430), 09223-00010 

    NOTE: When replacing the inner race, replace it together with the outer race.
  11. INSTALL TRANSFER RING GEAR MOUNTING CASE 
    1. Install the transfer ring gear mounting case to the transfer case.
    NOTE: Damage to the spline, the bearing's rotating surface and gear face may cause a decrease in their strength. Care should be taken when installing them.
    Fig 12: Installing Transfer Ring Gear Mounting Case To Transfer Case
    G04089772Courtesy of © TOYOTA, LICENSE AGREEMENT TMS1002
  12. INSTALL NO. 2 TRANSFER RING GEAR MOUNTING CASE WASHER 
    1. Install the No. 2 transfer ring gear mounting case washer to the transfer RH bearing retainer subassembly.

    HINT:

    Reuse the washer.

  13. INSTALL CENTER DIFFERENTIAL CASE TAPERED ROLLER BEARING 
    1. Using SST(s) and a press, install the center differential case tapered roller bearing RH outer race to the transfer RH bearing retainer subassembly.
    Fig 13: Installing Center Differential Case Tapered Roller Bearing RH Outer Race
    G04089773Courtesy of © TOYOTA, LICENSE AGREEMENT TMS1002

    SST 09950-60010 (09951-00620), 09950-70010 (09951-07150) 

  14. INSTALL TRANSFER RH BEARING RETAINER SUBASSEMBLY 
    1. Place the transfer the face where the transfer RH bearing retainer sub-assembly is to be installed facing up.
    2. Center-align the transfer ring gear mounting case and the transfer case.
      Fig 14: Identifying Transfer
      G04089774Courtesy of © TOYOTA, LICENSE AGREEMENT TMS1002
    3. Install the SST(s) into the transfer RH bearing retainer sub-assembly.
      NOTE: Insert SST(s) straight in order not to damage the oil seal lip.
      Fig 15: Installing SST Into Transfer RH Bearing Retainer Sub-Assembly
      G04089775Courtesy of © TOYOTA, LICENSE AGREEMENT TMS1002
    4. Insert the transfer RH bearing retainer subassembly together with the SST(s) into the transfer case.
      Fig 16: Inserting Transfer RH Bearing Retainer Subassembly With SST Into Transfer Case
      G04089776Courtesy of © TOYOTA, LICENSE AGREEMENT TMS1002
      NOTE: Interference between the case and retainer, and between the transfer ring gear mounting case and SST(s) should be carefully avoided.

      HINT:

      If the retainer cannot be inserted, tap it in with a plastic hammer.

    5. After inserting the transfer RH bearing retainer subassembly into the transfer case, remove the SST(s).
    6. Tighten the 7 bolts.
    Fig 17: Tightening Bolts
    G04089777Courtesy of © TOYOTA, LICENSE AGREEMENT TMS1002

    Torque: 28 N*m (286 kgf*cm, 21 ft.*lbf) 

  15. INSPECT DIFFERENTIAL RING GEAR BACKLASH 
    1. Set the dial gauge perpendicular to the ring gear face, fix the driven pinion, and check backlash by moving the ring gear.
      Fig 18: Checking Differential Ring Gear Backlash
      G04089778Courtesy of © TOYOTA, LICENSE AGREEMENT TMS1002

      Backlash: 

      0.10 to 0.15 mm (0.0039 to 0.0059 in.) 

      NOTE: Measure it at 3 points or more on the ring gear periphery.
    2. If the measured value is out of standard, select a proper washer for the center differential case tapered roller bearing on the LH side from the table below and install it to obtain the standard value.
      WASHER THICKNESS SPECIFICATION

      Mark Washer Thickness mm (in.) Mark Washer Thickness mm (in.) Mark Washer Thickness mm (in.)
      AA 2.07 (0.0814) AB 2.10 (0.0826) AC 2.13 (0.0838)
      BA 2.16 (0.0850) BB 2.19 (0.0862) BC 2.22 (0.0874)
      CA 2.25 (0.0885) CB 2.28 (0.0897) CC 2.31 (0.0909)
      DA 2.34 (0.0921) DB 2.37 (0.0933) DC 2.40 (0.0944)
      EA 2.43 (0.0956) EB 2.46 (0.0968) EC 2.49 (0.0980)
      FA 2.52 (0.0992) FB 2.55 (0.1003) FC 2.58 (0.1015)
      GA 2.61 (0.1027) GB 2.64 (0.1039) GC 2.67 (0.1051)
      HA 2.70 (0.1062) HB 2.73 (0.1074) HC 2.76 (0.1086)
      JA 2.79 (0.1098) JB 2.82 (0.1110) JC 2.85 (0.1122)
      KA 2.88 (0.1133) KB 2.91 (0.1145) KC 2.94 (0.1157)
      LA 2.97 (0.1169) LB 3.00 (0.1181)    

      HINT:

      When the backlash is larger or smaller than the standard, select a thinner or thicker washer respectively.

    3. Ring gear mounting case plate washer location is shown in the illustration.
    Fig 19: Identifying Ring Gear Mounting Case Plate Washer Location
    G04089779Courtesy of © TOYOTA, LICENSE AGREEMENT TMS1002
  16. INSPECT TOOTH CONTACT BETWEEN RING GEAR AND DRIVE PINION 
    1. Apply red lead primer thinly and uniformly to both faces of the ring gear and rotate it several times.
      NOTE: Check the tooth contact on the ring gear at 4 places or more.
    2. Observe the pattern shown by red lead primer.
      Fig 20: Applying Red Lead Primer To Both Faces Of Ring Gear
      G04089780Courtesy of © TOYOTA, LICENSE AGREEMENT TMS1002
      Fig 21: Identifying Ring Gear Tooth Contact
      G04089781Courtesy of © TOYOTA, LICENSE AGREEMENT TMS1002
    3. In case of poor tooth contact, select a washer for the driven pinion bearing front side from the following table and replace it.
      NOTE: If the washer thickness is changed, the backlash will be also changed.
      WASHER THICKNESS SPECIFICATION

      Mark Washer Thickness mm (in.) Mark Washer Thickness mm (in.) Mark Washer Thickness mm (in.)
      AA 1.20 (0.0472) AC 1.22 (0.0480) BB 1.24 (0.0488)
      CA 1.26 (0.0496) CC 1.28 (0.0503) DB 1.30 (0.0511)
      EA 1.32 (0.0519) EC 1.34 (0.0527) FB 1.36 (0.0535)
      GA 1.38 (0.0543) GC 1.40 (0.0551) HB 1.42 (0.0559)
      JA 1.44 (0.0566) JC 1.46 (0.0574) KB 1.48 (0.0582)
      LA 1.50 (0.0590) LC 1.52 (0.0598) MB 1.54 (0.0606)
      NA 1.56 (0.0614) NC 1.58 (0.0622) PB 1.60 (0.0629)
      QA 1.62 (0.0637) QC 1.64 (0.0645)    
    4. The location of the transfer output washer for tooth contact adjustment is shown in the illustration.
    Fig 22: Identifying Location Of Transfer Output Washer For Tooth Contact Adjustment
    G04089782Courtesy of © TOYOTA, LICENSE AGREEMENT TMS1002
  17. ADJUST TOTAL PRELOAD 
    1. Using SST(s) and a torque wrench, measure the initial torque with the driven pinion bearing contact with the ring gear face.
      Fig 23: Checking Total Preload Of Driven Pinion
      G04089783Courtesy of © TOYOTA, LICENSE AGREEMENT TMS1002

      SST 09326-20011 

      Torque: New bearing 

      +0.2 to 0.4 N*m (+2.3 to 3.9 kgf*cm, 1.8 to 3.5 in.*lbf) 

      Used bearing 

      +0.15 to 0.30 N*m (+1.6 to 3.1 kgf*cm, 1.3 to 2.7 in.*lbf) 

      NOTE: Before measurement, rotate the bearing in both directions several times to make it fit.

      HINT:

      Use a torque wrench with a fulcrum length of 160 mm (6.30 in.)

    2. If the value is out of standard range, select the washer for the center differential case tapered roller bearing RH side from the following table and replace it.
      WASHER THICKNESS SPECIFICATION

      Mark Washer Thickness mm (in.) Mark Washer Thickness mm (in.) Mark Washer Thickness mm (in.)
      AA 1.47 (0.0578) AB 1.50 (0.0590) AC 1.53 (0.0602)
      BA 1.56 (0.0614) BB 1.59 (0.0625) BC 1.62 (0.0637)
      CA 1.65 (0.0649) CB 1.68 (0.0661) CC 1.71 (0.0673)
      DA 1.74 (0.0685) DB 1.77 (0.0696) DC 1.80 (0.0708)
      EA 1.83 (0.0720) EB 1.86 (0.0732) EC 1.89 (0.0744)
      FA 1.92 (0.0755) FB 1.95 (0.0767) FC 1.98 (0.0779)
      GA 2.01 (0.0790) GB 2.04 (0.0803) GC 2.07 (0.0814)
      HA 2.10 (0.0826) HB 2.13 (0.0838) HC 2.16 (0.0850)
      JA 2.19 (0.0862) JB 2.22 (0.0874) JC 2.25 (0.0885)
      KA 2.28 (0.0897) KB 2.31 (0.0909) KC 2.34 (0.0921)
      LA 2.37 (0.0933) LB 2.40 (0.0944) LC 2.43 (0.0956)
      MA 2.46 (0.0968) MB 2.49 (0.0980) MC 2.52 (0.0992)
      NA 2.55 (0.1003) NB 2.58 (0.1015)    
    3. The location of the transfer ring gear mounting case washer No. 2 for preload adjustment is show in the illustration.
      Fig 24: Identifying Location Of Transfer Ring Gear Mounting Case Washer No 2
      G04089784Courtesy of © TOYOTA, LICENSE AGREEMENT TMS1002
    4. Using a chisel, stake the transfer gear nut.
    Fig 25: Staking Transfer Gear Nut
    G04089785Courtesy of © TOYOTA, LICENSE AGREEMENT TMS1002
  18. REMOVE TRANSFER RH BEARING RETAINER SUBASSEMBLY 
    1. remove the 7 bolts from the transfer RH bearing retainer sub-assembly.
      Fig 26: Removing Bolts From Transfer Rh Bearing Retainer Sub-Assembly
      G04089786Courtesy of © TOYOTA, LICENSE AGREEMENT TMS1002
    2. Using a screwdriver and a hammer, make a opening between the transfer RH bearing retainer subassembly
      Fig 27: Making Opening Between Transfer RH Bearing Retainer Subassembly
      G04089787Courtesy of © TOYOTA, LICENSE AGREEMENT TMS1002
      NOTE: Be careful not to damage the transfer RH bearing retainer sub-assembly and the transfer case.
    3. Using SST(s), remove the transfer RH bearing retainer sub-assembly from the transfer case.

    SST 09520-10021 

    Fig 28: Removing Transfer RH Bearing Retainer Sub-Assembly From Transfer Case
    G04089788Courtesy of © TOYOTA, LICENSE AGREEMENT TMS1002
  19. REMOVE CENTER DIFFERENTIAL CASE TAPERED ROLLER BEARING 
    1. Fix the transfer RH bearing retainer sub-assembly in a vise.
    2. Using SST(s), remove the center differential case tapered roller bearing RH outer race and transfer ring gear mounting case washer No. 2 from the transfer RH bearing retainer sub-assembly.
    Fig 29: Removing Center Differential Case Tapered Roller Bearing RH Outer Race
    G04089789Courtesy of © TOYOTA, LICENSE AGREEMENT TMS1002

    SST 09308-00010 

  20. INSTALL SIDE GEAR SHAFT HOLDER BEARING 
    1. Install the side gear shaft holder bearing to the transfer RH bearing retainer sub-assembly.
    2. Using snap ring pliers, install the side gear shaft holder hole snap ring.
    Fig 30: Installing Side Gear Shaft Holder Hole Snap Ring
    G04089790Courtesy of © TOYOTA, LICENSE AGREEMENT TMS1002

    HINT:

    Check that the side gear shaft holder hole snap ring fits in the groove of the transfer RH bearing retainer sub-assembly.

  21. INSTALL TRANSFER RH BEARING RETAINER OIL SEAL 
    1. Using SST(s) and a press, install the transfer RH bearing retainer oil seal No. 2 to the transfer RH bearing retainer sub-assembly.
      Fig 31: Installing Transfer RH Bearing Retainer Oil Seal No 2
      G04089791Courtesy of © TOYOTA, LICENSE AGREEMENT TMS1002

      SST 09950-60010 (09951-00350, 09951-00560, 09952-06010), 09950-70010 (09951-07150) 

      NOTE: Carefully press-fit so that the oil seal will not be tilted.
    2. Apply small amount of MP grease No. 2 to the oil seal lip.
  22. INSTALL NO. 2 TRANSFER RING GEAR MOUNTING CASE WASHER 
    1. Install the No. 2 selected transfer ring gear mounting washer to the transfer RH bearing retainer sub-assembly.
  23. INSTALL CENTER DIFFERENTIAL CASE TAPERED ROLLER BEARING 
    1. Using SST(s) and a press, install the center differential case tapered roller bearing RH outer race to the transfer RH bearing retainer subassembly.
    Fig 32: Installing Center Differential Case Tapered Roller Bearing RH Outer Race
    G04089792Courtesy of © TOYOTA, LICENSE AGREEMENT TMS1002

    SST 09950-60010 (09951-00620), 09950-70010 (09951-07150) 

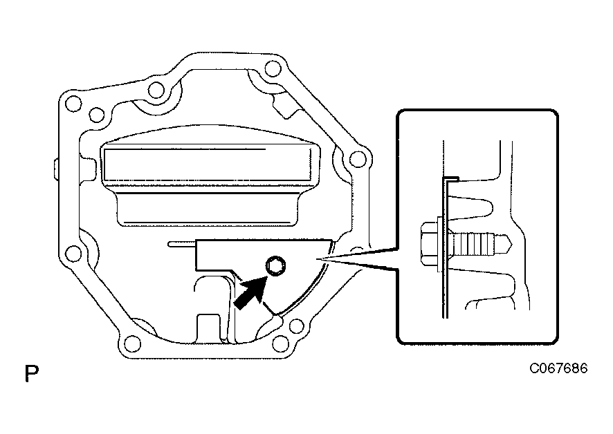
  24. INSTALL O-RING 
    1. Coat the 2 O-rings with hypoid gear oil.
    2. Install the 2 O-rings to the transfer RH bearing retainer sub-assembly.
    Fig 33: Installing O-Rings To Transfer RH Bearing Retainer Sub-Assembly
    G04089793Courtesy of © TOYOTA, LICENSE AGREEMENT TMS1002
    NOTE: Be careful not to twist the O-ring and fit it properly in the retainer's groove.
  25. INSTALL TRANSFER RH BEARING RETAINER SUBASSEMBLY 
    1. Place the transfer with the surface where the transfer RH bearing retainer sub-assembly is facing up.
    2. Align the centers of the transfer ring gear mounting case and the transfer case.
      Fig 34: Aligning The Centers Of Transfer Ring Gear Mounting Case
      G04089794Courtesy of © TOYOTA, LICENSE AGREEMENT TMS1002
    3. Insert SST(s) into the transfer RH bearing retainer sub-assembly.
      Fig 35: Installing SST Into Transfer RH Bearing Retainer Sub-Assembly
      G04089795Courtesy of © TOYOTA, LICENSE AGREEMENT TMS1002

      SST 09387-00090 

      NOTE: Insert SST(s) straight in order not to damage the oil seal.
    4. Insert transfer RH bearing retainer sub-assembly together with SST(s) into the transfer case.
      Fig 36: Inserting Transfer RH Bearing Retainer Sub-Assembly With SST Into Transfer Case
      G04089796Courtesy of © TOYOTA, LICENSE AGREEMENT TMS1002
      NOTE:
      • Avoid interference between the case and the retainer, and between the SST(s) and the transfer ring gear mounting case.
      • Carefully check the retainer's O-ring for damage and incorrect fitting.

      HINT:

      If the retainer be inserted into the case, tap it in with a plastic hammer.

    5. After inserting transfer RH bearing retainer subassembly into the transfer case, remove the SST(s).
      Fig 37: Removing SST
      G04089797Courtesy of © TOYOTA, LICENSE AGREEMENT TMS1002
    6. Tighten the 7 bolts.

    Torque: 28 N*m (286 kgf*cm, 21 ft.*lbf) 

    Fig 38: Tightening Bolts
    G04089798Courtesy of © TOYOTA, LICENSE AGREEMENT TMS1002
  26. INSPECT TOTAL PRELOAD 
    1. Using SST(s) and a torque wrench, measure the initial torque with the driven pinion being in contact with the ring gear face.
    Fig 39: Checking Total Preload Of Driven Pinion
    G04089799Courtesy of © TOYOTA, LICENSE AGREEMENT TMS1002

    SST 09326-20011 

    Torque: New bearing 

    +0.2 to 0.4 N*m (+2.3 to 3.9 kgf*cm, 1.8 to 3.5 in.*lbf) 

    Used bearing 

    +0.15 to 0.30 N*m (+1.6 to 3.1 kgf*cm, 1.3 to 2.7 in.*lbf) 

    HINT:

    Use a torque wrench with a fulcrum length of 160mm (6.30 in.)

  27. INSTALL TRANSFER RH BEARING RETAINER OIL SEAL 
    1. Using SST(s), install the transfer RH bearing retainer oil seal to the transfer RH bearing retainer sub-assembly to the position as shown in the illustration.
      Fig 40: Installing Transfer RH Bearing Retainer Oil Seal To Transfer RH Bearing Retainer Sub-Assembly
      G04089800Courtesy of © TOYOTA, LICENSE AGREEMENT TMS1002

      SST 09223-46011 

      NOTE: Install the oil seal carefully so that it will not be tilted.
    2. Apply MP grease to the oil seal lip.
  28. INSTALL TRANSFER CASE OIL SEAL 
    1. Using(s), install the transfer case oil seal to the transfer case at the position as shown in the illustration.
      Fig 41: Installing Transfer Case Oil Seal To Transfer Case
      G04089801Courtesy of © TOYOTA, LICENSE AGREEMENT TMS1002

      SST 09387-00010, 09950-70010 (09951-07150) 

      NOTE: Install the oil seal carefully so that it will not be tilted.
    2. Apply small amount of MP grease to the oil seal lip.
  29. INSTALL CTR DIFFERENTIAL LOCK SLEEVE 
    1. Coat a new O-ring with hypoid gear oil.
    2. Install the O-ring to the CTR differential lock sleeve.
      Fig 42: Installing O-Ring To CTR Differential Lock Sleeve
      G04089802Courtesy of © TOYOTA, LICENSE AGREEMENT TMS1002
      NOTE: Be careful not to twist the O-ring and fit it properly in the retainer's groove.
    3. Using SST(s), install the CTR differential lock sleeve to the transfer case.
      Fig 43: Installing CTR Differential Lock Sleeve To Transfer Case
      G04089803Courtesy of © TOYOTA, LICENSE AGREEMENT TMS1002

      SST 09950-60010 (09951-00610), 09950-70010 (09951-07150) 

    4. Using snap ring pliers, install the shaft snap ring.
    Fig 44: Installing Shaft Snap Ring
    G04089804Courtesy of © TOYOTA, LICENSE AGREEMENT TMS1002
    NOTE: Check that the snap ring is fitted in the groove of the ring gear mounting case.
  30. INSTALL TRANSFER EXTENSION HOUSING TYPE T OIL SEAL 
    1. Using SST(s), install the transfer extension housing type T oil seal to the transfer extension housing at the position as shown in the illustration.
      Fig 45: Installing Transfer Extension Housing Type T Oil Seal To Transfer Extension Housing
      G04089805Courtesy of © TOYOTA, LICENSE AGREEMENT TMS1002

      SST 09950-60010 (09951-00380, 09951-00580, 09951-07150, 09952-06010), 09950-70010 

      NOTE: Install the oil seal carefully so that it will not be tilted.
    2. Apply small amount of MP grease No. 2 to the oil seal lip.
  31. INSTALL TRANSFER EXTENSION HOUSING DUST DEFLECTOR 
    1. Using SST(s) and press, install a new transfer extension housing dust deflector to the transfer extension housing sub-assembly.
    Fig 46: Installing Transfer Extension Housing Dust Deflector
    G04089806Courtesy of © TOYOTA, LICENSE AGREEMENT TMS1002

    SST 09950-60020 (09951-00710), 09950-70010 (09951-07150) 

  32. INSTALL TRANSFER EXTENSION HOUSING SUBASSEMBLY 
    1. Apply sealant 1281 to the transfer extension housing sub-assembly in continuous beaded from of 1.2 mm diameter as show in the illustration.
      Fig 47: Applying Sealant 1281 To Transfer Extension Housing Sub-Assembly
      G04089807Courtesy of © TOYOTA, LICENSE AGREEMENT TMS1002
      NOTE:
      • Wipe any grease off from the attaching surfaces.
      • Install the transfer extension housing subassembly within 10 minutes after applying the sealant.
    2. Install the transfer extension housing sub-assembly to the transfer case with the 4 bolts.

      Torque: 26 N*m (260 kgf*cm, 19 ft.*lbf) 

    3. Remove the transfer assembly from the overhaul attachment.
    Fig 48: Installing Transfer Extension Housing Sub-Assembly To Transfer Case
    G04089808Courtesy of © TOYOTA, LICENSE AGREEMENT TMS1002
  33. INSTALL TRANSFER AND TRANSAXLE SETTING STUD BOLT 
    1. Install the transfer and transaxle setting stud bolts to the parts of the transfer case as show in the illustration.
    Fig 49: Installing Transfer And Transaxle Setting Stud Bolts
    G04089809Courtesy of © TOYOTA, LICENSE AGREEMENT TMS1002

    Torque: 39 N*m (400 kgf*cm, 30 ft.*lbf) 

    NOTE: Install the sealant-coated side of the transfer and transaxle stud bolt to the transfer case.
  34. INSTALL TRANSFER CASE STRAIGHT PIN 
    1. Using a plastic hammer, install the transfer case straight pins to the transfer case as shown in thee illustration.
    Fig 50: Installing Transfer Case Straight Pins To Transfer Case
    G04089810Courtesy of © TOYOTA, LICENSE AGREEMENT TMS1002
  35. INSTALL TRANSFER DYNAMIC DAMPER 
    1. Install the transfer dynamic damper to the transfer extension housing sub-assembly with the 3 bolts.
    Fig 51: Installing Transfer Dynamic Damper To Transfer Extension Housing Sub-Assembly
    G04089811Courtesy of © TOYOTA, LICENSE AGREEMENT TMS1002

    Torque: 26 N*m (260 kgf*cm, 19 ft.*lbf) 

  36. INSTALL BREATHER OIL DEFLECTOR 
    1. Install the breather oil deflector to the transfer case cover No. 1 with the bolt.
    Fig 52: Installing Breather Oil Deflector To Transfer Case Cover No 1
    G04089812Courtesy of © TOYOTA, LICENSE AGREEMENT TMS1002

    Torque: 6.5 N*m (66 kgf*cm, 57 in.*lbf) 

    NOTE: Be careful about the direction of the deflector's fold.
  37. INSTALL NO. 1 TRANSFER CASE COVER 
    1. Apply sealant 1281 to the transfer case cover No. 1 in a continuous bead of 1.2 mm diameter as show in the illustration.
      Fig 53: Applying Sealant 1281 To Transfer Case Cover No 1
      G04089813Courtesy of © TOYOTA, LICENSE AGREEMENT TMS1002
      NOTE:
      • Wipe any grease off from the attaching surfaces.
      • Install the transfer case cover No. 1 within 10 minutes after application of the sealant.
    2. Install the transfer case cover No. 1 to the transfer case with 8 bolts.

    Torque: 20 N*m (200 kgf*cm, 14 ft.*lbf) 

    Fig 54: Installing Transfer Case Cover No 1 To Transfer Case
    G04089814Courtesy of © TOYOTA, LICENSE AGREEMENT TMS1002
  38. INSTALL TRANSFER CASE BREATHER PLUG 
    1. Using SST(s) and a hammer, install the transfer case breather plug to the transfer case cover No. 1.

    SST 09612-10093 (09612-10061) 

    Fig 55: Installing Transfer Case Breather Plug To Transfer Case Cover No 1
    G04089815Courtesy of © TOYOTA, LICENSE AGREEMENT TMS1002
  39. INSTALL TRANSFER COVER GASKET 
    1. Install a new transfer cover gasket to the transfer case.
    Fig 56: Installing New Transfer Cover Gasket To Transfer Case
    G04089816Courtesy of © TOYOTA, LICENSE AGREEMENT TMS1002