LEMON Manuals: Even more car manuals for everyone: 1960-2025
Home >> Lexus >> 2006 >> RX 400h AWD >> Repair and Diagnosis >> Body & Frame >> Windows >> Windshield / WINDOWGLASS >> Power Window Control System >> System Diagram
April 5, 2026: LEMON Manuals is launched! Read the announcement.

System Diagram

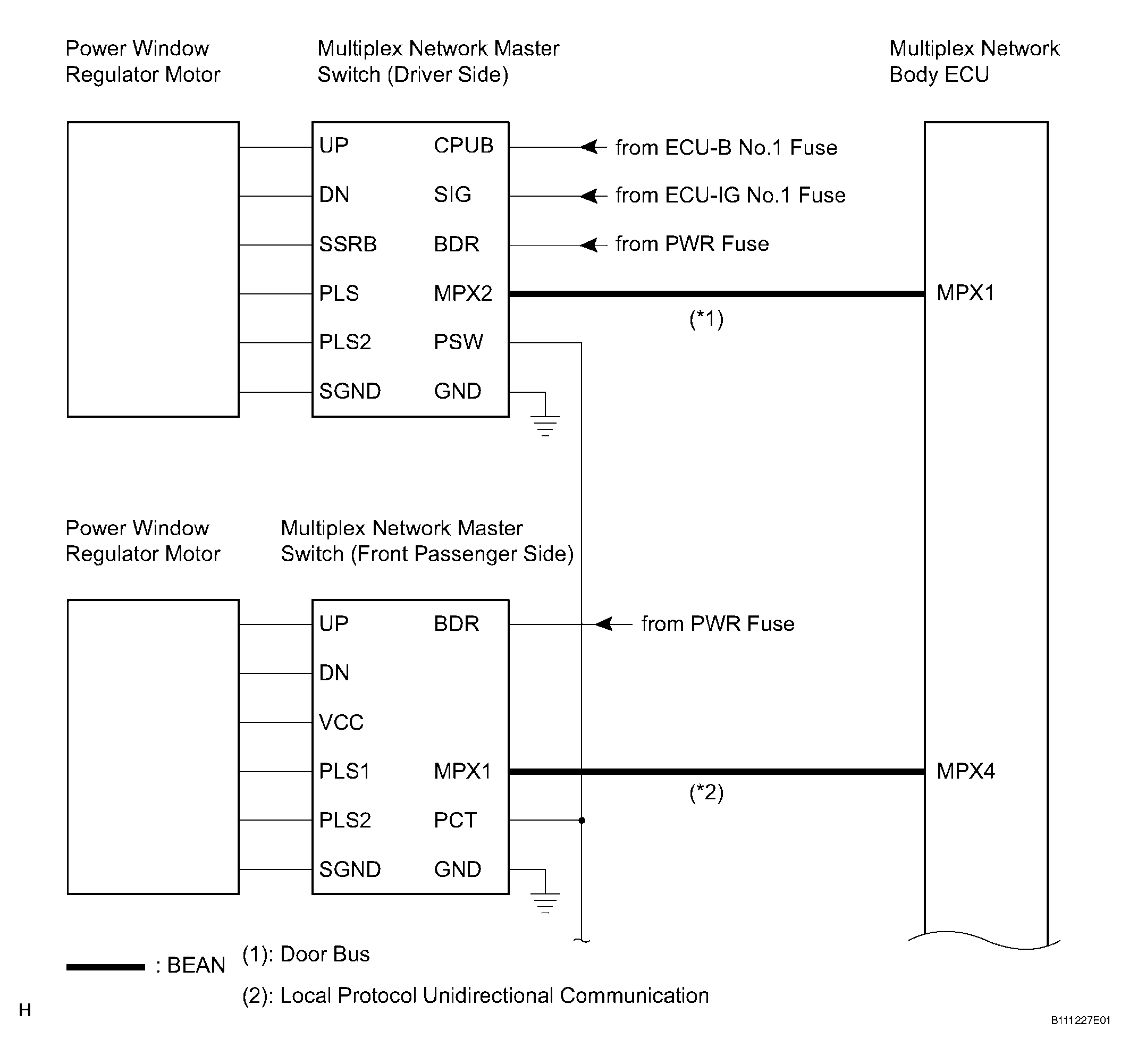
Fig 1: Power Window Control System Diagram (1 Of 2)
G04116011Courtesy of © TOYOTA, LICENSE AGREEMENT TMS1002
Fig 2: Power Window Control System Diagram (2 Of 2)
G04116012Courtesy of © TOYOTA, LICENSE AGREEMENT TMS1002