LEMON Manuals: Even more car manuals for everyone: 1960-2025
Home >> Lexus >> 2006 >> SC 430 >> Repair and Diagnosis >> Engine Performance >> Fuel Delivery >> Fuel >> Fuel System >> Inspection
April 5, 2026: LEMON Manuals is launched! Read the announcement.

Fuel System: Inspection

  1. INSPECT FUEL INJECTOR ASSY 
    1. Inspect the resistance of the injector.

      Using an ohmmeter, measure the resistance between the terminals.

      Standard: 13.4 to 14.2 Ω at 20°C (68°F) 

      If the result is not as specified, replace the injector assy.

    2. Inspect the injector injection.
      CAUTION: Keep the injector from sparks during the test.
    3. Disconnect the fuel inlet hose (rear fuel pipe) from the fuel main tube.
    4. Temporarily install SST (union) to the fuel main tube.

      SST 09268-41047 (09268-52011)

      Fig 1: Installing SST (Union) To Fuel Main Tube
      G02958599Courtesy of © TOYOTA, LICENSE AGREEMENT TMS1002
    5. Tighten the flare nut on the fuel main tube (see PRECAUTION  ).
    6. Connect SST (hose) to the SST (union).

      SST 09268-41047

      Fig 2: Connecting SST (Hose) To SST (Union)
      G02958600Courtesy of © TOYOTA, LICENSE AGREEMENT TMS1002
    7. Install the O-ring to the injector.
    8. Connect SST (union and hose) to the injector, and hold the injector and union with SST (clamp).

      SST 09268-41047 (09268-41110, 09268-41300)

      Fig 3: Connecting SST (Union & Hose) To Injector
      G02958601Courtesy of © TOYOTA, LICENSE AGREEMENT TMS1002
    9. Put the injector into a graduated cylinder.
      CAUTION: Install a suitable vinyl hose onto the injector to prevent gasoline from spraying.
    10. Connect the hand-held tester to the DLC3.
      Fig 4: Connecting Hand-Held Tester To DLC3
      G02958602Courtesy of © TOYOTA, LICENSE AGREEMENT TMS1002
    11. Connect the battery negative (-) cable to the battery.
    12. Turn the ignition switch ON, and push the hand-held tester main switch ON.
      NOTE: Do not start the engine.
    13. Select the ACTIVE TEST mode on the hand-held tester.

      HINT:

      Refer to the hand-held tester operator's manual for further details.

    14. If no hand-held tester is available, connect the battery's positive (+) and negative (-) leads to the fuel pump connector (see ON-VEHICLE INSPECTION  ).
    15. Connect SST (wire) to the injector and battery for 15 seconds, and measure the injection volume with a graduated cylinder. Test each injector 2 or 3 times.

      SST 09842-30070

      • Injection volume: 60 to 73 cm 3  (3.7 to 4.5 cu in.) per 15 seconds 
      • Difference between each injector: 13 cm 3  (0.8 cu in.) or less 

      If the injection volume is not as specified, replace the injector.

      Fig 5: Connecting SST (Wire) To Injector & Battery
      G02958603Courtesy of © TOYOTA, LICENSE AGREEMENT TMS1002
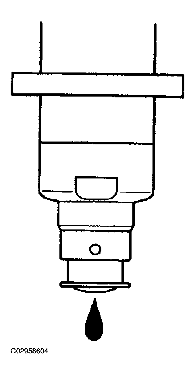
    16. Inspect the fuel leakage.
      1. In the condition above, disconnect the SST (wire) tester probes from the battery and check the fuel leakage from the injector.

        SST 09842-30070

        Fuel drop: 1 drop or less per 12 minutes 

      2. Turn the ignition switch OFF.
      3. Disconnect the cable from the negative (-) battery terminal.
      4. Remove SST.

        SST 09268-41047, 09842-30070

      5. Disconnect the hand-held tester from the DLC3.
      6. Reconnect the fuel inlet hose (rear fuel pipe) to the fuel main tube (see PRECAUTION  ).
        Fig 6: Checking If There Is Fuel Leakage
        G02958604Courtesy of © TOYOTA, LICENSE AGREEMENT TMS1002