LEMON Manuals: Even more car manuals for everyone: 1960-2025
Home >> Lexus >> 2006 >> SC 430 >> Repair and Diagnosis >> Engine Performance >> Remove, Overhaul & Install >> Engine Control System >> SFI System >> Inspection
April 5, 2026: LEMON Manuals is launched! Read the announcement.

SFI System: Inspection

  1. INSPECT MASS AIR FLOW METER 
    1. Check the output voltage.
      1. Apply battery voltage across terminals 1 (+B) and 2 (EVG).
      2. Using a voltmeter, connect the positive (+) tester probe to terminal 3 (VG), and negative (-) tester probe to terminal 2 (EVG).
      3. Blow air into the MAF meter, and check that the voltage fluctuates.
    2. Measure the resistance between terminals 4 (THA) and 5 (ETHA).

      Standard: 

      MASS AIR FLOW METER SPECIFIED CONDITION

      Condition Specified Condition
      -20°C (-4°F) 13.6 to 18.4 k ohms
      20°C (68°F) 2.21 to 2.69 k ohms
      60°C (140°F) 0.493 to 0.667 k ohms

      If the result is not as specified, replace the MAP meter.

      Fig 1: Inspecting Mass Air Flow Meter
      G02957868Courtesy of © TOYOTA, LICENSE AGREEMENT TMS1002
  2. INSPECT ACCELERATOR PEDAL ROD ASSY 
    1. Measure the resistance between the terminals.

      Standard: 

      ACCELERATOR PEDAL ROD ASSY SPECIFIED CONDITION

      Tester Connection Specified Condition
      4 (VCP1) - 1 (EP1) 5.0 k ohms or less
      6 (VCP2) - 3 (EP2) 5.0 k ohms or less
      5 (VPA1) - 1 (EP1) 1.5 to 6.0 k ohms
      2 (VPA2) - 3 (EP2) 1.5 to 6.0 k ohms

      If the result is not as specified, replace the pedal assy.

      Fig 2: Inspecting Accelerator Pedal Rod Assy
      G02957869Courtesy of © TOYOTA, LICENSE AGREEMENT TMS1002
  3. INSPECT THROTTLE ACTUATOR 
    1. Disconnect the throttle actuator connector.
    2. Measure the throttle actuator resistance between terminals 2 (M+) and 1 (M-).

      Standard: 0.3 to 100 Ω at 20°C (68°F) 

      If the result is not as specified, replace the throttle body.

    3. Connect the throttle actuator connector.
      Fig 3: Inspecting Throttle Actuator
      G02957870Courtesy of © TOYOTA, LICENSE AGREEMENT TMS1002
  4. INSPECT THROTTLE POSITION SENSOR 
    1. Disconnect the throttle position sensor connector.
    2. Measure the resistance between terminals 1 (VC) and 4 (E2).

      Resistance: 1.25 to 2.35 kΩ at 20°C (68°F) 

      If the result is not as specified, replace the throttle position sensor.

    3. Connect the throttle position sensor connector.
      Fig 4: Inspecting Throttle Position Sensor
      G02957871Courtesy of © TOYOTA, LICENSE AGREEMENT TMS1002
  5. INSPECT CAMSHAFT TIMING OIL CONTROL VALVE ASSY 
    1. Measure the resistance between the terminals.

      Resistance: 6.9 to 7.9 Ω at 20°C (68°F) 

    2. Connect the battery's positive (+) lead to terminal 1 and negative (-) lead to terminal 2, and check the movement of the valve.

      OK: 

      Fig 5: Camshaft Timing Oil Control Valve Assy Table
      G02957873Courtesy of © TOYOTA, LICENSE AGREEMENT TMS1002
      Fig 6: Inspecting Camshaft Timing OIl Control Valve Assy
      G02957872Courtesy of © TOYOTA, LICENSE AGREEMENT TMS1002

      If the result is not as specified, replace the valve assy

  6. INSPECT ENGINE COOLANT TEMPERATURE SENSOR 
    1. Measure the resistance between the terminals.

      Standard: 

      ENGINE COOLANT TEMPERATURE SENSOR SPECIFIED CONDITION

      Condition Specified Condition
      Approx. 20°C (68°F) 2.32 to 2.59 k ohms
      Approx. 80°C (176°F) 0.31 to 0.326 k ohms
      Fig 7: Inspecting Engine Coolant Temperature Sensor
      G02957874Courtesy of © TOYOTA, LICENSE AGREEMENT TMS1002

      If the result is not as specified, replace the sensor.

      NOTE: If checking the ECT sensor in the water, keep the terminals dry. After the check, wipe the sensor dry.
  7. INSPECT KNOCK SENSOR 
    1. Measure the resistance between the terminal and body ground.

      Standard: 120 to 280 kΩ at 20°C (68°F) 

      If the result is not as specified, replace the sensor.

      Fig 8: Inspecting Knock Sensor
      G02957875Courtesy of © TOYOTA, LICENSE AGREEMENT TMS1002
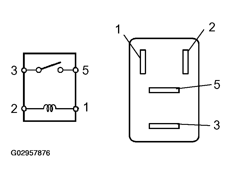
  8. INSPECT RELAY (Marking: EFI, CIR OPN) 
    1. Measure the resistance of the EFI and CIR OPN relays.

      Standard: 

      RELAY (MARKING: EFI, CIR OPN) SPECIFIED CONDITION

      Tester Connection Specified Condition
      3 - 5 10 k ohms or higher
      3 - 5 Below 1 ohms (when battery voltage is applied to terminals 1 and 2)
      Fig 9: Inspecting Relay (Marking: EFI, CIR OPN)
      G02957876Courtesy of © TOYOTA, LICENSE AGREEMENT TMS1002

      If the result is not as specified, replace the relay.

  9. INSPECT RELAY (Marking: F/PMP) 
    1. Measure the resistance of the F/PMP relay.

      Standard: 

      RELAY (MARKING: F/PMP) SPECIFIED CONDITION

      Tester Connection Specified Condition
      3 - 4 Below 1 ohms
      3 - 4 10 k ohms or higher (when battery voltage is applied to terminals 1 and 2)
      Fig 10: Inspecing Relay (Marking: F/PMP)
      G02957877Courtesy of © TOYOTA, LICENSE AGREEMENT TMS1002

      If the result is not as specified, replace the relay.