LEMON Manuals: Even more car manuals for everyone: 1960-2025
Home >> Lexus >> 2007 >> ES 350 >> Repair and Diagnosis >> Brakes >> Traction Control >> Brake Control >> Vehicle Stability Control System >> System Description
April 5, 2026: LEMON Manuals is launched! Read the announcement.

System Description

  1. FUNCTION DESCRIPTION 

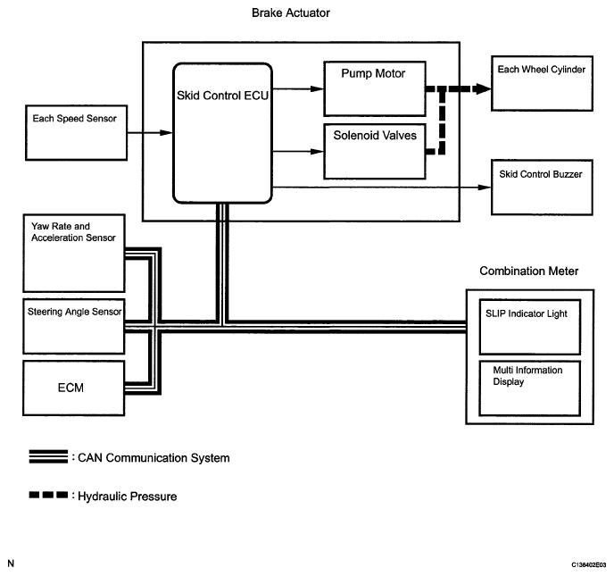
    HINT:

    • The skid control ECU is located within the brake actuator assembly.
    • The yaw rate sensor and acceleration sensor are combined in a single unit. This unit communicates with the skid control ECU through CAN communication.
    1. ABS (Anti-lock Brake System)

      The ABS helps prevent the wheels from locking when the brakes are applied firmly or when braking on a slippery surface.

      Fig 1: ABS (Anti-Lock Brake System) System Diagram
      G05250337Courtesy of © TOYOTA, LICENSE AGREEMENT TMS1002
      1. Operation description

        The skid control ECU detects wheel lock based on speed signals it receives from the wheel speed sensors. Based on this information, the skid control ECU controls the pump motor and solenoid valves. The pump motor and solenoid valves are used to prevent wheel lock by controlling the hydraulic pressure applied to the brakes at each wheel. The ABS warning light will come on when the system is malfunctioning.

    2. EBD (Electronic Brake force Distribution)

      The EBD control utilizes ABS, and performs proper brake force distribution between the front and rear wheels in accordance with driving conditions. When braking while cornering, it also controls the brake forces of the right and left wheels, helping to maintain vehicle behavior.

      Fig 2: EBD (Electronic Brake Force Distribution) System Diagram
      G05250338Courtesy of © TOYOTA, LICENSE AGREEMENT TMS1002
      1. Operation description

        The skid control ECU receives a speed signal from each wheel speed sensor, and uses these signals to detect locking of the wheels. The ECU uses this information in order to determine appropriate control of the solenoid valves. The solenoid valves control the hydraulic pressure applied to the brake cylinder at each wheel. In this way, the solenoid valves are used to control the brake power split between the front and rear, and left and right wheels. The BRAKE warning light will come on if there is a malfunction in the EBD system.

    3. BA (Brake Assist)

      The primary purpose of the brake assist system is to provide auxiliary brake force to assist the driver who cannot generate a large enough brake force during emergency braking, thus helping to maximize the brake performance of the vehicle.

      Fig 3: BA (Brake Assist) System Diagram
      G05250339Courtesy of © TOYOTA, LICENSE AGREEMENT TMS1002
      1. Operation description

        The skid control ECU receives the speed signal from each speed sensor and the fluid pressure signal from the master cylinder pressure sensor to determine whether brake assist is necessary. If brake assist is necessary, the skid control ECU sends control signals to the pump motor and solenoid. The pump and the solenoid valve then control the pressure applied to each wheel cylinder.

        The ABS warning light comes on to indicate a malfunction in the BA system.

    4. TRAC (Traction Control)

      The TRAC system helps prevent the drive wheels from slipping when the driver depresses the accelerator pedal excessively when starting off or accelerating on a slippery surface.

      Fig 4: TRAC (Traction Control) System Diagram
      G05250340Courtesy of © TOYOTA, LICENSE AGREEMENT TMS1002
      1. Operation description

        The skid control ECU detects the wheel spin by receiving signals from each speed sensor and the ECM via CAN communication. The skid control ECU controls engine torque with the ECM via CAN communication and brake hydraulic pressure through the pump and solenoid valve.

        The SLIP indicator light blinks when the system is operating. When there is a malfunction in the TRAC system, SLIP indicator light will come on and the DTC will be displayed on the multi information display.

    5. VSC (Vehicle Stability Control)

      The VSC system helps prevent the vehicle from slipping sideways as a result of strong front or rear wheel skid during cornering.

      Fig 5: VSC (Vehicle Stability Control) System Diagram
      G05250341Courtesy of © TOYOTA, LICENSE AGREEMENT TMS1002
      1. Operation description

        The skid control ECU determines the vehicle operating conditions based on signals received from the wheel speed sensors, yaw rate and acceleration sensor, and steering angle sensor. The skid control ECU sends signals via CAN communication to the ECM in order to control engine torque. The skid control ECU controls brake hydraulic pressure using the pump and solenoid valves.

        The SLIP indicator light will blink, and the skid control buzzer will sound when the system is operating. If a malfunction occurs in the VSC system, the SLIP indicator light will come on. In addition, the DTC will appear on the multi information display.

  2. DYNAMIC RADAR CRUISE CONTROL (with DYNAMIC RADAR CRUISE CONTROL) 
    1. When a greater deceleration than usual is required while driving in vehicle control mode, braking force is generated by the brake hydraulic pressure control in accordance with the signal from the distance control ECU.
  3. PRE-COLLISION CONTROL (with PRE-COLLISION CONTROL) 
    1. The pre-collision system predicts frontal collisions with other vehicles or obstructions. By winding up the seat belts prior to collision, and performing brake control and brake assist control, it lessens the impact during the collision.
    2. The extremely high frequency radar recognizes if there is a vehicle or obstruction on the road ahead, and the distance control ECU makes a judgement on whether a collision is unavoidable from the position of the object, the speed and the road surface.
    3. The distance control ECU sends this information via a CAN communication to the seat belt control ECU, suspension control ECU and skid control ECU, to operate each control element of the pre-collision system.
  4. ABS with EBD, BA, TRAC and VSC OPERATION 
    1. The skid control ECU calculates vehicle stability tendency based on the signals from the speed sensor, yaw rate and acceleration sensor, and steering angle sensor. In addition, it evaluates the results of the calculations to determine whether any control actions (control of the engine output torque by electronic throttle control and of the wheel brake pressure by the brake actuator assembly) should be implemented.
    2. The SLIP indicator blinks and the skid control buzzer sounds to inform the driver that the VSC system is operating. The SLIP indicator also blinks when traction control is operating, and the operation being performed is displayed.
  5. FAIL SAFE 
    1. When a failure occurs in the ABS with BA, TRAC and VSC systems, the ABS warning, and SLIP indicator lights come on and the DTC will be displayed on the multi information display and ABS with BA, TRAC and VSC operations are prohibited. In addition, when there is a failure that disables the EBD operation, the BRAKE warning light also comes on and the EBD operation is prohibited.
    2. If control is prohibited due to a malfunction during operation, control will be disabled gradually. This is to avoid sudden vehicle instability.
  6. INITIAL CHECK 
    1. When the vehicle speed first becomes approximately 6 km/h (4 mph) or more after the engine switch is turned on (IG), each solenoid valve and motor of the brake actuator is sequentially activated to perform an electrical check. During the initial check, the operating sound of solenoid valve and motor can be heard from the engine compartment, but this is not a malfunction.
  7. INSPECTION MODE 
    1. VSC operation can be disabled by operating the intelligent tester (See REPAIR INSTRUCTION ).

      HINT:

      Refer to the intelligent tester operator's manual for further details.

  8. FUNCTION OF COMPONENTS 
    COMPONENTS FUNCTION CHART

    Components Function
    Speed sensor Detects the wheel speed and sends the signal to the skid control ECU.
    Skid control ECU (housed in brake actuator assembly)
    • Processes the signals sent from each sensor to control the ABS, BA, TRAC, and VSC.
    • Sends and receives the control signals to or from the ECM, yaw rate and acceleration sensor, and steering angle sensor, etc. via CAN communication.
    Brake actuator assembly
    • Consists of the master cylinder cut solenoid valve, retention solenoid valve, pressure reduction solenoid valve, pump motor, and reservoir, and adjusts the brake fluid pressure applied to each wheel cylinder.
    • Houses the skid control ECU.
    Solenoid relay
    • Supplies power to each solenoid.
    • Housed in the skid control ECU.
    Motor relay (VSC NO. 2 relay) Supplies power to the pump motor.
    Fail safe relay (VSC NO. 1 relay) Cuts off power to the motor when the pump motor circuit malfunctions.
    Steering angle sensor
    • Installed in the combination switch.
    • Detects the steering amount and direction and sends the signals to the skid control ECU via CAN communication.
    • Has the magnetic resistance element which detects the rotation of the magnet housed in the detection gear in order to detect the changes of magnetic resistance and the steering amount and direction.
    Yaw rate and acceleration sensor
    • Acceleration sensor measures the capacity of the condenser that changes the distance between the electrodes depending on G force, which occurs when the vehicle is accelerated, and converts the measured value into electrical signals.
    • Yaw rate sensor detects the vehicle's angular velocity (yaw rate) in the vertical direction based on the amount and direction of the piezoelectric ceramics deflection.
    • Sends signals to the skid control ECU via CAN communication.
    Master cylinder pressure sensor
    • Detects the fluid pressure in the master cylinder.
    • Housed in the brake actuator assembly.
    Stop light switch Detects the brake operating conditions and inputs the results to the skid control ECU.
    ECM Controls the engine output when TRAC and VSC are operating with the skid control ECU via CAN communication.
    Skid control buzzer Intermittently sounds to inform the driver that the VSC is operating.
    ABS warning light
    • Comes on to inform the driver that a malfunction in the ABS or BA has occurred.
    • Blinks to output DTC.
    BRAKE warning light
    • Comes on to inform the driver that the parking brake is ON when the system is normal, or the brake fluid has decreased.
    • Comes on to inform the driver that a malfunction in the EBD has occurred.
    SLIP indicator light Blinks to inform the driver that TRAC and VSC are operating.
    Master caution indicator light Comes on to inform the driver that a malfunction in the VSC system has occurred.
    Multi information display
    • Displays to inform the driver that a malfunction in the VSC system has occurred.
    • Displays to output DTC.