LEMON Manuals: Even more car manuals for everyone: 1960-2025
Home >> Lexus >> 2007 >> GS 430 >> Repair and Diagnosis >> Brakes >> Traction Control >> Brake Control >> Electronically Controlled Brake System >> Test Mode Procedure
April 5, 2026: LEMON Manuals is launched! Read the announcement.

Test Mode Procedure

  1. WARNING LIGHT AND INDICATOR LIGHT BULB CHECK 
    1. Release the parking brake.
      CAUTION: When releasing the parking brake, set chocks to hold the vehicle for safety.
    2. When the engine switch is on (IG), check that the ABS, BRAKE, brake control warning lights and SLIP and VSC OFF indicator lights illuminate and then turn off after the engine starts.

      HINT:

      If the warning light and indicator light check result is not normal, proceed to troubleshooting for the light circuit below.

      LIGHT REFERENCE CHART

      Trouble Area See procedure
      ABS warning light circuit ABS WARNING LIGHT REMAINS ON  or ABS WARNING LIGHT DOES NOT COME ON 
      BRAKE warning light circuit BRAKE WARNING LIGHT REMAINS ON  or BRAKE WARNING LIGHT DOES NOT COME ON 
      Brake control warning light circuit BRAKE CONTROL WARNING LIGHT REMAINS ON  or BRAKE CONTROL WARNING LIGHT DOES NOT COME ON 
      SLIP indicator light circuit SLIP INDICATOR LIGHT REMAINS ON  or SLIP INDICATOR LIGHT DOES NOT COME ON 
      VSC OFF indicator light circuit SLIP INDICATOR LIGHT REMAINS ON  or SLIP INDICATOR LIGHT DOES NOT COME ON 
    Fig 1: Identifying ABS, BRAKE And VSC Warning Lights And SLIP Indicator Light
    G05297016Courtesy of © TOYOTA, LICENSE AGREEMENT TMS1002
  2. SENSOR SIGNAL CHECK BY TEST MODE (SIGNAL CHECK) (WHEN USING INTELLIGENT TESTER) 
    NOTE: When having replaced the skid control ECU and/or yaw rate and acceleration sensor, perform zero point calibration of the yaw rate and acceleration sensor.

    HINT:

    • If the engine switch is turned from on (IG) to on (ACC) or off during Test Mode (signal check), DTCs of the signal check function will be erased.
    • During Test Mode (signal check), the skid control ECU records all DTCs of the signal check function. By performing the Test Mode (signal check), the codes are erased if normality is confirmed. The remaining codes are the codes where an abnormality was found.
    1. Procedure for Test Mode.
      1. Turn the engine switch off.
      2. Connect the intelligent tester to the DLC3.
      3. Check that the steering wheel is centered and move the shift lever to the P position.
      4. Turn the engine switch on (IG).
      5. Set the intelligent tester to Test Mode (select "SIGNAL CHECK").

        HINT:

        Refer to the intelligent tester operator's manual for further details.

        Fig 2: Connecting Intelligent Tester To DLC3
        G05296872Courtesy of © TOYOTA, LICENSE AGREEMENT TMS1002
      6. Check that the ABS and brake control warning lights blink and "VSC TEST MODE" is indicated on the multi-information display (Test Mode).

        HINT:

        If the ABS and brake control warning lights do not blink, inspect the TS and CG terminal circuit, ABS warning light circuit and/or brake control warning light (multi-information display) circuit.

        Fig 3: Identifying Blinking Pattern And Display In Test Mode
        G05297011Courtesy of © TOYOTA, LICENSE AGREEMENT TMS1002
      7. Check the ABS sensor.

        HINT:

        Make sure that the ABS warning light is blinking in Test Mode before performing the check.

  3. ACCELERATION SENSOR CHECK (WHEN USING INTELLIGENT TESTER) 
    1. Keep the vehicle stationary on a level surface for 1 second or longer.

      HINT:

      The acceleration sensor check can be performed with the following master cylinder pressure sensor check.

    Fig 4: ABS Warning Light Blinking Pattern In Test Mode
    G04977997Courtesy of © TOYOTA, LICENSE AGREEMENT TMS1002
  4. MASTER CYLINDER PRESSURE SENSOR CHECK (WHEN USING INTELLIGENT TESTER) 
    1. Leave the vehicle in a stationary condition and release the brake pedal for 1 second or more, and quickly and continuously depress the brake pedal with a force of 98 N (10 kgf, 22 lbf) or more for 1 second.
    2. Check that the ABS warning light stays on for 3 seconds.

      HINT:

      • Ensure that the ABS warning light comes on.
      • While the ABS warning light stays on, continue to depress the brake pedal with a force of 98 N (10 kgf, 22 lbf) or more.
      • The ABS warning light comes on for 3 seconds every time brake pedal operation above is performed.
  5. SPEED SENSOR CHECK (WHEN USING INTELLIGENT TESTER) 
    1. Check the backward signal.
      1. Drive the vehicle in reverse for more than 1 second at the speed of 3 km/h (2 mph) or higher.

        HINT:

        Drive the vehicle in reverse and check the speed sensor signal. The signal check cannot be completed if the vehicle speed is 45 km/h (28 mph) or higher.

    2. Check the forward signal.
      1. Drive the vehicle straight ahead.

        Drive the vehicle at a speed of 45 km/h (28 mph) or higher for several seconds and check that the ABS warning light goes off.

        HINT:

        The signal check may not be completed if the vehicle has its wheels spun.

    3. Stop the vehicle.
      NOTE:
      • Before performing the speed sensor signal check, complete the acceleration sensor and master cylinder pressure sensor checks.
      • The speed sensor signal check may not be completed if the speed sensor signal check is started while turning the steering wheel or spinning the wheels.
      • After the ABS warning light goes off and if the vehicle speed exceeds 80 km/h (50 mph), a signal check code will be stored again. Accelerate or stop the vehicle before the speed reaches 80 km/h (50 mph).
      • If the signal check has not been completed, the ABS warning light blinks while driving and the ABS system does not operate.

      HINT:

      When the signal check has been completed, the ABS warning light goes off while driving, and blinks in the Test Mode pattern while the vehicle is stationary.

      1. Check the VSC sensor.

        HINT:

        Perform the check after checking that the brake control warning light blinks and that "VSC TEST MODE" is indicated on the multi-information display.

  6. YAW RATE SENSOR CHECK (WHEN USING INTELLIGENT TESTER) 
    1. Check the zero point voltage of the yaw rate sensor.
      1. Keep the vehicle stationary on a level surface for 1 second or longer.
      Fig 5: Identifying Blinking Pattern And Display In Test Mode
      G05297011Courtesy of © TOYOTA, LICENSE AGREEMENT TMS1002
    2. Check the output of the yaw rate sensor and the direction of the steering angle sensor.
      1. Move the shift lever from the P to the D position and drive the vehicle at a speed of approximately 5 km/h (3 mph), and then turn the steering wheel either to the left or right 90° or more until the vehicle makes a 180° turn.
      2. Stop the vehicle and move the shift lever to the P position. Check that the skid control buzzer sounds for 3 seconds.

        HINT:

        • If the skid control buzzer sounds, the signal check is completed normally.
        • If the skid control buzzer does not sound, check the skid control buzzer circuit, then perform the signal check again.
        • If the skid control buzzer still does not sound, there way be a malfunction in the yaw rate sensor, so check the DTC.
        • At the end of the 180° turn, the direction of the vehicle should be within 175° to 185° of its start position.
        • Do not spin the wheels.
        • Do not turn the engine switch off while turning.
        • Do not move the shift lever to the P position while turning, but change in the vehicle speed, stopping, or driving in reverse is possible.
        • Complete the turn within 20 seconds.
    Fig 6: Identifying Vehicle Start And Stop Position
    G05202660Courtesy of © TOYOTA, LICENSE AGREEMENT TMS1002
  7. END OF SENSOR CHECK (WHEN USING INTELLIGENT TESTER) 
    1. If the sensor check is completed, the ABS warning light blinks (Test Mode) when the vehicle stops, and the ABS warning light goes off when the vehicle is driving.
      NOTE:
      • When the yaw rate sensor, acceleration sensor, speed sensor and master cylinder pressure sensor checks are finished, all the sensor checks are completed.
      • If all the sensor checks are not completed, the ABS warning light blinks even while the vehicle is driving and the ABS does not operate.
    Fig 7: ABS Warning Light Blinking Pattern In Test Mode
    G04977997Courtesy of © TOYOTA, LICENSE AGREEMENT TMS1002
  8. READ DTC OF SIGNAL CHECK FUNCTION (WHEN USING INTELLIGENT TESTER) 
    1. Read the DTC(s) by following the tester prompt.
      NOTE:
      • If only the DTCs are displayed, repair the malfunction area and clear the DTCs.
      • If the DTCs or Test Mode codes (DTC of signal check function) are displayed, repair the malfunction area, clear the DTCs and perform the Test Mode inspection.

      HINT:

      See the list of DTCs (see DIAGNOSTIC TROUBLE CODE CHART ).

  9. DTC OF TEST MODE FUNCTION (SIGNAL CHECK) (WHEN USING INTELLIGENT TESTER) 

    ABS sensor: 

    DTC OF TEST MODE FUNCTION - ABS SENSOR

    Code No. Diagnosis Trouble Area
    C1271/71 Low output signal of front speed sensor RH
    • Front speed sensor RH
    • Sensor installation
    • Speed sensor rotor
    C1272/72 Low output signal of front speed sensor LH
    • Front speed sensor LH
    • Sensor installation
    • Speed sensor rotor
    C1273/73 Low output signal of rear speed sensor RH
    • Rear speed sensor RH
    • Sensor installation
    • Speed sensor rotor
    C1274/74 Low output signal of rear speed sensor LH
    • Rear speed sensor LH
    • Sensor installation
    • Speed sensor rotor
    C1275/75 Abnormal change in output signal of front speed sensor RH Front speed sensor rotor RH
    C1276/76 Abnormal change in output signal of front speed sensor LH Front speed sensor rotor LH
    C1277/77 Abnormal change in output signal of rear speed sensor RH Rear speed sensor rotor RH
    C1278/78 Abnormal change in output signal of rear speed sensor LH Rear speed sensor rotor LH
    C1279/79 Deceleration sensor output voltage malfunction
    • Yaw rate and acceleration sensor
    • Sensor installation
    C1281/81 Master cylinder pressure sensor output malfunction
    • Master cylinder pressure sensor
    • Stop light switch circuit

    VSC sensor: 

    DTC OF TEST MODE FUNCTION - VSC SENSOR

    Code No. Diagnosis Trouble Area
    C0371/71 Yaw rate sensor Yaw rate and acceleration sensor

    Electronically Controlled Brake System sensor: 

    DTC OF TEST MODE FUNCTION - ELECTRONICALLY CONTROLLED BRAKE SYSTEM SENSOR

    Code No. Diagnosis Trouble Area
    C1346/71 Stroke sensor zero point learning malfunction Brake pedal stroke sensor

    HINT:

    The codes in this table are output only in Test Mode (signal check).

  10. SENSOR SIGNAL CHECK BY TEST MODE (SIGNAL CHECK) (WHEN USING SST CHECK WIRE) 
    NOTE: When having replaced the skid control ECU and/or yaw rate and acceleration sensor, perform zero point calibration of the yaw rate and acceleration sensor.

    HINT:

    • If the engine switch is turned from on (IG) to on (ACC) or off during Test Mode (signal check), DTCs of the signal check function will be erased.
    • During Test Mode (signal check), the skid control ECU records all DTCs of the signal check function. By performing the Test Mode (signal check), the codes are erased if normality is confirmed. The remaining codes are the codes where an abnormality was found.
    1. Procedure for Test Mode.
      1. Turn the engine switch off.
      2. Check that the steering wheel is in the straight-ahead position and move the shift lever to the P position.
      3. Using SST, connect terminals TS and CG of the DLC3.

        SST 09843-18040 

      4. Turn the engine switch on (IG).
        Fig 8: Identifying Terminals TS And CG Of DLC3
        G05297005Courtesy of © TOYOTA, LICENSE AGREEMENT TMS1002
      5. Check that the ABS and brake control warning lights blink and "VSC TEST MODE" is displayed on the multi-information display (Test Mode).

        HINT:

        If the ABS and brake control warning lights do not blink, inspect the TS and CG terminal circuit, ABS warning light circuit and/or brake control warning light (multi-information display) circuit.

        Fig 9: Identifying Blinking Pattern And Display In Test Mode
        G05297011Courtesy of © TOYOTA, LICENSE AGREEMENT TMS1002
      6. Check the ABS sensor.

        HINT:

        Make sure that the ABS warning light is blinking in Test Mode before performing the check.

  11. ACCELERATION SENSOR CHECK (WHEN USING SST CHECK WIRE) 
    1. Keep the vehicle stationary on a level surface for 1 second or longer.

      HINT:

      The acceleration sensor check can be performed with the following master cylinder pressure sensor check.

  12. MASTER CYLINDER PRESSURE SENSOR CHECK (WHEN USING SST CHECK WIRE) 
    1. Leave the vehicle in a stationary condition and release the brake pedal for 1 second or more, and quickly and continuously depress the brake pedal with a force of 98 N (10 kgf, 22 lbf) or more for 1 second.
    2. Check that the ABS warning light stays on for 3 seconds.

      HINT:

      • Ensure that the ABS warning light comes on.
      • While the ABS warning light stays on, continue to depress the brake pedal with a force of 98 N (10 kgf, 22 lbf) or more.
      • The ABS warning light comes on for 3 seconds every time the brake pedal operation above is performed.
    Fig 10: ABS Warning Light Blinking Pattern In Test Mode
    G04977997Courtesy of © TOYOTA, LICENSE AGREEMENT TMS1002
  13. SPEED SENSOR CHECK (WHEN USING SST CHECK WIRE) 
    1. Check the backward signal.
      1. Drive the vehicle in reverse for more than 1 second at a speed of 3 km/h (2 mph) or higher.

        HINT:

        Drive the vehicle in reverse and check the speed sensor signal. The signal check cannot be completed if the vehicle speed is 45 km/h (28 mph) or higher.

    2. Check the forward signal.
      1. Drive the vehicle straight ahead.

        Drive the vehicle at a speed of 45 km/h (28 mph) or higher for several seconds and check that the ABS warning light goes off.

        HINT:

        The signal check may not be completed if the vehicle has its wheels spun.

    3. Stop the vehicle.
      NOTE:
      • Before performing the speed sensor signal check, complete the acceleration sensor and master cylinder pressure sensor checks.
      • The speed sensor signal check may not be completed if the speed sensor signal check is started while turning the steering wheel or spinning the wheels.
      • After the ABS warning light goes off, if vehicle speed exceeds 80 km/h (50 mph), a signal check code will be stored again. Accelerate or stop the vehicle before the speed reaches 80 km/h (50 mph).
      • If the signal check has not been completed, the ABS warning light blinks while driving and the ABS system does not operate.

      HINT:

      When the signal check has been completed, the ABS warning light goes off while driving, and blinks in the Test Mode pattern while the vehicle is stationary.

      1. Check the VSC sensor.

        HINT:

        Perform the check after checking that the brake control warning light blinks and that "VSC TEST MODE" is indicated on the multi-information display.

  14. YAW RATE SENSOR CHECK (WHEN USING SST CHECK WIRE) 
    1. Check the zero point voltage of the yaw rate sensor.
      1. Keep the vehicle stationary on a level surface for 1 second or longer.
      Fig 11: Identifying Blinking Pattern And Display In Test Mode
      G05297011Courtesy of © TOYOTA, LICENSE AGREEMENT TMS1002
    2. Check the output of the yaw rate sensor and the direction of the steering angle sensor.
      1. Move the shift lever from the P to the D position and drive the vehicle at a speed of approximately 5 km/h (3 mph), and turn the steering wheel either to the left or right 90° or more until the vehicle makes a 180° turn.
        Fig 12: Identifying Vehicle Start And Stop Position
        G05202660Courtesy of © TOYOTA, LICENSE AGREEMENT TMS1002
      2. Stop the vehicle and move the shift lever to the P position. Check that the skid control buzzer sounds for 3 seconds.

        HINT:

        • If the skid control buzzer sounds, the signal check is completed normally.
        • If the skid control buzzer does not sound, check the skid control buzzer circuit, then perform the signal check again.
        • If the skid control buzzer still does not sound, there way be a malfunction in the yaw rate sensor, so check the DTC.
        • At the end of the 180° turn, the direction of the vehicle should be within 175° to 185° of its start position.
        • Do not spin the wheels.
        • Do not turn the engine switch off while turning.
        • Do not move the shift lever to the P position while turning, but change in the vehicle speed, stopping, or driving in reverse is possible.
        • Complete the turn within 20 seconds.
  15. END OF SENSOR CHECK (WHEN USING SST CHECK WIRE) 
    1. If the sensor check is completed, the ABS warning light blinks (Test Mode) when the vehicle stops and the ABS warning light goes off when the vehicle is driving.
      NOTE:
      • When the yaw rate sensor, acceleration sensor, speed sensor and master cylinder pressure sensor checks are completed, the sensor checks are completed.
      • If the sensor checks are not finished, all the ABS warning light blinks even while the vehicle is driving and the ABS does not operate.
    Fig 13: ABS Warning Light Blinking Pattern In Test Mode
    G04977997Courtesy of © TOYOTA, LICENSE AGREEMENT TMS1002
  16. READ DTC OF SIGNAL CHECK FUNCTION (WHEN USING SST CHECK WIRE) 
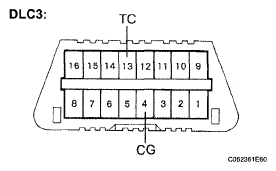
    1. Using SST, connect terminals TC and CG of the DLC3.

      SST 09843-18040 

    2. Count the number of blinks of the ABS warning light, and read the "DIAG VSC" or "DIAG Electronically Controlled Brake System" indication on the multi-information display.
      Fig 14: Identifying Terminals TC And CG Of DLC3
      G05297029Courtesy of © TOYOTA, LICENSE AGREEMENT TMS1002
      Fig 15: Identifying Trouble Code Of VSC And Trouble Code Of ABS Blinking Pattern
      G05297030Courtesy of © TOYOTA, LICENSE AGREEMENT TMS1002
      NOTE:
      • If only DTCs are displayed, repair the malfunction area and clear the DTCs.
      • If the DTCs or Test Mode codes (DTC of signal check function) are displayed, repair the malfunction area, clear the DTCs and perform the Test Mode inspection.

      HINT:

      • If more than 1 malfunction is detected at the same time, the lowest numbered code will be displayed first.
      • See the list of DTCs (see DIAGNOSTIC TROUBLE CODE CHART ).
    3. After performing the check, disconnect SST from terminals and TC and CG of the DLC3. Then turn the engine switch off.
    4. Turn the engine switch on (IG).

      HINT:

      If the engine switch is not turned on (IG) after SST is removed from the DLC3, the previous Test Mode will continue.

  17. DTC OF TEST MODE FUNCTION (SIGNAL CHECK) (WHEN USING SST CHECK WIRE) 

    ABS sensor: 

    DTC OF TEST MODE FUNCTION - ABS SENSOR

    Code No. Diagnosis Trouble Area
    C1271/71 Low output signal of front speed sensor RH
    • Front speed sensor RH
    • Sensor installation
    • Speed sensor rotor
    C1272/72 Low output signal of front speed sensor LH
    • Front speed sensor LH
    • Sensor installation
    • Speed sensor rotor
    C1273/73 Low output signal of rear speed sensor RH
    • Rear speed sensor RH
    • Sensor installation
    • Speed sensor rotor
    C1274/74 Low output signal of rear speed sensor LH
    • Rear speed sensor LH
    • Sensor installation
    • Speed sensor rotor
    C1275/75 Abnormal change in output signal of front speed sensor RH Front speed sensor rotor RH
    C1276/76 Abnormal change in output signal of front speed sensor LH Front speed sensor rotor LH
    C1277/77 Abnormal change in output signal of rear speed sensor RH Rear speed sensor rotor RH
    C1278/78 Abnormal change in output signal of rear speed sensor LH Rear speed sensor rotor LH
    C1279/79 Deceleration sensor output voltage malfunction
    • Yaw rate and acceleration sensor
    • Sensor installation
    C1281/81 Master cylinder pressure sensor output malfunction
    • Master cylinder pressure sensor
    • Stop light switch circuit

    VSC sensor: 

    DTC OF TEST MODE FUNCTION - VSC SENSOR

    Code No. Diagnosis Trouble Area
    C0371/71 Yaw rate sensor Yaw rate and acceleration sensor

    Electronically Controlled Brake System sensor: 

    DTC OF TEST MODE FUNCTION - ELECTRONICALLY CONTROLLED BRAKE SYSTEM SENSOR

    Code No. Diagnosis Trouble Area
    C1346/71 Stroke sensor zero point learning malfunction Brake pedal stroke sensor

    HINT:

    The codes in this table are output only in Test Mode (signal check).