LEMON Manuals: Even more car manuals for everyone: 1960-2025
Home >> Lexus >> 2007 >> GS 430 >> Repair and Diagnosis >> Brakes >> Traction Control >> Brake Control >> Vehicle Stability Control System >> System Diagram
April 5, 2026: LEMON Manuals is launched! Read the announcement.

System Diagram

Fig 1: Vehicle Stability Control System - System Diagram (1 Of 4)
G05296863Courtesy of © TOYOTA, LICENSE AGREEMENT TMS1002
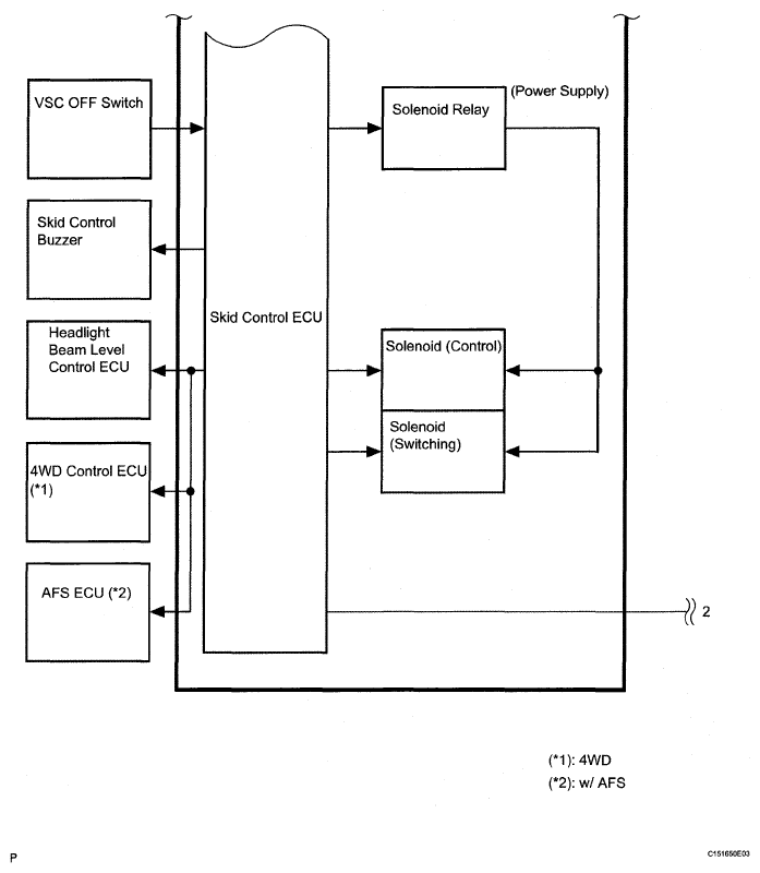
Fig 2: Vehicle Stability Control System - System Diagram (2 Of 4)
G05296864Courtesy of © TOYOTA, LICENSE AGREEMENT TMS1002
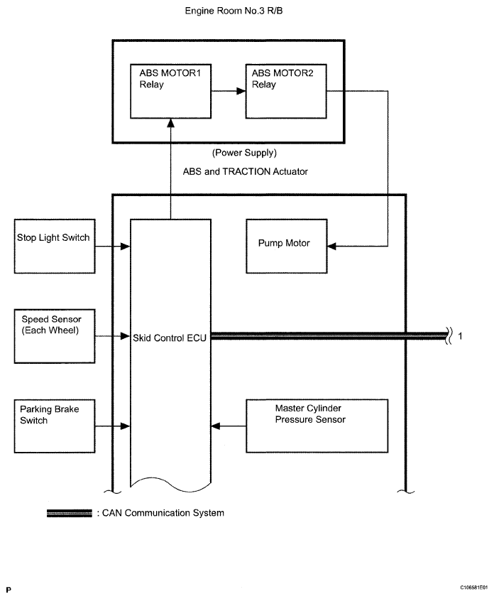
Fig 3: Vehicle Stability Control System - System Diagram (3 Of 4)
G05296865Courtesy of © TOYOTA, LICENSE AGREEMENT TMS1002
Fig 4: Vehicle Stability Control System - System Diagram (4 Of 4)
G05296866Courtesy of © TOYOTA, LICENSE AGREEMENT TMS1002
TRANSMISSION ECU REFERENCE CHART

Transmission ECU (transmitter) Receiving ECU Signals Communication method
ECM Skid control ECU
  • Shift Position Signal
  • Throttle Position Signal
  • Engine Revolution Signal
  • Intake Air Temperature Sensor Signal
CAN Communication System
Skid Control ECU ECM
  • Wheel Speed Signal
  • VSC Data Signal
CAN Communication System
Skid Control ECU Gateway ECU
  • ABS Warning Light ON Signal
  • VSC Warning Light ON Signal
  • BRAKE Warning Light ON Signal
  • SLIP Indicator Light ON Signal
  • VSC OFF Indicator Light ON Signal
CAN Communication System