LEMON Manuals: Even more car manuals for everyone: 1960-2025
Home >> Lexus >> 2007 >> LX 470 >> Repair and Diagnosis >> Body & Frame >> Windows >> Windshield / WINDOWGLASS >> Power Window Regulator Motor >> Inspection
April 5, 2026: LEMON Manuals is launched! Read the announcement.

Power Window Regulator Motor: Inspection

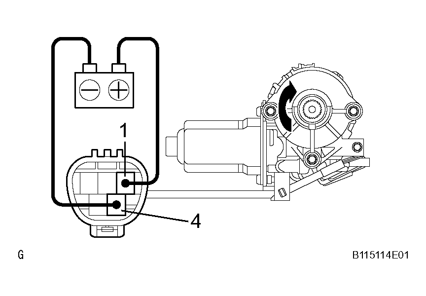
  1. INSPECT FRONT POWER WINDOW REGULATOR MOTOR ASSEMBLY LH AND REAR POWER WINDOW REGULATOR MOTOR ASSEMBLY RH (POWER WINDOW MOTOR) 
    1. Connect the battery positive (+) lead to terminal 1 and the battery negative (-) lead to terminal 4, and check that the motor turns counterclockwise.
      Fig 1: Connecting Battery Positive (+) Lead To Terminal 1 And Battery Negative (-) Lead To Terminal 4
      G04065679Courtesy of © TOYOTA, LICENSE AGREEMENT TMS1002
    2. Reverse the polarity, and check that the motor turns clockwise.

      If the result is not as specified, replace the motor assembly.

    Fig 2: Connecting Battery Positive (+) Lead To Terminal 4 And Battery Negative (-) Lead To Terminal 1
    G04065680Courtesy of © TOYOTA, LICENSE AGREEMENT TMS1002
  2. INSPECT FRONT POWER WINDOW REGULATOR MOTOR ASSEMBLY RH AND REAR POWER WINDOW REGULATOR MOTOR ASSEMBLY LH (POWER WINDOW MOTOR) 
    1. Connect the battery positive (+) lead to terminal 4 and the battery negative (-) lead to terminal 1, and check that the motor turns clockwise.
      Fig 3: Connecting Battery Positive (+) Lead To Terminal 4 And Battery Negative (-) Lead To Terminal 1
      G04065681Courtesy of © TOYOTA, LICENSE AGREEMENT TMS1002
    2. Reverse the polarity, and check that the motor turns counterclockwise.

      If the result is not as specified, replace the motor assembly.

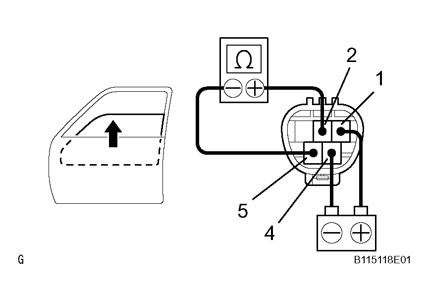
  3. INSPECT POWER WINDOW REGULATOR MOTOR ASSEMBLY (PTC THERMISTOR) 
    1. Disconnect the connector from the power window regulator motor assembly.
      Fig 4: Connecting Battery Positive (+) Lead To Terminal 1 And Battery Negative (-) Lead To Terminal 4
      G04065682Courtesy of © TOYOTA, LICENSE AGREEMENT TMS1002
    2. Connect the positive (+) lead from the ammeter to terminal 1 on the wire harness side connector and the negative (-) lead to the negative terminal of the battery.
    3. Connect the positive (+) lead from the battery to terminal 4 on the wire harness side connector, and raise the window to the fully closed position.
    4. Continue to apply voltage and check that the current changes within 4 to 90 seconds.
    5. Disconnect the leads from the terminals.
      Fig 5: Inspecting Power Window Regulator Motor Assembly (PTC Thermistor) (1 Of 2)
      G04065683Courtesy of © TOYOTA, LICENSE AGREEMENT TMS1002
    6. Approximately 60 seconds later, connect the positive (+) lead from the battery to terminal 1 and the negative (-) lead to terminal 4, and check that the window begins to descend.

      If the result is not as specified, replace the motor assembly.

      Fig 6: Inspecting Power Window Regulator Motor Assembly (PTC Thermistor) (2 Of 2)
      G04065684Courtesy of © TOYOTA, LICENSE AGREEMENT TMS1002
  4. INSPECT POWER WINDOW REGULATOR MOTOR ASSEMBLY (JAM PROTECTION LIMIT SWITCH) 
    1. Connect the positive (+) lead from the ohmmeter to terminal 2 and the negative (-) lead to terminal 5.
    2. Connect the positive (+) lead from the battery to terminal 1 and the negative (-) lead to terminal 4.
    3. Check that continuity exists when the window goes up.
      Fig 7: Inspecting Power Window Regulator Motor Assembly (Jam Protection Limit Switch) (1 Of 2)
      G04065685Courtesy of © TOYOTA, LICENSE AGREEMENT TMS1002
    4. Check that the no continuity exists when the window is in the fully closed position.

      If the result is not as specified, replace the motor assembly.

      Fig 8: Inspecting Power Window Regulator Motor Assembly (Jam Protection Limit Switch) (2 Of 2)
      G04065686Courtesy of © TOYOTA, LICENSE AGREEMENT TMS1002
      NOTE: If the wire harness is connected wrongly, the sensor might be damaged so caution is necessary.
  5. INSPECT POWER WINDOW REGULATOR MOTOR ASSEMBLY FRONT LH (JAM PROTECTION PULSE SWITCH) 
    1. Connect the positive (+) lead from the TOYOTA electrical tester to terminal 3 and the negative (-) lead to terminal 5.
    2. Connect the positive (+) lead from the battery to terminal 1 and the negative (-) lead to terminal 4.
    3. Check that a pulse is generated while the motor is running.
      Fig 9: Inspecting Power Window Regulator Motor Assembly Front LH (Jam Protection Pulse Switch) (1 Of 2)
      G04065687Courtesy of © TOYOTA, LICENSE AGREEMENT TMS1002
    4. Reverse the polarity and check that a pulse is generated.

      If the result is not as specified, replace the motor assembly.

      Fig 10: Inspecting Power Window Regulator Motor Assembly Front LH (Jam Protection Pulse Switch) (2 Of 2)
      G04065688Courtesy of © TOYOTA, LICENSE AGREEMENT TMS1002
      NOTE: If the wire harness is connected wrongly, the sensor might be damaged so caution is necessary.