LEMON Manuals: Even more car manuals for everyone: 1960-2025
Home >> Lexus >> 2007 >> RX 350 AWD >> Repair and Diagnosis >> Electrical >> Charging Systems >> Charging >> Generator >> Disassembly
April 5, 2026: LEMON Manuals is launched! Read the announcement.

Charging Systems: Charging: Generator: Disassembly

  1. REMOVE GENERATOR CLUTCH PULLEY 
    1. Using a screwdriver, remove the generator pulley cap.
      Fig 1: Identifying Generator Pulley Cap
      G05268552Courtesy of © TOYOTA, LICENSE AGREEMENT TMS1002
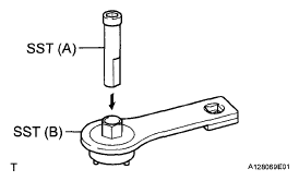
    2. Set SST (A) and (B).

      SST 09820-63020 

    3. Clamp SST (A) in a vise.
      Fig 2: Setting Rotor Shaft To SST
      G05268553Courtesy of © TOYOTA, LICENSE AGREEMENT TMS1002
    4. Place the rotor shaft end into SST (A).
      Fig 3: Placing Rotor Shaft End Into SST
      G05268554Courtesy of © TOYOTA, LICENSE AGREEMENT TMS1002
    5. Fit SST (B) to the clutch pulley.
      Fig 4: Fitting SST To Clutch Pulley
      G05268555Courtesy of © TOYOTA, LICENSE AGREEMENT TMS1002
    6. Loosen the pulley by turning SST (B) in the direction shown below.
      Fig 5: Identifying SST Turning Direction
      G05268556Courtesy of © TOYOTA, LICENSE AGREEMENT TMS1002
    7. Remove the generator assembly from the SST.
    8. Remove the clutch pulley from the rotor shaft.
  2. REMOVE GENERATOR REAR END COVER 
    1. Place the generator assembly on the clutch pulley.
      Fig 6: Identifying Generator Assembly
      G05268557Courtesy of © TOYOTA, LICENSE AGREEMENT TMS1002
    2. Remove the 3 nuts and generator rear end cover.
      Fig 7: Identifying Generator Rear End Cover Nuts
      G05268558Courtesy of © TOYOTA, LICENSE AGREEMENT TMS1002
  3. REMOVE GENERATOR TERMINAL INSULATOR 
    1. Remove the terminal insulator from the generator coil.
      Fig 8: Identifying Terminal Insulator
      G05268559Courtesy of © TOYOTA, LICENSE AGREEMENT TMS1002
  4. REMOVE GENERATOR BRUSH HOLDER ASSEMBLY 
    1. Remove the 2 screws and brush holder from the generator coil.
      Fig 9: Identifying Generator Brush Holder Assembly Screws
      G05268560Courtesy of © TOYOTA, LICENSE AGREEMENT TMS1002
  5. REMOVE GENERATOR COIL ASSEMBLY 
    1. Remove the 4 bolts.
      Fig 10: Identifying Generator Coil Assembly Bolts
      G05268561Courtesy of © TOYOTA, LICENSE AGREEMENT TMS1002
    2. Using SST, remove the generator coil assembly.
      Fig 11: Using SST To Remove Generator Coil Assembly
      G05268562Courtesy of © TOYOTA, LICENSE AGREEMENT TMS1002

      SST 09950-40011 (09951-04020, 09952-04010, 09953-04020, 09954-04010, 09955-04071, 09957-04010, 09958-04011) 

  6. REMOVE GENERATOR ROTOR ASSEMBLY 
    1. Remove the generator washer.
      Fig 12: Identifying Generator Washer
      G05268563Courtesy of © TOYOTA, LICENSE AGREEMENT TMS1002
    2. Remove the generator rotor assembly.
      Fig 13: Identifying Generator Rotor Assembly
      G05268564Courtesy of © TOYOTA, LICENSE AGREEMENT TMS1002
  7. REMOVE GENERATOR DRIVE END FRAME BEARING 
    1. Remove the 4 screws and retainer plate from the drive end frame.
      Fig 14: Identifying Bearing Retainer Screws
      G05268565Courtesy of © TOYOTA, LICENSE AGREEMENT TMS1002
    2. Using SST and a hammer, tap out the drive end frame bearing from the drive end frame.

      SST 09950-60010 (09951-00250), 09950-70010 (09951-07100) 

      Fig 15: Using SST & Hammer To Remove Generator Drive End Frame Bearing From Drive End Frame
      G05268566Courtesy of © TOYOTA, LICENSE AGREEMENT TMS1002